Honda 2001 Driveline/Axle16-1
Intermediate Shaft Reassembly16-21
Previous Page Next Page



Intermediate Shaft Reassembly16-21

Exploded View


Intermediate Shaft Reassembly (cont'd)16-22

Special Tools Required
  • Driver 07749-0010000
  • Attachment, 52 x 55 mm 07746-0010400
  • Attachment, 35 mm I.D. 07746-0030400
  • Oil seal driver 07GAD-PH70201
  • NOTE: Refer to the Exploded View as needed during this procedure.

    1. Clean the disassembled parts with solvent, and dry them with compressed air. Do not wash the rubber parts with solvent.
    2. Press the intermediate shaft bearing (A) into the bearing support (B) using the special tools and a press.


    3. Seat the internal snap ring into the groove of the bearing support.


    4. Press the intermediate shaft (A) into the shaft bearing (B) using the special tool and a press.


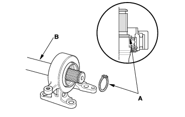
    5. Seat the external snap ring (A) into the groove of the intermediate shaft (B).


    16-23

    1. Install the outer seal (A) into the bearing support (B) using the special tool and a press.


    2. Install the set ring.




    Honda 2001 Driveline/Axle16-1
    Intermediate Shaft Reassembly16-21
    Previous Page Next Page