Previous Next

REMOVAL & INSTALLATION

2.2L Engines

Fig. 1: Exploded view of the camshaft assembly-2.2L engine

  1. Before servicing the vehicle, refer to the precautions in the beginning of this section.
  2. Remove or disconnect the following:
  3. Negative battery cable
  4. Timing belt covers, timing belt and camshaft sprockets
  5. Valve rocker covers
  6. Rocker arm assemblies. Refer to the rocker arms/shafts procedure in this section.
  7. Camshaft cap bolts in the proper sequence
  8. Camshaft cap

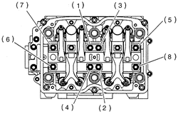
    Fig. 2: Camshaft cap bolt loosening sequence-1999-01 2.2L and 2.5L engines

  9. To remove the left camshaft, remove or disconnect the following:
  10. To remove the right camshaft, remove the camshaft support on the right side.
  11. Remove or disconnect the following:

    To install:

    NOTE: Lubricate the camshaft journals with clean engine oil prior to installation.

  12. Install or connect the following:
  13. Apply a bead of sealant in the camshaft cap. Position the camshaft cap, then tighten the bolts 7-10, in sequence, temporarily
  14. Install the rocker arm assemblies. Refer to the rocker arms/shafts procedure in this section.
  15. Tighten the remaining camshaft cap bolts, in sequence, as follows:
    1. Step 1: bolts 1-8: 17-20 ft. lbs. (23-27 Nm).
    2. Step 2: bolts 9-14: 12-15 ft. lbs. (16-20 Nm).
    3. Step 3: bolts 15-22: 6-9 ft. lbs. (8-12 Nm), using SST 499497000.
    4. Step 4: bolts 23-24: 6-9 ft. lbs. (8-12 Nm).

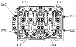
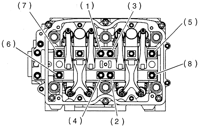
      Fig. 3: Camshaft cap bolt locations 1-8-1999-01 2.2L and 2.5L engines

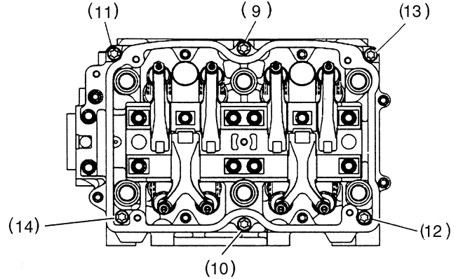
      Fig. 4: Camshaft cap bolt locations 9-14-1999-01 2.2L and 2.5L engines

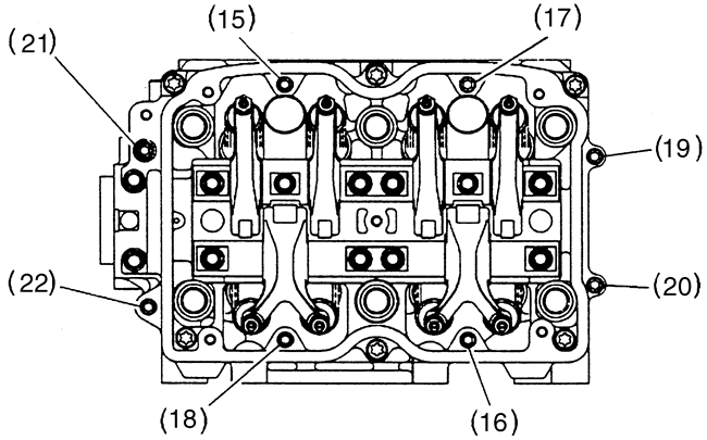
      Fig. 5: Camshaft cap bolt locations 15-22-1999-01 2.2L and 2.5L engines

      Fig. 6: Camshaft cap bolt locations 23-24-1999-01 2.2L and 2.5L engines

  16. To install the left camshaft, install or connect the following:
  17. To install the right camshaft, install or connect the following:
  18. Install or connect the following:
  19. Check the fluid levels and start the engine.
  20. Allow the engine to reach normal operating temperature and check for leaks.
2.5L Engine
1998 VEHICLES

Fig. 7: Exploded view of the camshaft and cylinder head assembly-2.5L engine

  1. Before servicing the vehicle, refer to the precautions in the beginning of this section.
  2. Remove or disconnect the following:

    NOTE: Be sure to keep the intake and exhaust bearing caps and camshafts in proper order for reassembly.

  3. Intake camshaft bearing caps and the camshaft
  4. Loosen the exhaust camshaft cap bolts in sequence, in small increments
  5. Exhaust camshaft bearing caps and the camshaft

    To install:

    NOTE: Lubricate the camshaft bearings prior to camshaft installation.

  6. Position the camshafts so the base circle (non-lobe portion) of the camshafts are in contact with the lash adjusters. This will position the lobes of the camshafts away from the valves.

    NOTE: The left camshaft will need to be rotated for timing belt alignment.

  7. Apply liquid sealant to the front bearing cap mating surfaces, then install the bearing caps. Tighten the caps in sequence in 2 progressive steps to 14 ft. lbs. (20 Nm).
  8. Install or connect the following:

    WARNING
    Only rotate camshafts the specified amount. If the camshafts are rotated beyond the specified amount, the valves will contact each other and cause severe internal damage.

  9. For correct timing belt alignment, rotate the intake camshaft 80 degrees clockwise and the exhaust camshaft 45 degrees counterclockwise.
  10. Check the timing sprockets for proper alignment and install the timing belt.
  11. Connect the negative battery cable.
  12. Check the fluid levels and start the engine.
  13. Allow the engine to reach operating temperature and check for leaks.
1999-03 VEHICLES
  1. Before servicing the vehicle, refer to the precautions in the beginning of this section.
  2. Remove or disconnect the following:
  3. Negative battery cable
  4. Timing belt covers, timing belt and camshaft sprockets
  5. Valve rocker covers
  6. Rocker arm assemblies. Refer to the rocker arms/shafts procedure in this section.
  7. Camshaft cap bolts in the proper sequence
  8. Camshaft cap
  9. Camshaft and rear seal
  10. Oil seal from the rear side of the camshaft

    To install:

    NOTE: Lubricate the camshaft journals with clean engine oil prior to installation.

  11. Install the camshaft into the cylinder head
  12. Apply a bead of sealant in the camshaft cap. Position the camshaft cap, then tighten the bolts 7-10, in sequence, temporarily
  13. Install the rocker arm assemblies. Refer to the rocker arms/shafts procedure in this section.
  14. Tighten the remaining camshaft cap bolts, in sequence, as follows:
    1. Step 1: bolts 1-8: 17-20 ft. lbs. (23-27 Nm).
    2. Step 2: bolts 9-14: 12-15 ft. lbs. (16-20 Nm).
    3. Step 3: bolts 15-22: 6-9 ft. lbs. (8-12 Nm), using SST 499497000.
    4. Step 4: bolts 23-24: 6-9 ft. lbs. (8-12 Nm).
  15. Install or connect the following:

    NOTE: Lubricate the seals lips with clean engine oil prior to installation

  16. Oil seal and plug with suitable tools
  17. Camshaft sprockets, timing belt, timing belt covers, and related components
  18. Negative battery cable
  19. Check the fluid levels and start the engine.
  20. Allow the engine to reach normal operating temperature and check for leaks.

Previous Next