Honda 2001 Driveline/Axle16-1
Driveshaft Inspection16-3
Previous Page Next Page



Driveshaft Inspection16-3

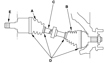
  1. Check the inboard boot (A) and the outboard boot (B) on the driveshaft (C) for cracks, damage, leaking grease, and loose boot bands (D). If any damage is found, replace the boot and boot bands.


  2. Turn the driveshaft by hand, and make sure the splines (E) and joint are not excessively loose.
  3. Make sure the driveshaft is not twisted or cracked; if it is, replace it.



Honda 2001 Driveline/Axle16-1
Driveshaft Inspection16-3
Previous Page Next Page