Honda 2001 M/T - M/T Differential13-1
M/T Differential13-56
Previous Page Next Page



M/T Differential13-56

Component Location Index

4WD model


1

BALL BEARING

Replacement, page 13-59

2

DIFFERENTIAL CARRIER

Backlash Inspection, page 13-58 ; Replacement, page 13-58

3

FINAL DRIVEN GEAR

Replacement, page 13-58

4

TRANSFER DRIVEN GEAR

Replacement, page 13-58

5

BALL BEARING

Replacement, page 13-59




2WD model


1

BALL BEARING

Replacement, page 13-59

2

DIFFERENTIAL CARRIER

Backlash Inspection, page 13-58 ; Replacement, page 13-58

3

FINAL DRIVEN GEAR

Replacement, page 13-58

4

BALL BEARING

Replacement, page 13-59




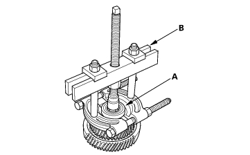
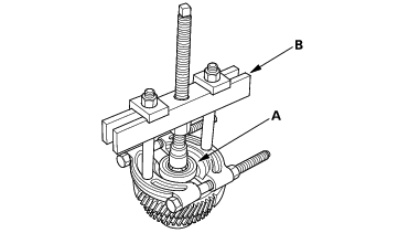
Backlash Inspection13-58

NOTE: 4WD model is shown, 2WD model is similar.

  1. Place the differential assembly on V-blocks (A), and install both axles.


  2. Measure the backlash of both pinion gears (B) with a dial indicator (C). If the backlash is not within the standard, replace the differential carrier.

Standard (New): 0.05 - 0.15 mm (0.002 - 0.006 in.)

Driven Gear/Carrier Replacement13-58

  1. Remove the bolts (left-hand threads) in a crisscross pattern in several steps, then remove the transfer driven gear (A), final driven gear (B) from the differential carrier(C).
  2. NOTE: Align the mark of driven gear and the carrier.

4WD model:


2WD model:


  1. Install the final driven gear with the chamfer on the inside diameter facing the carrier. Tighten the bolts in a crisscross pattern in several steps.

Carrier Bearings Replacement13-59

Special Tool Required

Driver, 40 mm I.D. 07746-0030100

NOTE: 4WD model is shown, 2WD model is similar.

  1. Check the carrier bearings for wear and rough rotation. If they rotate smoothly and their rollers show no signs of wear, the beaings are OK.
  2. Remove the carrier bearing (A) with a commercially-available bearing puller (B).



  3. Install the new bearings (A) with the special tool and a press. Press each bearing on until it bottoms. There should be no clearance between the bearings and the carrier.
  4. NOTE: Turn the seal (B) part of the bearing to the outside of differential, and install it.



Oil Seal Replacement13-60

Special Tools Required
  • Driver 07749-0010000
  • Oil seal driver attachment 07NAD-P200100
    1. Remove the differential assembly.
    2. Remove the oil seal (A) from the transmission housing (B).


    3. Remove the oil seal (A) from the clutch housing (B).


    4. Install the new oil seal in the transmission housing with the special tools.


    5. Install the new oil seal in the clutch housing with the special tools.


    Differential Thrust Clearance Adjustment13-61

    Special Tool Required

    Driver, 40 mm I.D. 07746-0030100

    1. Install the 80 mm shim that's the same size as the one you removed.


    2. Install the differential assembly into the clutch housing.


    3. Install the transmission housing onto the clutch housing, then tighten the 8 mm flange bolts in a crisscross pattern in several steps.

    8 x 1.25 mm

    27 N·m (2.8 kgf·m, 20 Ibf·ft)

    1. Use the special tool to bottom the differential assembly in the clutch housing.


    2. Measure clearance between 80 mm shim and bearing outer race in transmission housing.

    Standard: 0 - 0.10 mm (0 - 0.004 in.)


    1. If the clearance is more than the standard, select a new shim from the following table. If the clearance measured in step 5 is within the standard, go to step 9.

      80 mm Shim

       

      Part Number

      Thickness

      A
      41441-PL3-B00
      1.0 mm (0.0394 in.)
      B
      41442-PL3-B00
      1.1 mm (0.0433 in.)
      C
      41443-PL3-B00
      1.2 mm (0.0472 in.)
      D
      41444-PL3-B00
      1.3 mm (0.0512 in.)
      E
      41445-PL3-B00
      1.4 mm (0.0551 in.)
      F
      41446-PL3-B00
      1.5 mm (0.0591 in.)
      G
      41447-PL3-B00
      1.6 mm (0.0630 in.)
      H
      41448-PL3-B00
      1.7 mm (0.0669 in.)
      J
      41449-PL3-B00
      1.8 mm (0.0709 in.)
      K
      41450-PL3-B00
      1.05 mm (0.0413 in.)
      L
      41451-PL3-B00
      1.15 mm (0.0453 in.)
      M
      41452-PL3-B00
      1.25 mm (0.0492 in.)
      N
      41453-PL3-B00
      1.35 mm (0.0531 in.)
      P
      41454-PL3-B00
      1.45 mm (0.0571 in.)
      Q
      41455-PL3-B00
      1.55 mm (0.0610 in.)
      R
      41456-PL3-B00
      1.65 mm (0.0650 in.)
      S
      41457-PL3-B00
      1.75 mm (0.0689 in.)




    2. Remove the bolts and transmission housing.
    3. Replace the thrust shim selected in step 7, then recheck the clearance.
    4. Reinstall the transmission.


    Honda 2001 M/T - M/T Differential13-1
    M/T Differential13-56
    Previous Page Next Page