Honda 2001 Steering17-1
Power Steering17-2
Previous Page Next Page



Power Steering17-2

Special Tools

Ref. No.

Tool Number

Description

Qty

1

07MAA-SL00100 Locknut Wrench, 40 mm 1

2

07MAC-SL00200 Ball Joint Remover, 28 mm 1

3

07NAD-SR30101 Driver Handle 1

4

07NAD-SR30200 Cylinder End Seal Remover Attachment 1

5

07NAG-SR30900 Valve Seal Ring Sizing Tool 1

6

07QAD-P0A0100 Attachment, 42 mm 1

7

07YAG-S2X0100 Sleeve Seal Ring Guide 1

8

07ZAA-S5A0100 Locknut Wrench 1

9

07ZAB-S5A0100 Pulley Holder 1

10

07ZAF-S5A0100 Driver, 27 mm 1

11

07ZAG-SA50100 Sleeve Seal Ring Sizing Tool, 36 mm 1

12

07ZAG-S5A0200 Valve Seal Ring Guide 1

13

07ZAG-S7A0100 Piston Seal Ring Guide, 42 mm 1

14

07ZAG-S7A0200 Piston Seal Ring Sizing Tool, 42 mm 1

15

07ZAK-S7C0101 P/S Joint Adapter (Pump) 1

16

07ZAK-S7C0200 P/S Joint Adapter (Hose) 1

17

07406-0010001 P/S Pressure Gauge 1

18

07446-0010100 Attachment, 32 x 35 mm 1

19

07749-0010000 Driver 1

20

07974-6890801 Cylinder End Seal Slider, 23 mm 1










1

2

3

4

5

6







7

8

9

10

11

12







13

14

15

16

17

18




19

20




Component Location Index17-3


1

DRIVER'S AIRBAG

Removal / Installation, page 23-135

2

STEERING WHEEL

Steering Wheel Removal, page 17-21 ; Steering Wheel Disassembly / Reassembly, page 17-22 ; Steering Wheel Installation, page 17-23

3

STEERING COLUMN

Steering Column Tilt Operation Check, page 17-25 ; Steering Column Removal and Installation, page 17-24 ; Steering Column / Tilt Lever Inspection / Adjustment, page 17-26 ; Steering Lock Replacement, page 17-27

4

POWER STEERING GEARBOX

Rack Guide Adjustment, page 17-28 ; Steering Gearbox Removal, page 17-29 ; Steering Gearbox Overhaul, page 17-33 ; Steering Gearbox Installation, page 17-51 ; Tie Rod Ball Joint Boot Replacement, page 17-55

5

POWER STEERING PUMP

Pump Pressure Test, page 17-9 ; Drive Belt Inspection and Replacement, page 04-29 ; Pump Replacement, page 17-13 ; Pump Overhaul, page 17-14

6

POWER STEERING FLUID RESERVOIR

Fluid Replacement, page 17-11 ; Hoses and Lines Replacement, page 17-12 ; Fluid Leakage Inspection, page 17-10




Symptom Troubleshooting Index17-4

Find the symptom in the chart below, and do the related procedures in the order listed until you find the cause.

Symptom

Procedure(s)

Also check for:

Hard steering Troubleshoot the system (see page 17-6) .
  • Modified suspension
  • Damaged suspension
  • Tire sizes, tire varieties, and air pressure
  • Assist (excessively light steering at high speed) Check the rack guide adjustment (see page 17-28) . Front wheel alignment
    (see page 18-4) .
    Shock or vibration when the wheel is turned to full lock
    1. Check the rack guide adjustment (see page 17-28) .
    2. Check the drive belt for slippage (see page 04-29) .
    3. Overhaul the steering gearbox (see page 17-33) .
     
    Steering wheel will not return smoothly
    1. Check cylinder lines for deformation.
    2. Check wheel alignment (see page 18-4) .
    3. Overhaul the steering gearbox (see page 17-33) .
     
    Uneven or rough steering
    1. Check the rack guide adjustment (see page 17-28) .
    2. Check the drive belt (see page 04-29) .
    3. Check low or erratic engine idle speed (see page 11-148) .
    4. Check for air in the power steering system due to low fluid level.
    5. Check for low fluid level in the power steering reservoir due to possible leaks in system.
    6. Overhaul the steering gearbox (see page 17-33) .
     
    Steering wheel kicks back during wide turns
    1. Check the drive belt (see page 04-29) .
    2. Check the power steering pump fluid pressure (see page 17-9) .
     
    Humming
    1. Check when the noise occurs
  • If the noise is heard 2 - 3 minutes after starting the engine in cold weather, this is normal.
  • If the noise is heard when the wheel is turned with the vehicle stopped, this is normal due to the fluid pulsation.
    1. Check for the high-pressure hose touching the subframe or body.
    2. Check for automatic transmission converter noise.
    3. Check for air bubble in the power steering fluid.
  • Pump pressure.




    17-5

    Rattle or chattering (Rack rattle)
    1. Check for loose steering components (tie-rod and ball joints). Tighten or replace as necessary.
    2. Check the steering column shaft for wobbling. If the steering column wobbles, replace the steering column assembly (see page 17-24) .
    3. Check the rack guide adjustment (see page 17-28) .
    4. Check the power steering pump pulley.
  • If the pulley is loose, tighten it (see step 47 on page 17-20 ).
  • If the pump shaft is loose, replace the pump page 17-13 .
  •  
    Hissing
  • Check the fluid level. If low, fill the reservoir to the proper level and check for leaks.
  • Check the reservoir for leaks.
  • Check for crushed inlet hose or loose hose clamp allowing air into the suction side of the system.
  • Check the power steering pump shaft oil seal for leaks.
  • Air in the P/S fluid
    Pump noise
  • Compare the pump noise at normal operating temperature to another like vehicle (pump noise up to 2 - 3 minutes after starting the engine in cold weather is normal).
  • Remove and inspect the pump for wear and damage (see page 17-14) .
  • P/S pump pressure
  • Air in the P/S fluid
  • Squeaking Check the drive belt (see page 04-29) .  
    Fluid leaks from the steering gearbox
  • Fluid leaks from the top of the valve body unit:
    Overhaul the valve body unit (see step 24 on page 17-38 ).
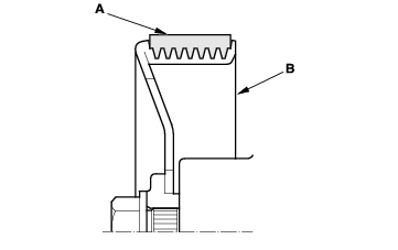
  • Fluid leaks from the boot A:
    Replace the valve oil seal on the pinion shaft.
  • Replace the cylinder end seal on the gearbox side.
  • Fluid leaks from the boot B: Replace the right (RHD: left) cylinder end seal.
  • Fluid leaks from pinion shaft near the lower steering joint bolt: Overhaul the valve body unit.
  •  
    Fluid leaks from line
  • Fluid leaks from the cylinder line connections (flare nuts):
    Tighten the connection and retest.
  • Fluid leaks from a damaged cylinder lines:
    Replace the cylinder line.
  • Fluid leaks from the pump outlet hose or return line fitting on the valve body unit (flair nuts):
    Tighten the fitting and retest. If it still leaks, replace the hose, the line, or valve body unit as necessary.
  •  
    Fluid leaks from pump
  • Fluid leaks from the front oil seal: Replace the front oil seal.
  • Fluid leaks from the power steering pump housing:
    Replace the leaking O-rings or seals (see page 17-14) , and if necessary replace the power steering pump (see page 17-13) .
  •  
    Fluid leaks from reservoir
  • Fluid leaks from around the reservoir cap: Fluid level is too high: drain the reservoir to the proper level. Aerated fluid: check for an air leak on the inlet side of pump.
  • Fluid leaks from reservoir: Check for the reservoir for cracks and replace as necessary.
  •  
    Fluid leaks from pump outlet hose (high-pressure)
  • Check the fitting for loose bolts. If the bolts are tight, replace the fitting O-ring.
  • Fluid leaks at the swagged joint: Replace the outlet hose.
  •  
    Fluid leaks from pump inlet hose (low-pressure) Check the hose for damage, deterioration, or improper assembly. Replace or repair as necessary.  




    Hard Steering Troubleshooting17-6

    Hard Steering

    1. Check the power assist (see page 17-7) .

    Is the starting load more than 29 N (3.0 kgf, 6.6 lbf)?


    Yes : Go to step 2.


    No : Power assist is OK.


    1. Measure steady-state fluid pressure from the pump at idle (see page 17-9) .

    Is the pressure 1,500 kPa (15 kgf/cm2, 213 psi) or less?


    Yes : Go to step 3.


    No : Go to step 7.


    1. Measure the pump relief pressure at idle (see page 17-9) .


    K20A4 and K20A5 Engine models:

    Is the pressure 6,900 - 7,500 kPa (70 - 77 kgf/cm2, 1,000 - 1,100 psi) or less?

    K24A1 Engine models:

    Is the pressure 7,500 - 8,100 kPa (76 - 83 kgf/cm2, 1,080 - 1,180 psi) or less?


    Yes : Go to step 4.


    No : Faulty pump assembly.


    1. With a spring scale, measure the power assist in both directions, to the left and to the right.

    Are the two measurements within 2.9 N (0.3 kgf, 0.66 lbf) of each other?


    Yes : Go to step 5.


    No : Go to step 8.


    1. Measure the fluid pressure with shut-off valve and pressure gauge valve open, while turning the steering wheel fully to the left and fully to the right.


    K20A4 and K20A5 Engine models:

    Is the pressure 6,900 - 7,500 kPa (70 - 77 kgf/cm2, 1,000 - 1,100 psi) or less?

    K24A1 Engine models:

    Is the pressure 7,500 - 8,100 kPa (76 - 83 kgf/cm2, 1,080 - 1,180 psi) or less?


    Yes : Go to step 6.


    No : Faulty gearbox.


    1. Adjust the rack guide (see page 17-28) , and retest.

    Is the steering OK?


    Yes : Repair is completed.


    No : Faulty gearbox.


    1. Check the feed and return lines between the pump and the gearbox for clogging and deformation.

    Are the lines clogged or deformed?


    Yes : Repair or replace the lines.


    No : Faulty valve body unit or pump.


    1. Check the cylinder lines for deformation (see page 17-10) .

    Are the lines deformed?


    Yes : Replace the lines.


    No : Go to step 9.


    1. Check for a bent rack shaft or misadjusted rack guide (too tight).

    Is the rack shaft bent or the rack guide adjusted too tight?


    Yes : Replace the rack shaft or readjust the rack guide.


    No : Faulty valve body unit.


    Steering Wheel Rotational Play Check17-7

    1. Turn the front wheels to the straight ahead position.
    2. Measure how far you can turn the steering wheel left and light without moving the front wheels.
    3. If the play is within the limit, the gearbox and linkages are OK.
    4. If the play exceeds the limit, adjust the rack guide (see page 17-28) . If the play is still excessive after rack guide adjustment, inspect the steering linkage and gearbox (see page 17-8) .


    Power Assist Check17-7

    1. Check the power steering fluid level
      (see page 17-11) .

    2. Start the engine, let it idle, and turn the steering wheel from lock-to-lock several times to warm up the fluid.
    3. Attach a commercially available spring scale to the steering wheel. With the engine idling and the vehicle on a clean, dry floor, pull the scale as shown and read it as soon as the tires begin to turn.

  • If the scale reads no more than specifications, the gearbox and pump are OK.
  • If the scale reads more than specifications, troubleshoot the steering system (see page 17-6) .
  • INITIAL TURNING
    LOAD: 29 N (3.0 kgf, 6.6 lbf)


    Steering Linkage and Gearbox Inspection17-8


    Pump Pressure Test17-9

    Special Tools Required
  • P/S joint adapter (pump) 07ZAK-S7C0101
  • P/S joint adapter (hose) 07ZAK-S7C0200
  • P/S pressure gauge 07406-0010001
  • Check the fluid pressure as follows to determine whether the trouble is in the pump or gearbox.

    1. Check the power steering fluid level
      (see page 17-11) .

    2. Disconnect the pump outlet hose (A) from the pump outlet with care so as not to spill the power steering fluid on the frame and other parts. Install the P/S joint adapter (pump) on the pump outlet (B).


    3. Connect the P/S joint adapter (hose) to the P/S pressure gauge, then connect the pump outlet hose (A) to the P/S joint adapter (hose).
    4. Install the P/S pressure gauge to the P/S joint adapter (pump).
    5. Fully open the shut-off valve (A).


    6. Fully open the pressure control valve (B).
    7. Start the engine and let it idle.
    8. Turn the steering wheel from lock-to-lock several times to warm the fluid to operating temperature at 158°F (70°).
    9. Measure steady-state fluid pressure while the engine is idling. If the pump is in good condition, the pressure should be no more than 1,500 kPa (15 kgf/cm2, 214 psi). If the pressure is too high, check the outlet hose or valve body unit (see Steering System Troubleshooting).
      Raise the engine speed to 3,000 rpm, and measure the fluid pressure. If the pump is in good condition, the pressure should be at least 1,500 kPa
      (15 kgf/cm2, 214 psi). If the pressure is too high, repair or replace the pump.

    10. Lower the engine speed and let it idle. Close the shut-off valve, then close the pressure control valve gradually until the pressure gauge needle is stable. Read the pressure.

    NOTICE

  • Do not keep the shut-off valve closed more than 5 seconds or the pump could be damaged by over-heating.
    1. Immediately open the pressure control valve fully. If the pump is in good condition, the gauge should read at least this specification:

    K20A4 and K20A5 Engine models:

    6,900 - 7,500 kPa (70 - 77 kgf/cm², 1,000 - 1,100 psi)

    K24A1 Engine models:

    7,500 - 8,100 kPa (76 - 83 kgf/cm², 1,080 - 1,180 psi)

  • A low reading means pump output is too low for full assist. Repair or replace the pump.
  • Fluid Leakage Inspection17-10


    Fluid Replacement17-11

    Check the reservoir (A) at regular intervals, and add the recommended fluid as necessary. Always use Genuine Honda Power Steering Fluid. Using any other type of power steering fluid or automatic transmission fluid can cause increased wear and poor steering in cold weather.

    SYSTEM CAPACITY:

    RHD models:

    0.72 l (0.76 US. qt, 0.63 lmp.qt) at disassembly

    LHD models:

    0.75 l (0.79 US. qt, 0.66 lmp.qt) at disassembly

    RESERVOIR CAPACITY:

    0.26 l (0.27 US. qt, 0.23 lmp.qt)


    1. Raise the reservoir, then disconnect the return hose (A) to drain the reservoir. Take care not to spill the fluid on the body and parts. Wipe off any spilled fluid at once.


    2. Connect a hose (B) of suitable diameter to the disconnected return hose, and put the hose end in a suitable container.
    3. Start the engine, let it run at idle, and turn the steering wheel from lock-to-lock several times. When fluid stops running out of the hose, shut off the engine. Discard the fluid.
    4. Reinstall the return hose on the reservoir.
    5. Fill the reservoir to the upper level line (C).
    6. Start the engine and run it at fast idle, then turn the steering from lock-to-lock several times to bleed air from the system.
    7. Recheck the fluid level and add more if necessary. Do not fill the reservoir beyond the upper level line.

    Hoses and Lines Replacement17-12

    Note these items during installation:

  • Connect each hose to the corresponding line securely until it contacts the stop on the line. Install the clamp or adjustable clamp at the specified distance from the hose end as shown.
  • Check all clamps for deterioration or deformation; replace with the clamps new ones if necessary.
  • Add the recommended power steering fluid to the specified level on the reservoir and check for leaks.


  • Pump Replacement17-13

    1. Place a suitable container under the vehicle.
    2. Drain the power steering fluid from the reservoir.
    3. Remove the drive belt (A) from the pump pulley (see page 04-30) .


    4. Remove the pump mounting bolts (B).
    5. Cover the auto-tensioner, alternator and A/C compressor with several shop towels to protect it from spilled power steering fluid. Disconnect the pump inlet hose (C) and pump outlet hose (D) from the pump (E), and plug them. Take care not to spill the fluid on the body or parts. Wipe off any spilled fluid at once. Do not turn the steering wheel with the pump removed.
    6. Cover the opening of the pump with a piece of tape to prevent foreign material from entering the pump.
    7. Connect the pump inlet hose and pump outlet hose.
    8. Loosely install the pump in the pump bracket with the mounting bolts, then tighten the pump fittings securely.
    9. Install the drive belt (A).
    10. Note these item during belt installation:
    11. Make sure that the belt is properly positioned on the pulleys (B).
    12. Do not get power steering fluid or grease on the auto-tensioner, alternator, A/C compressor and drive belt or pulley faces. Clean off any fluid or grease before installation.


    13. Tighten the pump mounting bolts to the specified torque.
    14. Fill the reservoir to the upper level line (see page 17-11) .

    Pump Overhaul17-14

    Exploded View

    Replace the pump as an assembly if the parts indicated with asterisk (*) are worn or damaged.


    17-15

    Special Tools Required
  • Attachment, 32 x 35 mm 07746-0010100
  • Driver 07749-0010000
  • Pulley holder 07ZAB-S5A0100
  • Disassembly

    NOTE: Refer to the Exploded View as needed during the following procedure.

    1. Remove the power steering pump (see page 17-13) .
    2. Drain the fluid from the pump.
    3. Hold the steering pump (A) a vise with soft jaws, hold the pulley (B) with the special tool (C), and remove the pulley nut (D) and pulley. Be careful not to damage the pump housing with the jaws of the vise.


    4. Remove the inlet joint and O-ring.
    5. Remove the pressure control valve cap, O-ring, valve spring, and pressure control valve.
    6. Remove the pump housing cap, O-ring, and pump preload spring.
    7. Remove the pump cover and pump cover seals.
    8. Pull out the roll pin.
    9. Remove the outer case, cam ring, rotor, vanes, and side plate.
    10. Remove the rubber seal and slipper seal from the outer case.
    11. Remove the O-rings from the bottom of the housing.
    12. Remove the snap ring, then remove the drive shaft by tapping the shaft end with the plastic hammer.
    13. Remove the seal from the pump housing.

    Inspection

    1. Check the pressure control valve for wear, burrs, and other damage to the edges of the grooves in the valve.


    2. Inspect the bore of the pressure control valve on the pump housing for scratches and wear.
    3. Slip the pressure control valve back in the pump housing, and check that it moves in and out smoothly. If OK, go to step 17; if not, replace the pump as an assembly. The pressure control valve is not available separately.


    Pump Overhaul (cont'd)17-16

    1. Attach a hose (A) to the end of the pressure control valve (B) as shown. Then submerge the pressure control valve in a container of power steering fluid or solvent (C), and blow in the hose.
    2. If air bubbles leak through the valve at less than 98 kPa (1.0 kgf/cm2, 14.2 psi), replace the pump as an assembly. The pressure control valve is not available separately.
    3. If the pressure control valve is OK, set it aside for reassembly later.


    4. Inspect the ball bearing by rotating the outer race slowly. If you feel any play (axial or radial) or roughness, remove the faulty ball bearing (A), and install a new one (B).


    5. Inspect each part shown with an asterisk in the Exploded View; if any of them are worn or damaged, replace the pump as an assembly.

    Reassembly

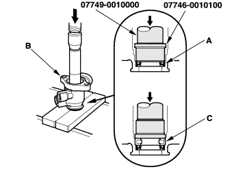
    1. Install the new pump seal (A) (with its grooved side facing in) into the pump housing (B) by hand first, then drive it in using the special tools with until there is no step at the top of the pump seal, and the seal is fully seated in the pump housing.


    2. Position the pump drive shaft (A) in the pump housing, then press it in with the appropriate size socket wrench (B) as shown. Do not apply more than 1,370 N (140 kgf, 308 lbf) of pressure.


    3. Install the 40 mm snap ring (C) with its radiused side facing out.

    17-17

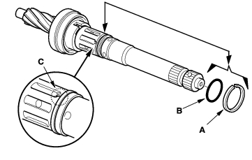
    1. Coat the new 23.8 mm O-ring (A) with the power steering fluid, then position it on the bottom (B) of the pump housing.


    2. Coat the new cover seals (A) and (B) with the power steering fluid, then position them into the grooves on the cover (C).


    3. Install the outer case (A) by aligning the slot (B) inside the outer case with the cover roll pin hole (C). Be sure that the slit (D) on the outer case is to direction shown.


    4. Apply the power steering fluid to the rubber seal (E) (black), and install it in the slot (F) of the outer case.
    5. Apply power steering fluid to the slipper seal (G) (white), and install it on top of the rubber seal you just installed.

    Pump Overhaul (cont'd)17-18

    1. Install the cam ring (A) with the "·" mark on it up ward. Align the slot (B) with the slot (C) in the outer case.


    2. Insert the roll pin (D) into the slots between the cam ring and outer case, then push roll pin into the set hole (E).
    3. Install the rotor (A) in the cam ring (B).


    4. Set the 11 vanes (C) in the grooves in the rotor. Make sure that the round ends (D) of the vanes are in contact with the sliding surface of the cam ring.
    5. Place the side plate (A) on the cam ring, and aligning the roll pin set hole (B) in the side plate with the roll pin end (C).


    6. Coat the new O-ring (D) with the power steering fluid, then position it into the groove on the side plate.
    7. Install the pump housing (A) over the cover assembly (B).


    17-19

    1. Align the bolt holes in the cover (A) with the threaded holes in the pump housing. Install the flange bolts loosely first, then torque the flange bolts in a criss cross pattern in two or more steps.


    2. Push in the cam ring (A) from the pump housing cap hole (B) with a flat blade screwdriver, to make sure the cam ring is fully seated against the outer case.


    3. Install the pump preload spring (A) in the pump housing.


    4. Coat the new 12.7 mm O-ring (B) with power steering fluid, and install it on the pump housing cap (C).
    5. Install the pump housing cap on the pump housing, and tighten it to specified torque.
    6. Install the pressure control valve spring (A) in the pump housing.
    7. Coat the pressure control valve (B) with power steering fluid, and install it on the pump housing.


    8. Coat the new 16.7 mm O-ring (C) with power steering fluid, and install it on the pressure control valve cap (D).
    9. Install the pressure control valve cap on the pump housing, and tighten it to the specified torque.

    Pump Overhaul (cont'd)17-20

    1. Coat the new O-ring (A) with power steering fluid, and install it on the inlet joint (B).


    2. Install the inlet joint on the pump housing.
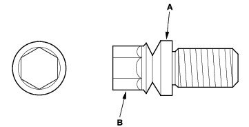
    3. Install the pulley (A), then loosely install the pulley nut (B). Hold the steering pump in a vise with soft jaws. Be careful not to damage the pump housing with the jaws of the vise.


    4. Hold the pulley with the special tool, and tighten the pulley nut to specified torque.
    5. Check that the pump turns smoothly by turning the pulley. If it turns hard, loosen the four flange bolts on the cover, then retightening them try again in the same manner as in the step 35.

    Steering Wheel Removal17-21

    SRS components are located in this area. Review the SRS component locations (see page 23-14) and precautions and procedures (see page 23-16) in the SRS section before performing repairs or service.

    1. Align the front wheels straight ahead, then remove the driver's airbag from the steering wheel (see page 23-135) .
    2. Disconnect the cruise control set/resume switch connector (if equipped) (A) and horn switch connector (B).


    3. Loosen the steering wheel bolt (C).
    4. Install a commercially available steering wheel puller (A) on the steering wheel (B). Free the steering wheel from the steering column shaft by turning the pressure bolt (C) of the puller.

  • Note these items when removing the steering wheel:
  • Do not tap on the steering wheel or the steering column shaft when removing the steering wheel.
  • If you thread the puller bolts (D) into the wheel hub more than five threads, the bolts will hit the cable reel and damage it. To prevent this, install a pair of jam nuts five threads up on each puller bolt.


    1. Remove the steering wheel puller, then remove the steering wheel bolt and steering wheel from the steering column.


    Steering Wheel Disassembly/Reassembly17-22


    Steering Wheel Installation17-23

    1. Before installing the steering wheel, make sure the front wheels are aligned straight ahead, then center the cable reel (A). Do this by first rotating the cable reel clockwise until it stops. Then rotate it counterclockwise about two and a half turns. The arrow mark (B) on the cable reel label point should point straight up.


    2. Position the two tabs (A) of the turn signal cancelling sleeve (B) as shown. Install the steering wheel on to the steering column shaft, making sure the steering wheel hub (C) engages the pins (D) of the cable reel and tabs of the canceling sleeve. Do not tap on the steering wheel or steering column shaft when installing the steering wheel.


    3. Install the steering wheel bolt (A) and tighten it to the specified torque. Connect the horn and cruise control set/resume switch connectors. Make sure the wire harness is routed and fastened properly.


    4. Install the driver's airbag, and confirm that the system is operating properly (see page 23-135) .
    5. Check the horn and turn signal cancelling for proper operation.

    Steering Column Removal and Installation17-24

    SRS components are located in this area. Review the SRS component locations (see page 23-14) and precautions and procedures (see page 23-16) in the SRS section before performing repairs or service.

    Removal

    1. Record the radio station presets, and disconnect the battery.
    2. Remove the driver's airbag assembly and the steering wheel (see page 17-21) .
    3. Remove the driver's dashboard lower covers (see page 20-88) .
    4. Remove the column covers (A).


    5. Disconnect the wire harness connectors from the combination switch assembly (B).
    6. Remove the combination switch assembly from the steering column shaft by removing the screw (C) on the top of the combination switch.
    7. Disconnect the connectors from the ignition switch, and release the wire harness clips from the steering column.
    8. Disconnect the steering joint (D), and remove it from the column shaft.
    9. Remove the steering column (E) by removing the attaching nuts and bolts.

    17-25

    Installation

    1. Install the steering column in the reverse order of removal, and note these items:
    2. Take care not to let the sliding capsules fall out of the position during column installation.
    3. Make sure the wires are not caught or pinched by any parts.
    4. Insert the upper end of the steering joint onto the steering shaft (A) (line up the bolt hole (B) with the flat portion (C) on the shaft).


    5. Slip the lower end of the steering joint onto the pinion shaft (D) (line up the bolt hole with the groove (E) around the shaft), and loosely install the lower joint bolt. Be sure that the lower joint bolt is securely in the groove in the pinion shaft.
    6. Pull on the steering joint to make sure that the steering joint is fully seated. Then install the upper joint bolt and tighten it. Tighten the lower joint bolt to specified torque.
    7. Finish the installation, and note these items:

  • Make sure the wire harness is routed and fastened properly.
  • Make sure the connectors are properly connected.
  • Reinstall the steering wheel (see page 17-23) .
  • Reconnect the battery.
  • Verify horn and turn signal switch operation.
  • Check wheel alignment, if necessary (see page 18-4) .
  • Steering Column Tilt Operation Check17-25

    1. Set the steering wheel in the straight driving position, and loosen the tilt lever fully.
    2. Attach the spring scale to the highest point of the steering wheel, and set the tilting position at the lowest.
    3. Pull the spring scale straight up, and read the operation load during tilting.
    4. Attach the spring scale to the lowest point of the steering wheel.
    5. Pull the spring scale straight down, and read the operation load during tilting.

    Tilting Load (Upward/Downward):

    Standard: 68 N (7.0 kgf, 15 lbf) or below


    1. If the measurement is more than the specification, adjust the tilt lever preload (see page 17-27) .

    Steering Column/Tilt Lever Inspection/Adjustment17-26

  • Check the steering column ball bearing (A) and the steering joint bearings (B) for play and proper movement. If any bearing is noisy or has excessive play, replace the steering column as an assembly.
  • Check the sliding capsules (C) for distortion and breakage. If there is distortion or breakage replace the steering column as an assembly.


  • 17-27

    Tilt Lever Preload Inspection

    1. Move the tilt lever (A) from the loose position to the lock position three to 5 times; then measure the tilt lever preload 10 mm (0.4 in.) from the end of the tilt lever.

    Preload: 70 - 90 N (7 - 9 kgf, 15 - 20 lbf)


    1. If the measurement is out of the specification, adjust the preload using the following procedures.

  • Loosen the tilt lever, and set the steering column in the neutral position.
  • Remove the 6 mm lock bolt (B), and remove the stop (C). Be careful not to loosen the tilt lever when installing the stop or tightening the 6 mm lock bolt.
  • Adjust the preload by turning the tilt lock bolt (D) left bolt.
  • Pull up the tilt lever to the uppermost position, and install the stop. Check the preload again. If the measurement is still out of specification, repeat the above procedures to adjust.
  • Steering Lock Replacement17-27

    1. Remove the steering column (see page 17-24) .
    2. Center punch each of the two shear bolts, and drill their heads off with a 5 mm (3/16 in.) drill bit. Be careful not to damage the switch body when removing the shear bolts.


    3. Remove the shear bolts from the switch body.
    4. Install the switch body without the key inserted.
    5. Loosely tighten the new shear bolts.
    6. Insert the ignition key, and check for proper operation of the steering wheel lock and that the ignition key turns freely.
    7. Tighten the shear bolts (A) until the hex heads (B) twist off.


    Rack Guide Adjustment17-28

    Special Tools Required

    Locknut wrench, 40 mm 07MAA-SL00100

    1. Set the wheels in the straight ahead position.
    2. Vehicle's with RHD; remove the air cleaner. Then remove the heat shield (A) to upward. Be carefuly not to damage the heater hoses.


    3. Loosen the rack guide screw locknut (A) with the special tool, then remove the rack guide screw (B).


    4. Remove the old sealant from rack guide screw, and apply new sealant to the middle of the threads (C). Loosely install the rack guide screw on the steering gearbox.


    5. Tighten the rack guide screw (A) to 25 N·m (2.5 kgf·m, 18 lbf·ft), then loosen it.


    6. Retighten the rack guide screw to 6 N·m (0.6 kgf·m, 4 lbf·ft), then back it off to specified angle.

    Specified Return Angle:  20° Max.

    1. Hold the rack guide screw stationary with a wrench, and tighten the locknut by hand until it's fully seated.
    2. Install the special tool on the locknut (B), and hold the rack guide screw (A) stationary with a wrench.
      Tighten the locknut an additional 30° with the special tool.

    3. Vehicle's with RHD; reinstall the heat shield and air cleaner.
    4. Check for unusual steering effort through the complete turning travel.
    5. Check the steering wheel rotation play and the power assist (see page 17-7) .

    Steering Gearbox Removal17-29

    Special Tools Required

    Ball joint remover, 28 mm 07MAC-SL00200

    Note these items during removal:

  • Using solvent and a brush, wash any oil and dirt off the valve body unit, its lines, and the end of the gearbox. Blow dry with compressed air.
  • Be sure to remove the steering wheel before disconnecting the steering joint. Damage to the cable reel can occur.
    1. Raise the front of vehicle, and make sure it is securely supported.
    2. Remove the front wheels.
    3. Remove the driver's airbag and the steering wheel (see page 17-21) .
    4. Remove the driver's dashboard lower cover and under cover (see page 20-89) .
    5. Remove the steering joint bolts, and disconnect the steering joint by moving the steering joint (A) toward the column.


    6. Remove the air cleaner (A).


    7. Remove the cotter pin (A) from the tie-rod ball joint nut (B), and loosen the nut.


    8. Separate the tie-rod ball joint and damper steering arm using the special tool (see page 18-10) .

    Steering Gearbox Removal (cont'd)17-30

    1. Loosen the adjustable hose clamp (A) and disconnect the return hose (B), and return line clamp (RHD model) (C).

    LHD:


    RHD:


    1. On the driver's side, loosen the 14 mm flare nut (A) and disconnect the feed line (B), and feed line clamps (C).
      Remove the P/S return line bracket attaching bolt (LHD model) (D).

    LHD:


    RHD:


    17-31

    1. On the passenger's side, remove the P/S return line bracket (A) and return line clamp (B).


    2. Remove the two 10 mm flange bolts and washers from the left side (RHD: right side) of gearbox.


    3. Remove the 10 mm flange bolt and nut from the right side (RHD: left side) of the gearbox, then remove the mounting bracket (A).


    4. Lower the steering gearbox, and rotate it so the pinion shaft points upward.
    5. Remove the pinion shaft grommet (A) from the top of the valve body unit.

      -


    Steering Gearbox Removal (cont'd)17-32

    1. Carefully move the steering gearbox (A) and tie-rods (B) as an assembly toward the driver's side until the pinion shaft clears the wheelwell opening (C) on the frame.


    2. Remove the steering gearbox through the wheelwell opening on the driver's side.


    Steering Gearbox Overhaul17-33

    Exploded View


    Steering Gearbox Overhaul (cont'd)17-34

    Special Tools Required
  • Cylinder end seal remover attachment 07NAD-SR30200
  • Driver, 27 mm 07ZAF-S5A0100
  • Valve seal ring sizing tool 07NAG-SR30900
  • Sleeve seal ring guide 07YAG-S2X0100
  • Sleeve seal ring sizing tool 07ZAG-S5A0100
  • Attachment, 32 x 35 mm 07746-0010100
  • Driver 07749-0010000
  • Piston seal ring guide, 42 mm 07ZAG-S7A0100
  • Piston seal ring sizing tool, 42 mm 07ZAG-S7A0200
  • Locknut wrench 07ZAA-S5A0100
  • Driver handle 07NAD-SR30101
  • Cylinder end seal slider, 23 mm 07974-6890801
  • Valve seal ring guide 07ZAG-S5A0200
  • Pincers, Oetiker 1098 or equivalent, commercially available.
  • NOTE: Refer to the Exploded View as needed during this procedure.

    Removal

    1. Remove the steering gearbox (see page 17-29) .

    Disassembly

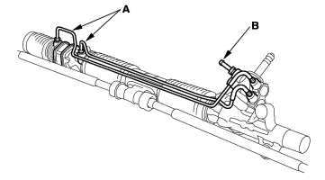
    1. Remove cylinder lines (A) and return line joint (B) from the gearbox.


    2. Drain the fluid from the cylinder fittings by slowly moving the steering rack back and forth.
    3. Unbend the lock washer (A).


    4. Hold the bracket (A) with one wrench, and unscrew both rack ends (B) with another wrench. Remove the lock washers.


    17-35

    1. Remove the stop washer (A), the 12 mm flange bolts (B), O-rings (C), and bracket (D) from the steering gearbox.


    2. Remove the boot guard (A) by removing the 8 mm flange bolt (B) on the rack end.


    3. Remove the boot band (C) and clip (D). Pull the boot (E) away from the end of the steering gearbox. Remove the rack end plug (F).
    4. Loosen the locknut (A), then remove the rack guide screw (B), spring (C), and rack guide (D) from the steering gearbox.


    5. Remove the snap ring (A) and backup ring (B) from the cylinder housing.


    Steering Gearbox Overhaul (cont'd)17-36

    1. Remove the valve body unit (A) from the steering gearbox. Remove the O-ring (B) and discard it.


    2. Remove the two boot bands (B) from boot A. Compress boot A by hand, and apply vinyl tape (C) so the boots stay collapsed and pulled back.


    3. Hold the gearbox housing using a C-clamp (commercially available) (A) and the wooden blocks (B) as shown. Do not clamp the cylinder housing or gearbox housing in the vise.


    4. Install the special tool (A) on the lock screw (B), then loosen and remove the lock screw from inside of the gearbox housing (C).


    17-37

    1. Remove the special tool.
    2. Pull on the cylinder to remove it from the gearbox housing. Remove boot A and the slider guide (B) from the cylinder.


    3. Check the slider guide for damage and cracks. Use vernier calipers to measure the thickness of the slider guide. If the thickness is less than the service limit, replace the slider guide.


    4. Remove and discard the stop ring (A) on the cylinder by expanding it with snap ring pliers. Remove and discard the lock screw (B).


    5. Set the cylinder housing (A) in a press so the cylinder side points downward, then press the cylinder end seal (B) and steering rack (C) out of the cylinder. Hold the rack to keep it from falling when pressed clear.


    6. Remove the cylinder end seal from the steering rack.

    Steering Gearbox Overhaul (cont'd)17-38

    1. Insert the special tools into the cylinder.
      Make sure the attachment (A) of the special tools is securely positioned on the bushing edges (B).


    2. Place the cylinder in a press, then remove the cylinder end seal (C), backup ring (D), and bushing (B) from the cylinder by pressing on the special tool end.

    Note the items when pressing the cylinder end seal:

  • Keep tool straight to avoid damaging the cylinder wall. Check the tool angle, and correct it if necessary, when removing the cylinder end seal.
  • Use a press to remove the cylinder end seal. Do not try to remove the seal by striking the tool; striking the tool would break the cylinder end seal, and the seal would remain in the cylinder.
    1. Carefully pry the piston seal ring (A) and O-ring (B) off the rack piston. Be careful not to damage the inside of the seal ring groove and piston edges when removing the seal ring.


    2. Before removing the valve housing (A), apply vinyl tape (B) to the splines on the pinion shaft.


    3. Separate the valve housing from the pinion shaft/valve using a press.

    17-39

    1. With your finger, check the inner wall of the valve housing where the seal ring slides. If there is a step in the wall, the housing is worn. Replace it.

  • NOTE: There may be sliding marks from the seal ring on the wall of the valve housing. Replace the valve housing only if the wall is stepped.


    1. Check for wear, burrs, and other damage to the edges of the grooves in the sleeve.

  • NOTE: The pinion shaft and sleeve are a precision matched set. If either the pinion shaft or sleeve must be replaced, replace both parts as a set.


    1. Remove the snap ring (A) and sleeve (B) from the pinion shaft.


    2. Using a cutter or an equivalent tool, cut and remove the four seal rings from the sleeve. Be careful not to damage the edges of the sleeve grooves and the outer surface when removing the seal rings.


    Steering Gearbox Overhaul (cont'd)17-40

    1. Using a cutter or an equivalent tool, cut the valve seal ring (A) and O-ring (B) at the groove (C) in the pinion shaft. Remove the valve seal ring and O-ring. Be careful not to damage the edges of the pinion shaft groove and outer surface when removing the valve seal ring and O-ring.


    2. Remove the valve oil seal (A) and wave washer (B) from the pinion shaft.

    Note these items during disassembly:

  • Inspect the ball bearing (C) by rotating the outer race slowly. If there is any excessive play, replace the pinion shaft and sleeve as an assembly.
  • The pinion shaft and sleeve are a precise fit; do not intermix old and new pinion shafts and sleeves.


    1. Press the valve oil seal (A) and roller bearing (B) out of the valve housing using a hydraulic press and special tool.


    Reassembly

    1. Apply vinyl tape (A) to the stepped portion of the pinion shaft, and coat the surface of the vinyl tape with the power steering fluid.


    2. Install the wave washer (B). Coat the inside surface of the new valve oil seal (C) with power steering fluid, and install the seal with its grooved side facing opposite the bearing, then slide it over the pinion shaft, being careful not to damage its sealing lip (D). Remove the vinyl tape.

    17-41

    1. Install the special tool over the pinion, and coat the surface of the tool with the power steering fluid. Slip the new O-ring (A) and new valve seal ring (B) over the special tool, and expand them.


    2. Fit the O-ring and in the groove of the pinion shaft. Then slide the valve seal ring over the shaft and in the groove on the pinion shaft.
    3. Remove the special tool, and apply power steering fluid to the surface of the valve seal ring (A).


    4. Apply power steering fluid to the inside of the special tool. Set the larger diameter end of the special tool over the valve seal ring, and move the special tool up and down several times to make the valve seal ring fit in the pinion shaft groove.
    5. Remove the special tool, turn it over, slide the smaller diameter end over the valve seal ring. Move it up and down several times to make the valve seal ring fit snugly in the pinion shaft groove.
    6. Apply power steering fluid to the surface of the special tool. Slip two new seal rings (A) over the special tool from the smaller diameter end, and expand them. Install only two rings at a time from each end of the pinion shaft sleeve (B).

    Note these items when installing the seal ring:

  • Do not over-expand the seal ring. Install the resin seal rings with care so as not to damage them. After installation, be sure to contract the seal rings using the special tool (sizing tool).
  • There are two types of sleeve seal rings: black and brown. Do not mix the different types of rings as they are not compatible.


    1. Align the special tool with each groove in the sleeve, and slide a sleeve seal ring into each groove. After installation, compress the seal rings with your fingers temporarily.
    2. Apply power steering fluid to the seal rings on the sleeve, and to the entire inside surface of the special tool, then slowly insert the sleeve into the special tool.


    3. Move the sleeve back and forth several times to make the seal rings snugly fit in the sleeve. Be sure that the seal rings are not twisted.

    Steering Gearbox Overhaul (cont'd)17-42

    1. Apply power steering fluid to the surface of the pinion shaft (A). Slide the sleeve (B) onto the pinion shaft by aligning the locating pin (C) on the inside of the sleeve with the cutout (D) in the shaft. Then install the new snap ring (E) securely in the pinion shaft groove. Be careful not to damage the valve seal ring when inserting the sleeve.


    2. Apply power steering fluid to the seal ring lip of the new valve oil seal (A), then install the seal in the valve housing (B) using a hydraulic press and special tools. Install the seal with its grooved side facing the tool.


    3. Press the roller bearing (C) into the valve housing with a hydraulic press and special tool.
    4. Apply vinyl tape (A) to the pinion shaft, then coat the vinyl tape with power steering fluid.


    5. Insert the pinion shaft into the valve housing (B). Be careful not to damage the valve seal rings (C) and valve oil seal sealing lip (D).
    6. Remove the vinyl tape from the pinion shaft, then remove any residue from the tape adhesive.
    7. Press the pinion shaft/sleeve into the valve housing with a hydraulic press. Check that the pinion shaft/sleeve turns smoothly by hand after installing it.


    17-43

    1. Coat the special tool with power steering fluid, then slide it onto the rack, big end first.
    2. Position the new O-ring (A) and new piston seal ring (B) on the special tool, then slide them down toward the big end of the tool.

    Note these items during reassembly:

  • Do not over expand the resin seal rings. Install the resin seal rings with care so as not to damage them. After installation, be sure to contract the seal ring using the special tool (sizing tool).
  • Replace piston's O-ring and seal ring as a set.


    1. Pull the O-ring off into the piston groove, then pull the piston seal ring off into the piston groove on top of the O-ring.
    2. Coat the piston seal ring (A) and the inside of the special tool with power steering fluid, then carefully slide the tool onto the rack and over the piston seal ring.
    3. Move the special tool back and forth several times to make the piston seal ring fit snugly in the piston.


    4. Set the new bushing (A) on the special tool, and insert the special tools into the cylinder housing (B).


    5. Set the cylinder in a press, and install the bushing (A) into the bottom of the cylinder by pressing on the tool with press. Do not push on the tool with excessive force as it may damage the new bushing.
    6. Coat the sliding surface of the special tool (A) and new cylinder end seal (B) with power steering fluid. Place the seal on the special tool with its grooved side (C) facing opposite the special tool.


    Steering Gearbox Overhaul (cont'd)17-44

    1. Apply a thin coat of grease to the inside of the special tool.
    2. Install the cylinder end seal (A) onto the steering rack (B) with its grooved side (C) toward the piston (D). Make sure the gap in special tool is opposite of rack teeth.


    3. Separate the cylinder end seal from the special tool, then remove the special tool.


    4. Install the new backup ring (A) on the steering rack, then place the backup ring and cylinder end seal (B) against the piston (C).


    5. Mark (A) a position on the steering rack surface with a felt-tip marker, 7.7 mm (0.3 in.) from the rack end edges.


    17-45

    1. Grease the steering rack teeth, then insert the steering rack (A) into the cylinder (B). Be careful not to damage to inner surface of the cylinder wall and bushing with the rack edges.


    2. Set the cylinder (A) in a press, then press the cylinder end seal (B) into the bottom of the cylinder until the mark (C) on the rack meets the edges (D) of the cylinder.


    3. Coat the inside and outside surfaces of the new cylinder end seal (A) with power steering fluid.


    4. Install the cylinder end seal onto the steering rack (B) with its grooved side (C) toward the piston. Push in the cylinder end seal with your finger.
    5. Place the backup ring (D) on the cylinder end seal with its flat side facing upward. Then drive the backup ring in with the appropriate size socket wrench until the its surface is below the snap ring groove (E). Install the snap ring (F) in the groove.
    6. Install the new lock screw (A) on the cylinder.


    7. Install the new stop ring (B) in the groove (C) on the cylinder by expanding it with snap ring pliers. Be careful not to scratch or damage on the cylinder surface with the stop ring edges.

    Steering Gearbox Overhaul (cont'd)17-46

    1. Coat the housing surface with multipurpose grease as shown.


    2. Set the new boot bands (B) on the band installation grooves of boot A by aligning the tabs (C) with the holes (D) of the band. Do not close the ear portion of the boot band yet.


    3. Compress boot A by hand, and apply vinyl tape (E) to the bellows so the boots stay collapsed and pulled back. Pass boot A over the cylinder so the smaller diameter end of the boot faces the gearbox housing.
    4. Apply multipurpose grease to the sliding surface of the slider guide (A). Keep grease off of the rack-to-slider guide matching surfaces and the boot-to-slider guide matching surfaces.
      Slide the steering rack all the way to left, and place the slider guide on the steering rack by aligning the bolt holes (B).


    5. Hold the gearbox housing using a C-clamp (A) and the wooden block (B) as shown.


    17-47

    1. Push the cylinder (A) into the gearbox housing (B) so the notch (C) is aligned with the pin (D) inside of the gearbox housing.


    2. Tighten the lock screw (A) by hand first, then install the special tool (B) on the lock screw. Lightly tighten the lock screw. Do not tighten the lock screw to specified torque yet.


    3. Remove the special tool.
    4. Coat the new O-ring (A) with grease, and carefully fit it on the valve housing.


    5. Apply grease to the needle bearing (B) in the gearbox housing, then install the valve body unit (C) by engaging the gears. Note the valve body unit installation position (direction of the line connections). Tighten the flange bolts (D) to the specified torque.
    6. Grease the sliding surface and circumference of the rack guide (A), and install it onto the gearbox housing. Wipe the grease off the threaded section of the housing.


    7. Install the spring (B). Apply sealant to the middle of the threads on the rack guide screw (C), then install and tighten it to 25 N·m (2.5 kgf·m, 18 lbf·ft). Loosely install the locknut (D).

    Steering Gearbox Overhaul (cont'd)17-48

    1. Center the steering rack within its stroke, and align the slider guide (B) with the holes (C) in boot A. Fit the slider guide to boot A by pressing around the edges of the holes securely.


    2. Before installing the bracket (D), clean the mating surface of the 12 mm flange bolts (E) and bracket. Coat the new O-rings (F) with grease, and install them on the 12 mm flange bolts.
    3. Loosely install the bracket on the steering rack by tightening the 12 mm flange bolts to 25 N·m (2.5 kgf·m, 18 lbf·ft).
    4. Hold the gearbox housing using a C-clamp, then install the special tool on the lock screw (A). Retighten the lock screw to specified torque values. Remove the special tool.


    5. Retighten the 12 mm flange bolts (A) to specified torque values.


    6. After tightening the 12 mm flange bolts, install a new stop washer (B) over one of bolt the heads (C). Be sure the tabs (D) of the stop washer are aligned with the flat surfaces (E) of the bolt head.
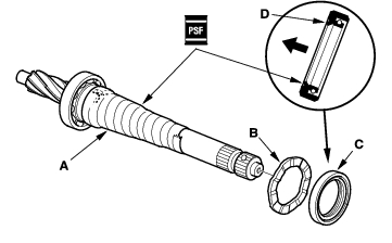
    7. Clean off any grease or contamination from the boot installation grooves around on the housing.
    8. Expand boot (A) by removing the vinyl tape, and fit the boot ends (B) in the installation grooves on the cylinder housing.


    17-49

    1. Close the ear portion (A) of the bands (B) with a commercially available pincers, Oetiker 1098 or equivalent (C).


    2. Install the rack end plug (A).


    3. Clean off any grease or contamination from the boot installation grooves (C) around on the housing.
    4. Slide the steering rack, and adjust the distance between the cylinder housing end and the rack end plug end in the dimension to 70.5 mm (2.8 in.).
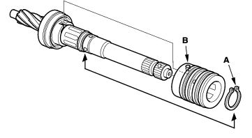
      Install boot B, and set the boot end in the installation grooves in the cylinder housing and rack end plug properly. Install the clip (D) and boot guard (E). Install the new boot band (F) in the band grooves of boot B by aligning the tabs (G) with the holes (H) in the band.

    5. Close the ear poriton (A) of the band (B) with a commercially available pincers, Oetiker 1098 or equivalent (C). Slide the rack right and left to be certain that the boots are not deformed or twisted.


    Steering Gearbox Overhaul (cont'd)17-50

    1. Install a new lock washer (A) on the tie-rod (B) with the radiused side of the washer toward the tie-rod, and screw the tie-rod on the bracket (C). Repeat this step for the other tie-rod. Hold the bracket with one wrench, and tighten both tie-rods to the specified torque with another wrench.


    2. Bend the lock washer against the flat spots on the bracket with a large pair of pliers.


    3. Install the cylinder lines (A) and return line joint (B).

  • Note these items during reassembly:
  • Thoroughly clean the joints of the cylinder lines. The joints must be free of foreign material.
  • Install the cylinder lines by tightening the flare nuts by hand first, then tighten the flare nuts to the specified torque.


    1. Adjust the rack guide screw (see page 17-28) . After adjusting, check that the rack moves smoothly by sliding it right and left.

    Steering Gearbox Installation17-51

    1. Pass the cylinder of the steering gearbox (A) together with the tie-rods (B) through the wheelwell opening on the driver's side.


    2. Carefully move the steering gearbox toward the passenger's side until the pinion shaft clears the wheelwell opening on the frame. Continue moving the gearbox toward the passenger's side until the steering gearbox is in position.

  • NOTE: Make sure the power steering return hose is routed between the gearbox and right tie-rod.


    1. Install the pinion shaft grommet (A).


    2. Install the mounting cushion on the cylinder side of the gearbox.
    3. Insert the pinion shaft up through the bulkhead, and place the steering gearbox on the mounting brackets. Be sure that the pinion shaft grommet is in place securely.
    4. Loosely install the two 10 mm flange bolts and washers on the left side (RHD: right side) of the gearbox.


    Steering Gearbox Installation (cont'd)17-52

    1. Position the cutout (A) on the mounting cushion (B) as shown, and install it on the housing of the gearbox securely fitted. Install the mounting bracket (C) over the mounting cushion.


    2. Install the 10 mm flange bolt and nut loosely first, then torque the flange bolt and nut alternately in two or more steps.
    3. Tighten the left side (RHD: right side) of the flange bolts to the specified torque value.


    4. On the driver's side, connect feed line (A) securely, and tighten the 14 mm flare nut to specified torque.

    LHD:


    RHD:


    1. Install the feed line clamps (B) and P/S return line bracket (LHD model) (C) on the gearbox.

    17-53

    1. Connect the return hose (A) securely, and tighten the adjustable hose clamp (B) (see page 17-12) .
      Install the return line clamp (C) (RHD model) on the gearbox.

    LHD:


    RHD:


    1. Install the P/S return line bracket (LHD model) (A) and return line clamp (B) on the gearbox. Make sure that there is no interference between the feed and return lines any other parts.


    Steering Gearbox Installation (cont'd)17-54

    1. Reinstall the air cleaner.


    2. Wipe off any grease contamination from the ball joint tapered section and threads. Then reconnect the tie-rod end (A) to the damper steering arms.Install the 10 mm nut (B) and tighten it to the specified torque.


    3. Install a new cotter pin (C), and bend it as shown (D) or (E).
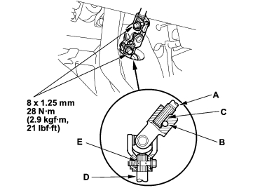
    4. Install the steering joint (A), and reconnect the steering shaft (B) and pinion shaft (C). Make sure the steering joint is connected as follows:

  • Insert the upper end of the steering joint onto the steering shaft (line up the bolt hole (D) with the flat portion (E) on the shaft).
  • Slip the lower end of the steering joint onto the pinion shaft (C) (line up the bolt hole with the groove (F) around the shaft), and loosely install the lower joint bolt. Be sure that the lower joint bolt is securely in the groove in the pinion shaft.
  • Pull on the steering joint to make sure that the steering joint is fully seated. Then install the upper joint bolt and tighten it. Tighten the steering joint bolts to specified torque.


    1. Install the driver's dashboard lower covers.

    17-55

    1. Install the front wheels, then set the wheels in the straight ahead position.
    2. Center the cable reel by first rotating it clockwise until it stops. Then rotate it counterclockwise (about two and half turns) until the arrow mark on the label points straight up. Reinstall the steering wheel (see page 17-23) .
    3. Fill the system with power steering fluid, and bleed air from the system (see page 17-11) .
    4. After installation, perform the following checks.

  • Start the engine, allow it to idle, and turn the steering wheel from lock-to-lock several times to warm up the fluid. Check the gearbox for leaks (see page 17-10) .
  • Perform the front toe inspection (see page 18-7) .
  • Check the steering wheel spoke angle.
    If steering spoke angles to the right and left are not equal (steering wheel and rack are not centered), correct the engagement of the joint/pinion shaft serrations, then adjust the front toe by turning the tie-rods, if necessary.
  • Tie-rod Ball Joint Boot Replacement17-55

    Special Tools Required

    Attachment, 42 mm 07QAD-P0A0100

    1. Remove the boot from the tie-rod end, and wipe the old grease off the ball pin.
    2. Pack the lower area of the ball pin (A) with fresh multipurpose grease.


    3. Pack the interior of the new boot (B) and lip (C) with fresh multipurpose grease.

  • Note these items when installing new grease:
  • Keep grease off the boot mounting area (D) and the tapered section (E) of the ball pin.
  • Do not allow dust, dirt, or other foreign materials to enter the boot.
    1. Install the new boot (A) using the special tool. The boot must not have a gap at the boot installation sections (B). After installing the boot, check the ball pin tapered section for grease contamination, and wipe it if necessary.




    Honda 2001 Steering17-1
    Power Steering17-2
    Previous Page Next Page