Honda 2001 Rear Differential15-1
Differential Disassembly15-18
Previous Page Next Page



Differential Disassembly15-18

Special Tools Required

Companion Flange Holder 07PAB-0020000

  1. Remove the drain plug (A) and the oil filler plug (B) with sealing washers (C).


  2. Raise the locknut tub (A) from the groove of the clutch guide, making sure that the tab completely clears the groove to prevent damaging the clutch guide.


  3. Install the special tools on the companion flange.


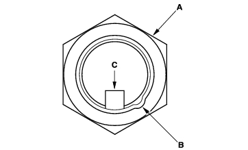
  4. Loosen the locknut (A) counterclockwise so that its tab (B) comes out from the groove (C) in the clutch guide.


15-19

  1. Tighten the locknut (A) until its tab (B) aligns with the groove (C).
  2. Remove any dirt from inside of the groove in the clutch guide, then loosen the locknut.


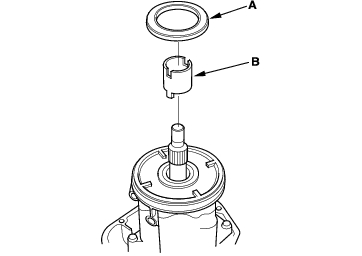
  3. Remove the locknut (A), the disc spring washer (B), the back-up ring (C), the O-ring (D) and the companion flange (E).


  4. Remove the eight mounting bolts (A) in a crisscross pattern in several steps, then remove the torque control differential case (B) and the dowel pin (C).


  5. Remove the shim (A) and the clutch guide (B).


Differential Disassembly (cont'd)15-20

  1. Remove the clutch hub/plates/discs (A) and the pressure plate (B).


  2. Remove the thrust needle bearing (A) and the oil pump driveshaft (B).


  3. Remove the oil pump body assembly (A), the oil pump pin (B), the collar (C), the magnet (D), and the ATF strainer (E).




Honda 2001 Rear Differential15-1
Differential Disassembly15-18
Previous Page Next Page