To Remove:
- Remove strut from vehicle
- Using a coil spring compressor, compress coil spring
- Using ST, remove self-locking nut. ST 927760000 STRUT MOUNT SOCKET
- Remove strut mount, upper spring seat and rubber seat from strut
- Gradually decreasing compression force, and remove coil spring
- Remove dust cover and helper spring
To Install:
NOTE: Before installing coil spring, strut mount, etc., on the strut, check for the presence of air in the dampening force generating mechanism of the strut since air prevents proper dampening force from being produced.
- Complete the following steps to check for the presence of air
- Place the strut vertically with the piston rod facing up
- Move the piston rod to the center of its entire stroke
- While holding the piston rod end with fingertips, move the rod up and down
- If the piston rod moves at least 10 mm (0.39 inch) in the former step, purge air from the strut
- If air is present, complete the following steps to purge
- Place the strut vertically with the piston rod facing up
- Fully extend the piston rod
- Stand the strut up vertically and with the piston rod fully extended, place the piston rod side down and fully contract the piston rod
- Repeat 3 or 4 times from the first step
NOTE: After completely purging air from the strut, be sure to place the strut with the piston rod facing up. If it is laid down, check for entry of air in the strut as outlined under "Checking for the presence of air".
- Using a coil spring compressor, compress the coil spring
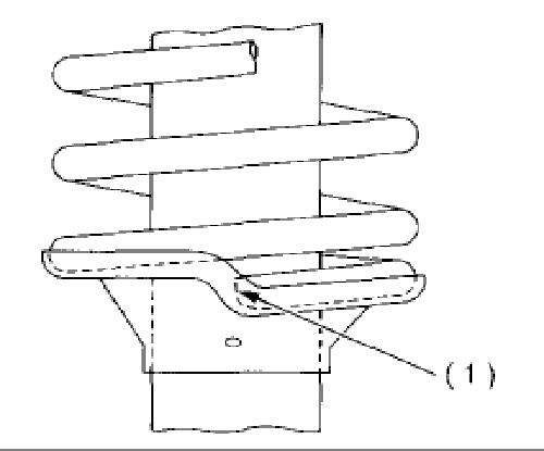
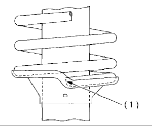
NOTE: Make sure that the vertical installing direction of coil spring is as shown in figure.
- Set the coil spring correctly so that its end face (1) fits well into the spring seat as shown in the figure
- Install helper and dust cover to the piston rod
- Pull the piston rod fully upward, and install rubber seat and upper spring seat
NOTE: Ensure that upper spring seat is positioned as shown in figure.
- Install strut mount to the piston rod, and tighten the self-locking nut temporarily
CAUTION
Be sure to use a new self-locking nut.
- Using hexagon wrench to prevent strut rod from turning, tighten self-locking nut with ST 927760000 STRUT MOUNT SOCKET Torque specification: 55 Nm (41 ft. lbs.)
- Loosen the coil spring carefully
- Install strut into vehicle
