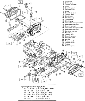
Previous Next

REMOVAL & INSTALLATION

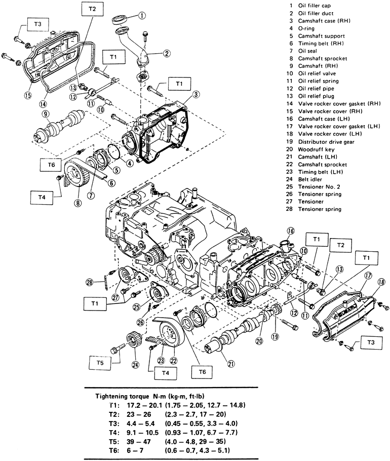
1.8L Engine

Exploded view of the camshaft assembly — 1.8L engine

  1. Before servicing the vehicle, refer to the precautions in the beginning of this section.
  2. Remove or disconnect the following:
  3. Drain the cooling system.
  4. Remove or disconnect the following:
  5. Slide the camshaft out from the carrier.

    To install:

  6. Slide the camshaft into the carrier and install the camshaft retainer and bolts. Tighten the retainer bolts to 60 inch lbs. (7 Nm).
  7. Install or connect the following:
  8. Coat the camshaft with clean engine oil.
  9. Install or connect the following:
  10. Adjust the valve lash.
  11. Install or connect the following:
  12. Start the vehicle and check for fluid leaks.
2.2L Engines

Exploded view of the camshaft assembly — 2.2L engine

  1. Before servicing the vehicle, refer to the precautions in the beginning of this section.
  2. Remove or disconnect the following:
  3. Negative battery cable
  4. Timing belt covers, timing belt and camshaft sprockets. Refer to the timing belt unit repair section.
  5. Valve rocker covers
  6. Rocker arm assemblies. Refer to the rocker arms/shafts procedure in this section.
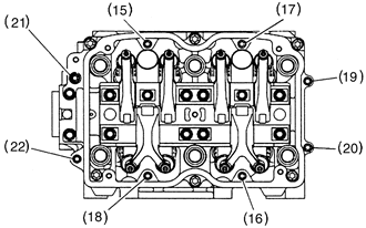
  7. Camshaft cap bolts in the proper sequence
  8. Camshaft cap

    Camshaft cap bolt loosening sequence — 1999–01 2.2L and 2.5L engines

  9. To remove the left camshaft, remove or disconnect the following:
  10. To remove the right camshaft, remove camshaft support on the right side.
  11. Remove or disconnect the following:

    To install:

    NOTE: Lubricate the camshaft journals with clean engine oil prior to installation.

  12. Install or connect the following:
  13. Apply a bead of sealant in the camshaft cap. Position the camshaft cap, then tighten the bolts 7–10, in sequence, temporarily
  14. Install the rocker arm assemblies. Refer to the rocker arms/shafts procedure in this section.
  15. Tighten the remaining camshaft cap bolts, in sequence, as follows:
    1. Step 1: bolts 1–8: 17–20 ft. lbs. (23–27 Nm).
    2. Step 2: bolts 9–14: 12–15 ft. lbs. (16–20 Nm).
    3. Step 3: bolts 15–22: 6–9 ft. lbs. (8–12 Nm), using SST 499497000.
    4. Step 4: bolts 23–24: 6–9 ft. lbs. (8–12 Nm).

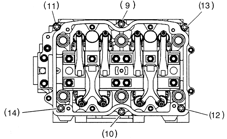
      Camshaft cap bolt locations 1–8 — 1999–01 2.2L and 2.5L engines

      Camshaft cap bolt locations 9–14 — 1999–01 2.2L and 2.5L engines

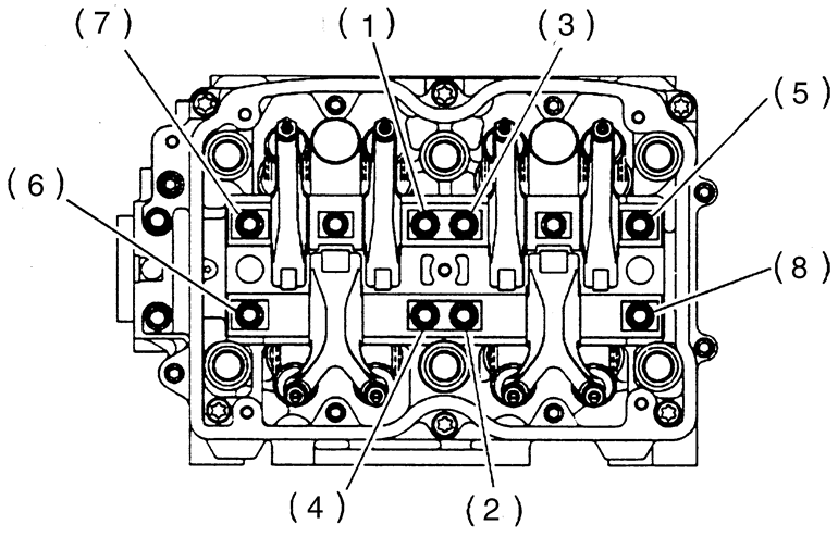
      Camshaft cap bolt locations 15–22 — 1999–01 2.2L and 2.5L engines

      Camshaft cap bolt locations 23–24 — 1999–01 2.2L and 2.5L engines

  16. To install the left camshaft, install or connect the following:
  17. To install the right camshaft, install or connect the following:
  18. Install or connect the following:
  19. Check the fluid levels and start the engine.
  20. Allow the engine to reach normal operating temperature and check for leaks.
2.5L Engine
1997–98 VEHICLES

Exploded view of the camshaft and cylinder head assembly — 2.5L engine

  1. Before servicing the vehicle, refer to the precautions in the beginning of this section.
  2. Remove or disconnect the following:

    NOTE: Be sure to keep the intake and exhaust bearing caps and camshafts in proper order for reassembly.

  3. Intake camshaft bearing caps and the camshaft
  4. Loosen the exhaust camshaft cap bolts in sequence, in small increments
  5. Exhaust camshaft bearing caps and the camshaft

    To install:

    NOTE: Lubricate the camshaft bearings prior to camshaft installation.

  6. Position the camshafts so the base circle (non-lobe portion) of the camshafts are in contact with the lash adjusters. This will position the lobes of the camshafts away from the valves.

    NOTE: The left camshaft will need to be rotated for timing belt alignment.

  7. Apply liquid sealant to the front bearing cap mating surfaces, then install the bearing caps. Tighten the caps in sequence in 2 progressive steps to 14 ft. lbs. (20 Nm).
  8. Install or connect the following:

    WARNING
    Only rotate camshafts the specified amount. If the camshafts are rotated beyond the specified amount, the valves will contact each other and cause severe internal damage.

  9. For correct timing belt alignment, rotate the intake camshaft 80 degrees clockwise and the exhaust camshaft 45 degrees counterclockwise.
  10. Check the timing sprockets for proper alignment and install the timing belt. Refer to the timing belt unit repair section.
  11. Connect the negative battery cable.
  12. Check the fluid levels and start the engine.
  13. Allow the engine to reach operating temperature and check for leaks.
1999–01 VEHICLES
  1. Before servicing the vehicle, refer to the precautions in the beginning of this section.
  2. Remove or disconnect the following:
  3. Negative battery cable
  4. Timing belt covers, timing belt and camshaft sprockets. Refer to the timing belt unit repair section.
  5. Valve rocker covers
  6. Rocker arm assemblies. Refer to the rocker arms/shafts procedure in this section.
  7. Camshaft cap bolts in the proper sequence
  8. Camshaft cap
  9. Camshaft and rear seal
  10. Oil seal from the rear side of the camshaft

    To install:

    NOTE: Lubricate the camshaft journals with clean engine oil prior to installation.

  11. Install the camshaft into the cylinder head
  12. Apply a bead of sealant in the camshaft cap. Position the camshaft cap, then tighten the bolts 7–10, in sequence, temporarily
  13. Install the rocker arm assemblies. Refer to the rocker arms/shafts procedure in this section.
  14. Tighten the remaining camshaft cap bolts, in sequence, as follows:
    1. Step 1: bolts 1–8: 17–20 ft. lbs. (23–27 Nm).
    2. Step 2: bolts 9–14: 12–15 ft. lbs. (16–20 Nm).
    3. Step 3: bolts 15–22: 6–9 ft. lbs. (8–12 Nm), using SST 499497000.
    4. Step 4: bolts 23–24: 6–9 ft. lbs. (8–12 Nm).
  15. Install or connect the following:

    NOTE: Lubricate the seals lips with clean engine oil prior to installation

  16. Oil seal and plug with suitable tools
  17. Camshaft sprockets, timing belt, timing belt covers, and related components. Refer to the timing belt unit repair section.
  18. Negative battery cable
  19. Check the fluid levels and start the engine.
  20. Allow the engine to reach normal operating temperature and check for leaks.
3.3L Engine

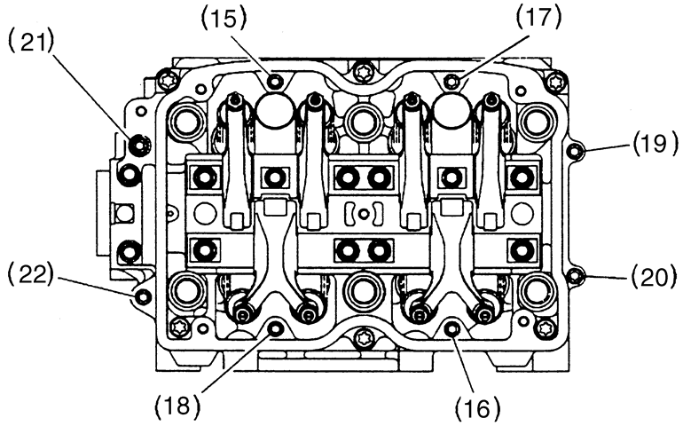
Exploded view of the camshaft assembly — 3.3L engine

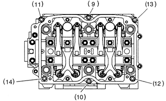
Camshaft cap bolt removal sequence

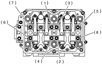
Camshaft cap bolt tightening sequence

Align the notches on the front of the camshafts as shown

There are also alignment marks on the rear of the camshaft gears

  1. Before servicing the vehicle, refer to the precautions in the beginning of this section.
  2. Remove or disconnect the following:

    WARNING
    Since the camshaft thrust clearance is small, the camshaft must be removed by holding it parallel to the cylinder head. If the camshaft is not parallel to the cylinder head, the cylinder head thrust bearing journal may be damaged.

  3. Rotate the intake (upper) and exhaust (lower) camshafts until the notch at the front of the camshafts face the 6 o'clock position on the left cylinder head, and the 12 o'clock position on the right cylinder head.
  4. Inspect the rear of the camshaft and check that the matchmarks on the rear gears are aligned.
  5. Install a service bolt to the sub-gear mounting bolt hole of the intake camshaft gear to lock the sub-gear and driven gear.
  6. Loosen the intake camshaft bolt caps in sequence. Be sure that, as the bolts are turned, the clearance between the camshaft journal and the cylinder head journal bearing increase evenly. If not, tighten the bolts and repeat the loosening procedure.
  7. Remove or disconnect the following:
  8. Arrange the camshaft caps in the order they were removed. They must be installed in their original positions.

    NOTE: To remove the exhaust camshaft, rotate the camshaft clockwise for additional access.

  9. Loosen the exhaust camshaft bolt caps in sequence. Be sure that, as the bolts are turned, the clearance between the camshaft journal and the cylinder head journal bearing increase evenly. If not, tighten the bolts and repeat the loosening procedure.
  10. Remove or disconnect the following:
  11. Arrange the camshaft caps in the order they were removed. They must be installed to their original positions.
  12. Remove or disconnect the following:

    To install:

  13. Measure the thrust clearance of the camshaft with the hydraulic lash adjusters not installed. If thrust clearance exceeds 0.0051 in. (0.13mm) for the intake and 0.0047 in. (0.12mm) for the exhaust, replace the camshaft caps and the cylinder head as an assembly. If necessary, replace the camshaft.
  14. Measure the camshaft journal oil clearance with the lash adjusters not installed. If clearance exceeds 0.0039 in. (0.10mm), replace the camshaft.
  15. Measure the camshaft gear backlash with the intake sub-gear not installed. If backlash exceeds 0.0118 in. (0.30mm), replace the camshafts as a set.
  16. Lubricate and install the hydraulic lash adjusters.
  17. Lubricate and install the camshafts with the notch on the front facing the 6 o'clock position for the left cylinder head camshafts and the 12 o'clock position for the right cylinder head camshafts. Ensure that the marks for both camshafts are facing the same position.
  18. Install or connect the following:
  19. Ensure that the matchmarks on the rear side of the camshaft gears are aligned.
  20. Remove the sub-gear securing bolt from the camshaft.
  21. Install or connect the following:

Previous Next