General


A lane departure warning system will warn the driver when the vehicle begins to move out of its lane. The LDW-ECU (integrating LDW camera), which is mounted behind the windshield, monitors the road ahead. If the system recognises that the driver is about to move out of its lane, the combination meter will provide a visual warning (on the multi-information display) and an audible warning (buzzer).
note If there are bad weather or poor road conditions, the system may not operate correctly.


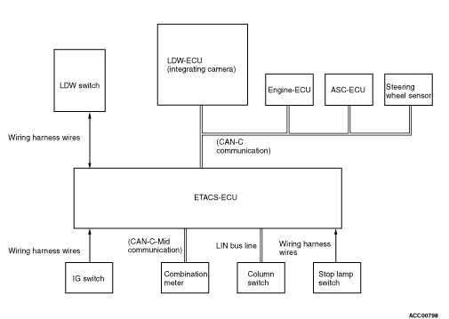
Construction diagram






Main components and functions
Component name
Functional Description
LDW-ECU (integrating LDW camera)
Controls the LDW by using the following inputs/outputs and communications.

  • Stores a proper lane recognition and parameter information based on the variant coding which this ECU receives via CAN communication with the ETACS-ECU.
  • Receives a signal from the stop lamp switch, the side turn-signal lamp and the LDW switch via CAN communication with the ETACS-ECU.
  • Receives signals from the ECUs via CAN communication with the engine-ECU, the ASC-ECU and the steering wheel sensor.
  • Sends status information, a visual and audible LDW indicator/warning requests to the combination meter via CAN communication.
LDW switch
Sends the LDW activation/deactivation status via harness wires.
Ignition switch
Supplies power when the ignition switch is turned "ON" or "Start".
Stop lamp switch
Sends the brake pedal depression/release status to the ETACS-ECU.
Column switch (Side turn-signal lamp switch (LH) or (RH))
Sends a turn-signal lamp signal to the ETACS-ECU via LIN communication.
Combination meter
Displays the audible and visual LDW indicator and warning according to the signals which are sent by the LDW-ECU.
Combination meter (multi-information display)
LDW indicator
Displays the LDW status. Also informs the driver that the LDW camera is initialised or the LDW camera image is tuned.
LDW warning
Displays if the LDW fails.
Engine-ECU
Sends vehicle speed signal to the LDW-ECU via CAN communication.
ASC-ECU
Detects the yaw rate and longitudinal and lateral acceleration of the vehicle, and sends the corresponding signal to the LDW-ECU via CAN communication.
Steering wheel sensor
Detects steering angle of the steering wheel, and sends the corresponding signal to the LDW-ECU via CAN communication.
ETACS-ECU

  • Relays a signal from the stop lamp switch to the LDW-ECU.
  • Sends a turn-signal lamp signal to the LDW-ECU.
  • Sends variant coding information to the LDW-ECU.
  • Sends the LDW switch on/off status, which is received via wiring harness wires, to the LDW-ECU via CAN communication. Furthermore, receives the audible and visual LDW indicator and warning requests from the LDW-ECU and then sends them via CAN communication.


System Configuration





System fail-safe


If a malfunction is detected, the system will enter a fail-safe mode to protect the system.
note For details of the fail-safe function, refer to Workshop Manual.