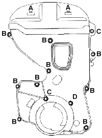
TECHNICAL [Timing Belt Layout] [Timing Belt Layout] [Timing Belt Layout]
SUBJECT:
SERVICE Camshaft Timing Belt
Replacement/Adjustment
BULLETIN Service Procedure
Click on pics above for fullsize versions if you wish

Thanks go to Todd Day for originally HTMLizing this TSB. This TSB is no longer fit to show to a dealer, it is for the home mechanic only, as it no longer follows the proper TSB procedure. HOWEVER, it seems to be more complete than most dealer paperwork, so if you are having a shop do your work, and think they could use this, feel free to print it for them.

NOTE: THIS PAGE PROVIDES A DETAILED PROCEDURE FOR PERFORMING THE 60,000 MILE MAINTENANCE REQUIRED FOR THESE VEHICLES. IT IS A SERVICE TO THOSE OF US OUT OF WARRANTY, WHO NEED TO CHANGE THEIR TIMING BELTS THEMSELVES.

MODELS:

1990 - 1994 Talon/Eclipse/Laser 2.0 Turbo and Non-Trubo

DISCUSSION:

The purpose of this bulletin is to emphasize the importance of performing the timing belt replacement and camshaft timing in the proper sequence to assure complete and satisfactory service.


NOTE: DO BOTH BELTS!!! Doing only the main timing belt is just asking for it, as the balancer belt can break, jam things up, and take the timing belt with it.

If your engine has high mileage, it is a GOOD idea to replace the waterpump, timing belt tensioner, tensioner pulley, idler pulley, balancer belt tensioner pulley, and crankshaft pulley while doing the belts.


NOTE: Any part numbers listed here were gathered for my 90 Talons. Please check with the parts counter personnel to verify that you will be using these parts - several of the parts changed several times between 1990 and 1994 (especially the timing belt tensioner), so the part numbers listed here may not be correct for your engine.

   Pre-Install Checklist       Removal Checklist       Install Checklist       2G T Timing Belt       2G NT Timing Belt   

REPAIR PROCEDURE:

Camshaft Timing Belt Removal:

It may be convenient to raise the vehicle to a level where work can be performed through the wheel well and over the top of the fender.

  1. Remove lower left engine compartment splash shield.

  2. Support engine with engine support fixture, tool #C-4852 or #7137, and remove the left engine mount and bracket (Figure 1). (The engine may be supported with a jack on the oil pan, but make SURE to place it so that the force is distributed as widely as possible, and PAD the jack with several layers of cardboard or heavy cloth to avoid bending the oil pan.)

    [Figure 1]
    Figure 1
  3. Loosen the water pump pulley bolts. Remove the alternator/water pump drive belts, and the power steering drive belt.

    Important: Loosen water pump pulley bolts before removing belt.

  4. Remove water pump pulley.

  5. Remove the tensioner pulley bracket and the A/C belt.

  6. Remove crankshaft pulley.

  7. Remove the upper and lower timing belt covers.

  8. Rotate the crankshaft clockwise and align the timing marks so as to bring the No. 1 piston to the Top-Dead-Center (TDC) position of the compression stroke.

    Caution: Rotate the crankshaft in a clockwise direction.

    The camshaft sprocket dowel pins must be at the 12 o'clock position and the camshaft sprocket timing marks must be aligned together (left sprocket at the 3 o'clock and right sprocket at the 9 o'clock positions) (Figure 2).

    [Figure 2]
    Figure 2
    Both camshaft sprocket timing marks must be in line with the top surface of the cylinder head (Figure 3). [A straight edge (ruler) laid across the center of the cam shaft attaching bolts will help you to better see and align the timing marks.] The crankshaft and oil pump sprockets must also be aligned with their respective timing marks (Figure 3).

    NOTE: Crankshaft may need to be rotated up to six turns before all sprockets are properly aligned and the rear balance shaft is in phase, due to the oil pump-to balance shaft gear ratio.


    [Figure 3]
    Figure 3

    Note: If the belt is currently correctly installed, then use white paint or Whiteout to mark the belt and sprockets. To be consistent, make the marks on the sprockets on the teeth, therefore all the marks on the belt will be between the teeth. Mark the cam sprockets, oil pump sprocket and the crank sprocket. Before installing the new belt, place the old and new belts together, aligning the teeth, and transfer the marks to the new belt. When installing the new belt on the sprockets, match up the marks on the belt with the marks on the sprockets. If you install the belt this way and are reusing the old tensioner, it should allow you to get the belt within spec without loosening the tensioner pulley, saving a lot of time.

  9. Remove rubber plug from inner timing belt cover and screw special tool no. MD998738 (contact Miller Tool for this tool - 800-801-5420, http://www.spxmiller.com/ - search for part # MD998767 or MLR-MD-998738) into the engine left support bracket until it makes contact with the tensioner arm (Figures 4 & 5).

    If you don't have the special tools, but have a tap and die set, see Timing Belt Addition 1 for instructions on making this one

  10. Loosen the tensioner pulley center bolt (Figure 5).

    [Figure 4]
    Figure 4
    [Figure 5]
    Figure 5
  11. Compress the Auto Tensioner push rod by SLOWLY rotating special tool no. MD998738 until hole in Auto Tensioner push rod aligns with the hole in the Auto Tensioner body (Figure 6).

    NOTE: PUSH ROD MAY NEED TO BE ROTATED IF HOLE IN ROD IS NOT VERTICALLY IN LINE WITH HOLE IN HOUSING.

  12. Insert a 1/16 inch allen wrench or similar pin {1.4 mm (.055 in.) in diameter} into the aligned holes to hold the push rod in the reset (pinned) position. Back off special tool MD998738 once auto tensioner is in the reset position (Figure 6).

    [Figure 6]
    Figure 6

    NOTE: INSPECT THE TENSIONER AND REPLACE IT IF IT SHOWS SIGNS OF OIL LEAKAGE.

  13. Remove and discard the camshaft timing belt.

Removal of Balancer Belt (Timing Belt "B")

  1. Loosen balancer belt tensioner pulley center bolt (Figure 7).

    [Figure 7]
    Figure 7


  2. Loosen and remove crankshaft sprocket and backplate (6bolt blocks only):
    Loosening is really easy:
    • NOTE: Due to the redesign of the oilpump case for the 7bolt motors, removal of the crank sprocket is NOT necessary on them to remove the balance shaft belt. The oilpump case was redesigned with a dropdown, and the belt can be removed from around the balance shaft belt backplate without removal of the crankshaft sprocket and backplate. Go here to see if you have an early 6bolt or late 7bolt block.

    • Make SURE the camshaft sprocket timing marks are still lined up - this makes sure all valves are closed. If the marks are not lined up, some valves could be open, and the following procedure could bend valves.
    • Put a 1/2" breaker bar in the end of the crank sprocket bolt
    • Place the bar up against the axle (to the rear of the axle)
    • Remove the MPI fuse (near the battery) so the car won't start
    • Place your foot on the breaker bar, pressing it into the crank bolt, so the downward slant of the axle doesn't throw the breaker bar out and break the breaker bar (TRUST me on this, it can happen)
    • Bump the starter (very quickly, it only takes a split-second)

    Tightening the crank sprocket bolt is a whole different matter. You have to put 80+ ft-lbs of torque on it, and when you go to tighten it, the engine will rotate (NOT what you want to happen while the timing belt is off). If you have an airwrench, and trust the torque settings, again, you are set. If not, consider building the tool noted here. It will hold the crank still while you properly torque the crank sprocket nut.



    1. Once the crank sprocket is off, mark the front of the backing plate and remove it. Then remove and discard balancer belt. (You are marking the front of the backing plate to make sure you put it back on in the right position for proper crank timing. You can mark it by cleaning it off with brakeparts or carb cleaner, then using Witeout or white paint around the timing mark notch - this will make it easy to tell the front from the rear).

    Timing Belt Installation:

    Balancer belt (Timing Belt "B"):

    1. Ensure that the crankshaft sprocket and the silent shaft sprocket timing marks are aligned. Install new balancer belt (buy FACTORY belts, not aftermarket) over crankshaft sprocket "B", around the tensioner pulley, and over the silent shaft sprocket. Do not leave any slack on the tension side of the belt (Figure 8).

      [Figure 8a]
      1990-1992 Models

      [Figure 8b]
      1993-1994 Models
      Figure 8
    2. Push the balancer belt tensioner up (clockwise) to place pressure on the balancer belt so that the tension side is taut. Belt tension should be 5-7 mm (.20-.28 in.) using the belt deflection method. Tighten the tensioner center bolt and torque to 15-22 Nm (11-16 ft. lbs.) Note there is an easy way to set the tension - if you pry up on the pulley with a screwdriver until the spacing between the pulley and oilpump case (between roughly 6 o'clock and 9 o'clock on the pulley) is even, the tension will be correct. (Figure 9).

      [Figure 9]
      Figure 9


    3. CAUTION: WHEN TIGHTENING THE BOLT, ENSURE THAT THE TENSIONER PULLEY SHAFT DOES NOT ROTATE WITH THE BOLT. ALLOWING IT TO ROTATE CAN CAUSE EXCESSIVE TENSION ON THE BALANCER BELT.

    CAMSHAFT TIMING BELT:

    1. Rotate the camshaft timing belt tensioner pulley so that the pinholes are to the left of the center bolt. Tighten the center bolt finger-tight (Figure 10).

      Figure 10


      NOTE: LEAVE THE ALLEN WRENCH INSTALLED IN THE AUTO TENSIONER. (Unless you are going to use my method of setting tension - see my notes after Fig 21)

    2. Make sure the camshaft sprocket dowel pins are located at the 12 o'clock position and the camshaft sprocket timing marks are aligned together (left sprocket at the 3 o'clock and right sprocket at the 9 o'clock positions). Both camshaft sprocket timing marks should be in line with the top surface of the cylinder head (Figure 11).


    3. [Figure 11]
      Figure 11
    4. If your engine has high mileage, it is a GOOD idea to replace the waterpump, timing belt tensioner, tensioner pulley, idler pulley (27 ft-lb), and balancer belt tensioner pulley while doing the belts. This is the time to do it - remove the tensioner, and you can swap in the new water pump. It is suggested you silicone the gasket to the pump the day before with a very light coating of silicone, just enough to hold the gasket on (so thin you can easily see through it).

      This is also a good time to inspect the tensioner system for wear. As Steve Piette notes:

        You might want to suggest inspecting the tensioner arm for wear where it hits the tensioner rod, and checking the bushing and pivot shaft in in the engine mount. Replace as required. I've found that it's common for the tensioner rod to wear a hole in the arm and that both the arm bushing and the mount shaft to wear at the top on the side facing the idler pulley.

    5. If you replace the timing belt idler pulley NOTE that early 90s used a different idler pulley than later cars. The early cars used part # MD121993, later cars used MD156604. If you don't know WHICH your car uses, order the MD156604 AND an M10x22 bolt MF241281 and a lockwasher, as the newer idler pulley has a different center, requiring a much shorter bolt.
    6. If you replaced the waterpump, NOW is the time to put the radiator back in (if you removed it) and refill it to verify you have no leaks. Fill it with water only, so you can drain it and remove the radiator again (allows better access to the PS pump and alternator). Make sure to reinstall the tensioner arm bolt and washer (16 ft-lb). (Figure 11b)

      [Figure 11b]
      Figure 11b


      NOTE: THE EXHAUST CAMSHAFT SPROCKET MAY ROTATE IN THE COUNTERCLOCKWISE DIRECTION. THIS SHOULD BE CONSIDERED WHEN INSTALLING THE TIMING BELT. (What this means is that in some cases, lining up the timing marks on the sprockets won't work - when the tensioner is tightened, it will pull the exhaust sprocket, and the camshaft marks won't line up, while the bottom ones are lined up. If this happens to you, try setting the exhaust sprocket one tooth off in the clockwise direction (mark below the head plane), clamp the belt to the sprockets, then rotate the sprockets a little so the intake mark is slightly above the head plane and the exhaust is slightly below, with the bottom 3 marks lined up. Then the marks should align when you tension the belt - but try with the marks lined up with the head plane first)

    7. Make sure that the crankshaft sprocket and the oil pump sprocket is aligned with the timing mark pointers (Figure 12).

      [Figure 12a]
      1990-1992 Models

      [Figure 12b]
      1993 Models
      Figure 12
    8. Remove the balance shaft plug bolt (Figure 12c) on the rear side of the cylinder block and insert a Phillips screwdriver through the hole. (The balance shaft plug is a bolt a couple of inches above the oilpan, about dead center driver-to-passenger side. It's a bolt on a flat machined surface that doesn't seem to belong there, because it isn't bolting anything down)
      [Figure 12c]
      Figure 12c

    9. The balance shaft is in the correct position if the screwdriver can be inserted at least 60 mm (2.4 in.). If the inserted depth is less than this only 20-25 mm (.8-1.0 in.), the oil pump sprocket must be rotated one full turn and timing marks realigned. Recheck the balance shaft position using the screwdriver to ensure that it can be inserted 60 mm (2.4 in.) or more. Keep the screwdriver inserted until timing belt installation is complete (Figure 13).
      [Figure 13]
      Figure 13

      NOTE that there is an easier way to do this. Simply rotate the mark on the oil pump sprocket until it is pointing straight up, and let it go. If the sprocket rotates towards (counterclockwise) the timing mark on the engine, the oil pump sprocket is aligned correctly. If it rotates away (clockwise) from the mark, spin the sprocket a full turn and test again, and it should properly rotate towards the mark now. Now line the mark on the sprocket back up with the mark on the engine. This avoids having to remove the rear access bolt entirely.


      Caution: MAKE SURE THE BALANCE SHAFT IS PROPERLY POSITIONED. It is possible for the oil pump sprocket timing marks to be properly aligned, and have the balance shaft out of phase. This could result in a SEVERE engine vibration.

    10. Install the new timing belt over the intake side camshaft sprocket and clamp it in position with a clip (Figure 14).

    11. [Figure 14]
      Figure 14
    12. Use a wrench to maintain alignment of the two camshafts and install the timing belt over the exhaust side sprocket, aligning the timing marks as shown in Figure 2 and clamp the belt in position with a clip (Figures 15 & 16).

      [Figure 15]
      Figure 15
      [Figure 16]
      Figure 16
    13. Position the timing belt (buy FACTORY belts, not aftermarket) around the idler pulley, oil pump sprocket, crankshaft sprocket and tensioner pulley (in that order) as shown in Figure 17.

      [Figure 17]
      Figure 17
      [Figure 18]
      Figure 18
    14. Rotate the tensioner pulley in a clockwise direction until the belt is taut and tighten the center bolt (Figure 18).

      NOTE: MAKE SURE ALL TIMING BELT TEETH ARE ENGAGED WITH THE TEETH ON THE CAMSHAFTS, OIL PUMP, AND CRANKSHAFT SPROCKETS AND THAT ALL TIMING MARKS ARE STILL PROPERLY ALIGNED.

      Oil Pump Sprocket Nut Replacement - obsolete via '94 TSB - No longer deemed necessary to replace or even check oil pump sprocket nut. Probably a good thing to check anyway. Lubricate the threads and torque to 55 Nm (40 ft. lbs.) (Figure 17).

    15. Remove the screwdriver from the balance shaft hole and install the plug.

    16. Remove the two clips holding the belt to the camshaft sprockets.

    17. Rotate the crankshaft a ¼ turn counterclockwise, then rotate it clockwise until the timing marks are aligned again. Crankshaft position should still be at the No. 1 cylinder TDC position of the compression stroke.

      NOTE: MAKE SURE THAT ALL OF THE TIMING MARKS ARE STILL ALIGNED.

    18. Loosen the tensioner pulley center bolt, attach special tool no. MD998752 (part # changed to MD998767, contact Miller Tool for this tool - 800-801-5420) and apply 2.7 Nm (24 in. lbs.) torque to pulley (with beam type torque wrench) as shown in Figure 19. WITH TORQUE APPLIED TO THE TENSIONER PULLEY, tighten the attaching bolt, then torque to 49 ± 6 Nm (36 ± 4 ft. lbs.).

      If you don't have the special tools, see Timing Belt Addition 1 for instructions on avoiding using this one

      [Figure 19]
      Figure 19
      [Figure 20]
      Figure 20
      Caution: Failure to follow this procedure will cause the belt tension to exceed the range of the auto tensioner limits and result in premature timing belt failure or jumping.

      NOTE: IF THE VEHICLE BODY INTERFERES WITH THE SPECIAL TOOL AND THE TORQUE WRENCH, RAISE THE ENGINE UP SLIGHTLY UNTIL THERE IS ADEQUATE CLEARANCE.

    19. SLOWLY rotate the special tool no. MD998738 until it makes contact with the tensioner arm and remove the allen wrench from the auto tensioner (Figure 20).

    20. Back off the special tool and rotate the crankshaft SIX complete turns clockwise.

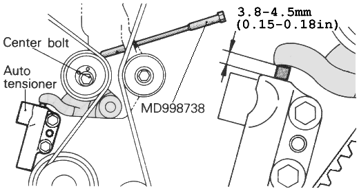
    21. Measure the auto tensioner push rod position with a drill bit (distance between the tensioner arm and auto tensioner body) to ensure that it falls within the specification of 3.8-4.5 mm (.15-.18 in.) as shown in Figure 21.

      [Figure 21]
      Figure 21
      NOTE: WAIT 15 MINUTES AFTER THE ALLEN WRENCH IS REMOVED FROM AUTO TENSIONER (FOR PLUNGER ROD TO STABILIZE) BEFORE MEASURING. IF THE PLUNGER ROD IS OUT OF SPECIFICATION, RESET THE AUTO TENSIONER (STEPS 10, 11 AND 12) AND REPEAT STEPS 29 THROUGH 32 UNTIL THE SPECIFIED VALUE IS OBTAINED.

      Here is how I set the tension whether I am using a new tensioner or not:

      • I do not use an Allen wrench on the tensioner as noted previously, I just let the tensioner expand all the way
      • Once the belt is installed, I place a .150" drillbit (or the nearest larger size I have) on the top of the tensioner body, and screw in the tensioner tool until it captures the drillbit between the tensioner body and tensioner pulley bracket. When the bracket is close to the drillbit, I start spinning the drillbit, and stop screwing in the tool as soon as the bracket stops it from spinning. In other words, I stop when the pulley bracket is just snug against the bit.
      • I place a flatblade screwdriver between the engine and tensioner pulley, and lightly pry up on the pulley
      • I torque the pulley down
      • I back off the tensioner tool several turns, and immediately check the tensioner gap - if it has gotten too small or too large right away, I redo the steps above, changing the pressure used on the screwdriver. If the gap looks OK, I spin the engine 6 turns and wait 15 minutes and check the gap again.
      • There are other ways to do this, but this works best for me



    22. Remove special tool no. MD998738 and install the rubber plug to the inner timing belt cover.

    23. Install the upper and lower timing belt covers as shown in Figure 22. (Rotate the bottom of the lower cover toward the rear to assist in clearing the water pump).

      90-91 DSMs Bolt sizes 92-94 DSMs
      [Figure 22, 90-91]
      Thread diameter
      × thread length
      mm (in.)
      A: 6 x 16 (.24 x .63)
      B: 6 x 18 (.24 x .70)
      C: 6 x 25 (.24 x .98)
      D: 6 x 28 (.24 x 1.10)
      [Figure 22, 92-94]
      Figure 22
      Note that timing cover bolts vary in length. Make sure that the proper size bolts are installed in the correct hole locations. (Figure 22) Note also that I have seen several 90s using the 92-94 bolt lengths. So compare the total number of each length bolt you have when removing them to figure out which diagram to use for reassembly.

    24. Install crankshaft pulley and torque to 25 ± 5 Nm (18 ± 4 ft. lbs.).

    25. Install A/C tensioner bracket with A/C belt and torque to 25 ± 2 Nm (18 ± 4 ft. lbs.). Adjust belt tension to 5.5-6.0 mm (.220-.240 in.) belt deflection.

    26. Install water pump pulley.

    27. Install alternator/water pump and power steering drive belts and adjust belt tension as follows:
      Belt Deflection
      Alternator/Water Pump Belt 9.0-11.5 mm (.354-.453 in.)
      Power Steering Belt 6.0-9.0 mm (.240-.354 in.)

    28. Install left front engine mount and bracket and torque to the specifications shown in Figure 23.

      [Figure 23]
      Figure 23
    29. Remove engine support fixture.

    30. Install lower engine compartment splash shield.



    Timing Belt Layout
    [Timing Belt Layout]
    Timing Belt Layout



    POLICY: Information Only.


    Credits

    Questions, suggestions, comments, constructive criticism and/or corrections? Email me.




    This document can be reprinted for personal use or reference for your mechanic(s) with no prior permission needed. It can be linked to directly, as long as you have a link to the main VFAQ page of http://www.vfaq.com, though linking to the main page instead is preferred. This document can NOT be reprinted for profit/resale/redistribution of ANY type without expressed WRITTEN permission from me in advance. Bulk copying of this document onto your web site without prior permission will not be tolerated, link to it instead.

    Guys, I never wanted to do this, but the VFAQ costs are killing me between ISP costs and time. I am asking that IF you find a VFAQ useful, and IF you want to, please consider Emailing me about donating towards the cause. I hope to raise $ towards a Kodak DC-210 digital camera already purchased, and a new camera (maybe DV). The DC-210 has now dropped my development costs to zero, and helps get new VFAQs up that much faster. Anything would help. If you don't want to give anything, that is not a problem at all. If you donate, it will be much appreciated.

    Think of it this way - if you use any of the VFAQs as opposed to going to the dealer, you have saved a minimum of $30-60, since most dealers are at or over $60/hr and won't touch anything less than .5-1 hour jobs. If you do one of the bigger jobs yourself like the timing belt, you will save hundreds. So I'm asking you to support further research for more VFAQs. OK, the begging is done.


    Last modified: Apr 11, 2004
    Copyright 1997-2005 Tom Stangl
    VFAQ.COM, http://www.vfaq.com
    talonts