Inspection Procedure D-3: The rear washer does not work.



caution Whenever the ECU is replaced, ensure that the input and output signal circuits are normal.




COMMENTS ON TROUBLE SYMPTOM


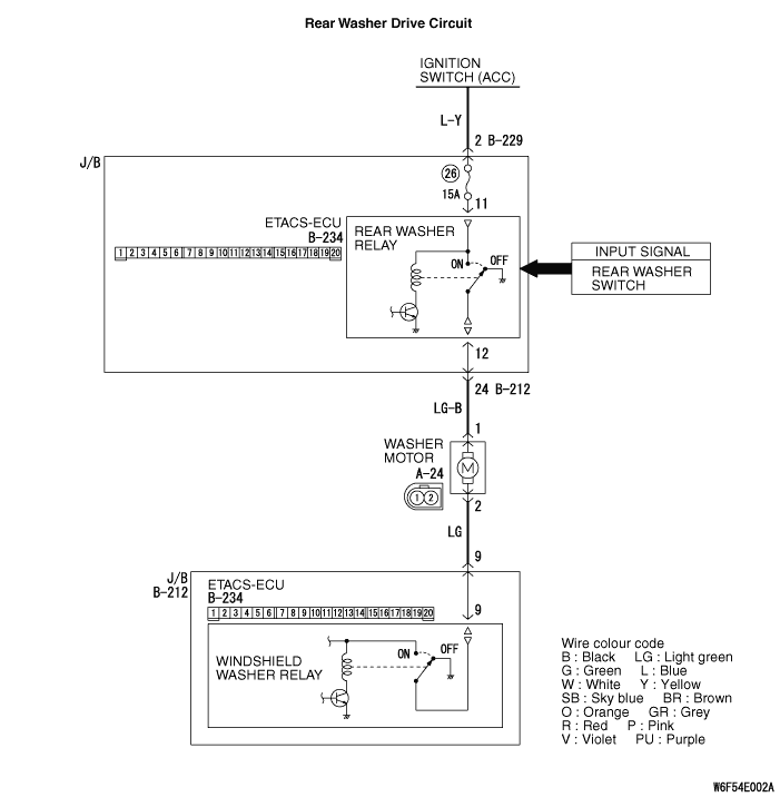
If the rear washer does not work normally, the input signal circuits to the washer switch, washer motor or the ETACS-ECU may be defective.

PROBABLE CAUSES




DIAGNOSIS PROCEDURE


STEP 1. Confirm the operation of the rear wiper.


Check that the rear wiper work normally.

Q. Is the check result normal?

Go to Step 2.
Refer to Inspection Procedure D-1 "The rear wiper does not work at all <COLT> or <COLT CZ3>."

STEP 2. M.U.T.-III diagnosis code.


Check that ETACS-ECU sets a diagnosis code.

Q. Is the diagnosis code set?

Refer to diagnosis code chart .
Go to Step 3.

STEP 3. M.U.T.-III data list


Check the input signals below which are related to the rear washer.

  • Turn the rear washer switch to the ON position.
Item No.
Item name
Normal condition
17
Tail wiper wash and wipe
ON
OK: Normal condition is displayed.

Q. Is the check result normal?

Go to Step 4.
Refer to Inspection Procedure J-1 "The column switch (lighting and wiper switch) signal is not received ."

STEP 4. M.U.T.-III actuator test


Perform the actuator test of the ETACS-ECU, and check that the rear washer works normally.

  • Item 15: Rear washer: OFF
  • Item 16: Rear washer: ON

Q. Is the check result normal?

Go to Step 8.
Go to Step 5.

STEP 5. Connector check: A-24 washer motor connector, B-234 ETACS-ECU connector



Q. Is the check result normal?

Go to Step 6.

Repair the connector.

STEP 6. Check the washer motor.


Refer to GROUP 51 - Rear wiper and washer .

Q. Is the check result normal?

Go to Step 7.
Replace the washer motor.

STEP 7. Check the wiring harness from A-24 washer motor connector terminal No.1 and No.2 to B-234 ETACS-ECU connector No.12 and No.9.







note Prior to the wiring harness inspection, check junction block connector B-212 and repair if necessary.

  • Check the earth line for open or short circuit.

Q. Is the check result normal?

Go to Step 8.

Repair the wiring harness.

STEP 8. Retest the system.


Check that the rear washer works normally.

Q. Is the check result normal?

The trouble can be an intermittent malfunction (Refer to GROUP 00 - How to use Troubleshooting/inspection Service Points - How to Cope with Intermittent Malfunction ).
Replace the ETACS-ECU. Then perform the variant coding and write the VIN data (Refer to GROUP 00, Precautions Before Service - How to Perform Variant Coding ).