Inspection Procedure C-6: The windshield washer does not work normally.



caution Whenever the ECU is replaced, ensure that the input and output signal circuits are normal.




COMMENTS ON TROUBLE SYMPTOM


The washer motor, the column switch or the ETACS-ECU may be defective.

PROBABLE CAUSES




DIAGNOSIS PROCEDURE


STEP 1. Check the operation of the windshield wipers.


Check that the windshield wipers work normally.

Q. Is the check result normal?

Go to Step 2.
Refer to Inspection Procedure C-1 "The windshield wipers does not work at all ."

STEP 2. M.U.T.-III diagnosis code.


Check that ETACS-ECU sets a diagnosis code.

Q. Is the diagnosis code set?

Refer to diagnosis code chart .
Go to Step 3.

STEP 3. M.U.T.-III data list


Check the input signals below which are related to the windshield washer.
(1)Turn the ignition switch to the "ON" position.
(2)Turn the windshield washer switch to the "ON" position.
Item No.
Item name
Normal condition
15
Front wiper wash and wipe
ON
OK: Normal condition is displayed.

Q. Is the check result normal?

Go to Step 4.
Refer to Inspection Procedure J-1 "The column switch (lighting and wiper switch) signal is not received ."

STEP 4. M.U.T.-III actuator test


Perform the actuator test for the ETACS-ECU, and check that the windshield washer works normally.

  • Item 11: Front washer: OFF
  • Item 12: Front washer: ON

Q. Is the check result normal?

Go to Step 8.
Go to Step 5.

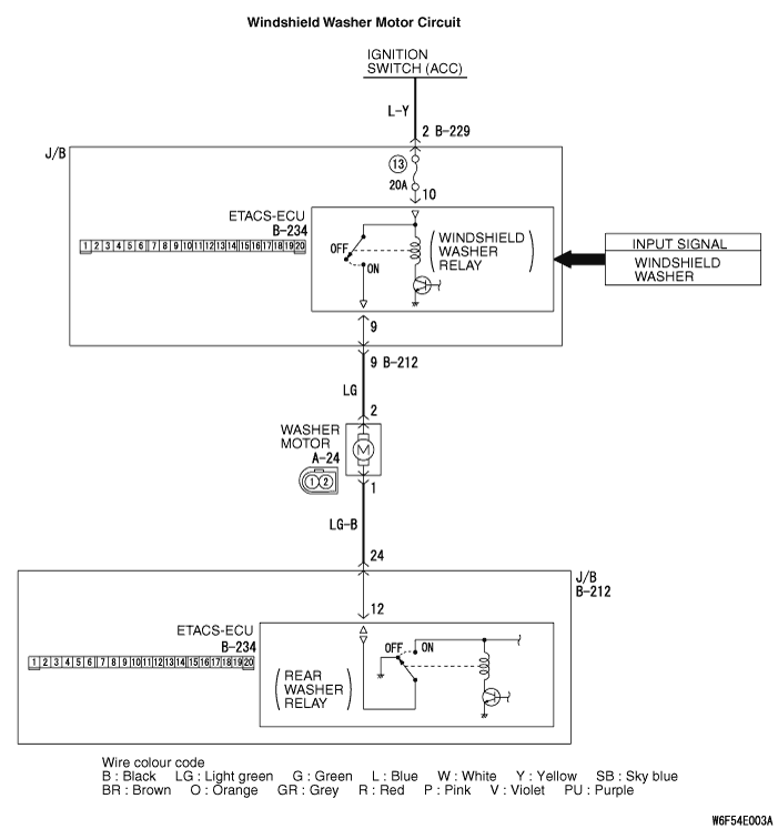
STEP 5. Connector check: A-24 washer motor connector, B-234 ETACS-ECU connector





Q. Is the check result normal?

Go to Step 6.

Repair the connector.

STEP 6. Check the washer motor assembly.


Refer to GROUP 51 - Windshield washer .

Q. Is the check result normal?

Go to Step 7.
Replace the washer motor.

STEP 7. Check the wiring harness from A-24 washer motor connector terminal No.1 and 2 to B-234 ETACS-ECU connector terminal No.12 and 9.







note Prior to the wiring harness inspection, check the junction block connector B-212 and repair if necessary.

  • Check the earth wires for open circuit.

Q. Is the check result normal?

Go to Step 8.

Repair the wiring harness.

STEP 8. Retest the system.


The windshield washer should now work normally.

Q. Is the check result normal?

The trouble can be an intermittent malfunction (Refer to GROUP 00 - How to use Troubleshooting/inspection Service Points - How to Cope with Intermittent Malfunction ).
Replace the ETACS-ECU. Then perform the variant coding and write the VIN data (Refer to GROUP 00, Precautions Before Service - How to Perform Variant Coding ).