REMOVAL AND INSTALLATION



Post-installation operationCheck the beam direction of the front fog lamp (Refer to Front Fog Lamp Aiming ).





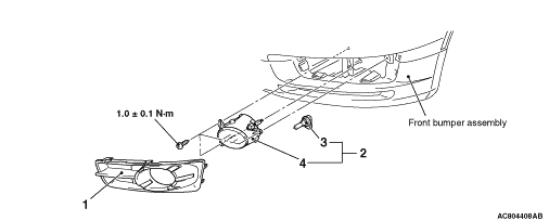
Removal steps


1.
Front bumper side garnish


2.
Front fog lamp assembly


3.
Bulb


4.
Front fog lamp unit