|
|
|
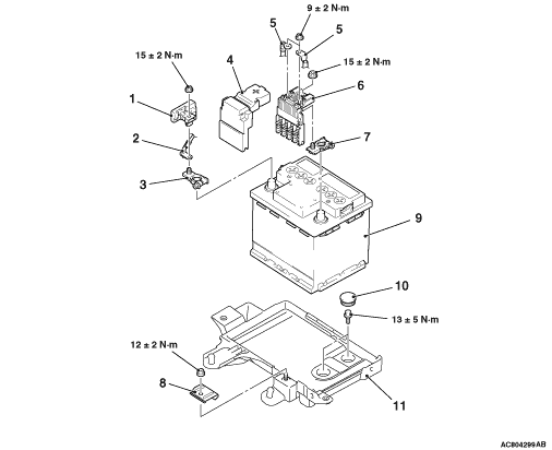
Removal steps
|
|
|
·
|
Air cleaner intake duct (Refer to GROUP 15 - Air Cleaner <except 1500-Turbo> or <1500-Turbo>).
|
|
|
1.
|
Battery current sensor <Vehicles with AS&G system>
|
|
|
2.
|
Connection of the battery harness [negative battery terminal]
|
|
|
3.
|
Battery terminal assembly
|
|
|
4.
|
Fusible link box cover
|
|
|
5.
|
Connection of the battery harness [positive battery terminal]
|
|
|
6.
|
Connection of the fusible link box
|
|
|
7.
|
Battery terminal assembly
|
|
|
8.
|
Battery catch
|
|
|
9.
|
Battery
|
|
|
10.
|
Battery tray plug
|
|
|
11.
|
Battery tray
|