REMOVAL AND INSTALLATION



<FRONT DOOR TRIM>






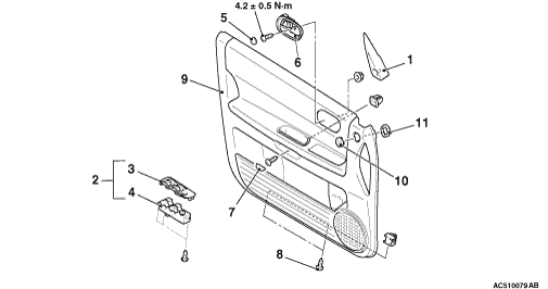
Front door trim removal steps


1.
Delta cover
<<A>>

2.
Power window switch assembly


3.
Power window switch panel

>>A<<
4.
Power window switch


5.
Cap


6.
Inside door handle


7.
Cap


8.
Tapping screw


9.
Front door trim


10.
Tweeter garnish


11.
Tweeter bracket

<REAR DOOR TRIM (COLT)>






Rear door trim removal steps
<<A>>

1.
Power window switch assembly


2.
Power window switch panel

>>A<<
3.
Power window switch
<<B>>
>>B<<
4.
Clip

>>B<<
5.
Regulator handle

>>B<<
6.
Escutcheon


7.
Cap


8.
Inside door handle


9.
Cap


10.
Rear door trim

CLIP AND CLAW POSITION





REMOVAL SERVICE POINTS



<<A>> POWER WINDOW SWITCH ASSEMBLY REMOVAL



Insert special tool ornament remover (MB990784) as shown to remove the power window switch assembly.

<<B>> CLIP REMOVAL <VEHICLES WITHOUT REAR POWER WINDOW>



Use a cloth as shown to remove the clip.

INSTALLATION SERVICE POINTS



>>A<< POWER WINDOW SWITCH INSTALLATION


When the power window switch is installed or replaced, make the power windows learn the fully closed position (Refer to GROUP 42, Door Glass and Regulator <COLT>, <COLT CZ3>).

>>B<< ESCUTCHEON, REGULATOR HANDLE AND CLIP INSTALLATION <VEHICLES WITHOUT REAR POWER WINDOW>



1.Install the escutcheon and the clip to the regulator handle.
2.Close the front door glass or the rear door glass fully, and install the regulator handle in the direction shown.