
|
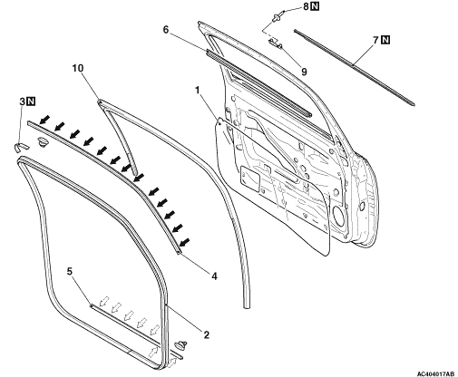
Make a fabricated tool as shown in the illustration to remove the door opening weatherstrip outer.
|

|
Use a drill (4.0 mm) to make a hole in the rivet to break it, and then remove the rivet.
|
|
|
Use recommended tool shown in the illustration to connect the rivet by the following procedure.
|

|
1.Insert the rivet into the base material (door outer panel and clip). 2.Place the recommended tool over section A of the rivet. 3.While pushing the flange surface of the rivet with the recommended tool, press the handle of the tool. 4.The thin part of section A of the rivet will break and the rivet will then be attached.
|

|
Install door opening weatherstrip inner so that the clearance of the joint as shown should be 1 mm or less.
|

|
| caution |
When sticking the waterproof film, ensure that the sealant is applied under the inner panel water drain hole.
|
Apply the specified adhesive to the waterproof film as shown and stick the film. Specified sealant: 3M ATD Part No.8625 or equivalent
|