REMOVAL AND INSTALLATION



caution Do not apply grease or lubricant to the switch and the switch installation section to avoid malfunction of the switch. In addition, do not use gloves which have grease on them.
Pre-removal OperationFloor Console Assembly Removal (Refer to GROUP 52A - Floor Console ).
Post-installation Operation
  • Parking Brake Lever Stroke Adjustment (Refer to ).
  • Floor Console Assembly Installation (Refer to GROUP 52A - Floor Console Assembly ).





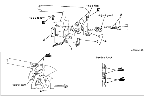
Removal steps


1.
Parking brake switch connector connection


·
Loosen the adjusting nut

>>A<<
2.
Parking brake rear cable connection


3.
Harness bracket


4.
Parking brake lever and parking brake switch assembly


5.
Parking brake switch


6.
Parking brake lever assembly

INSTALLATION SERVICE POINT



>>A<< PARKING BRAKE REAR CABLE INSTALLATION


caution Check that the equaliser and the parking brake rear cable are connected correctly. If the parking brake is applied with the equaliser and the parking brake rear cable connected improperly, the equaliser may be damaged.

Connect the parking brake rear cable to the equaliser as shown in the figure.