REMOVAL AND INSTALLATION



caution Do not apply grease or lubricant to the switch and the switch installation section to avoid malfunction of the switch. In addition, do not use gloves which have grease on them.
Post-installation OperationBrake Pedal Check (Refer to ).




Removal steps


1.
Stop lamp switch connector connection

>>B<<
2.
Stop lamp switch


3.
Pedal stopper


4.
Snap pin


5.
Washer


6.
Pin assembly


7.
Pedal pad

>>A<<
8.
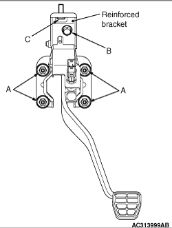
Reinforced bracket

>>A<<
9.
Brake pedal and pedal support member

INSTALLATION SERVICE POINTS



>>A<< BRAKE PEDAL AND PEDAL SUPPORT MEMBER/REINFORCED BRACKET INSTALLATION



1.Install the reinforced bracket on the vehicle side by the bolt "C" temporarily.
2.Install the brake pedal and pedal support member, and tighten the nut "A" to the specified torque.
3.Tighten the bolt "B" connecting the brake pedal and pedal support member with the reinforced bracket to the specified torque.
4.Tighten the bolt "C" to the specified torque.
5.Repeat the pedal operation over several times and check that it is in good condition.

>>B<< STOP LAMP SWITCH INSTALLATION



1.Hold the end of stop lamp switch and draw out the ratchet control mechanism, which is incorporated in the stop lamp switch.
note The ratchet mechanism is 8 mm, and the A shown can extend until minimum 24 mm.
2.Push the stop lamp switch into the brake pedal support member and turn it right while holding the brake pedal by hand so that it is not pushed.
note At this time, the control mechanism incorporated in the stop lamp switch shrinks and becomes the standard position.