

|
|
|
|
Removal steps
|
|
|
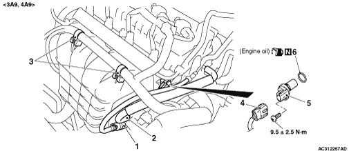
1.
|
Brake booster vacuum hose connection (Inlet manifold side)
|
|
|
2.
|
Evaporative emission purge hose connection (Inlet manifold side)
|
|
|
3.
|
Harness clamp connection
|
|
|
4.
|
Camshaft position sensor connector connection
|
|
|
5.
|
Camshaft position sensor
|
|
|
6.
|
O-ring
|
|