
|
Q.
Is the check result normal?
Go to Step 2 .
Repair or replace the connector.
|

|
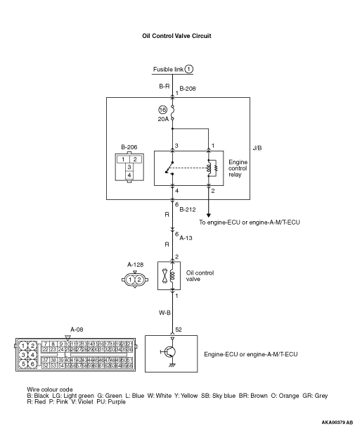
- Disconnect connector, and measure at control valve side.
- Resistance between terminal No. 1 and No. 2.
OK: 6.9 - 7.9 Ω (at 20°C)
Q.
Is the check result normal?
Go to Step 3 .
Replace the oil control valve.
|

|
- Disconnect connector, and measure at harness side.
- Ignition switch: ON
- Voltage between terminal No. 2 and earth.
OK: System voltage
Q.
Is the check result normal?
Go to Step 5 .
Go to Step 4 .
|


|
Q.
Is the check result normal?

Check intermediate connectors A-13 and B-212,
and repair if necessary. If intermediate connectors are normal, check and repair harness between
A-128 (terminal No. 2) oil control valve connector and B-206 (terminal No. 4) engine control
relay connector.
- Check power supply line for open/short circuit.
Repair or replace the connector.
|

|
- Disconnect connector, and measure at harness side.
- Ignition switch: ON
- Voltage between terminal No. 52 and earth.
OK: System voltage
Q.
Is the check result normal?
Go to Step 7 .
Go to Step 6 .
|


|
Q.
Is the check result normal?

Check and repair harness between A-128 (terminal No.
1) oil control valve connector and A-08 (terminal No. 52) engine-ECU connector or engine-A-M/T-ECU
connector.
- Check earthing line for open/short circuit.
Repair or replace the connector.
|

|
Q.
Is the check result normal?
Go to Step 8 .
Repair or replace the connector.
|


|
- Check earthing line for damage.
Q.
Is the check result normal?
Go to Step 9 .
Repair the damaged harness wire.
|


|
| note |
Before checking harness, check intermediate connectors A-13 and B-212, and repair if necessary.
|
- Check power supply line for damage.
Q.
Is the check result normal?
Go to Step 10 .
Repair the damaged harness wire.
|
|
|
- Reconfirmation of diagnosis code.
|
|
|
Q.
Is the diagnosis code set?
|
|
|
Replace the engine-ECU or engine-A-M/T-ECU then perform the variant coding
(Refer to GROUP 00 - Precautions Before Service - How to Perform Variant Coding ).
|
|
|
|
|
|
Intermittent malfunction (Refer to GROUP 00 - How to Use Troubleshooting/Inspection
Service Points - How to Cope with Intermittent Malfunctions ).
|
|
|
|