|
|
Check spark plug itself (Refer to GROUP 16 - Ignition System - On-vehicle
Service - Spark Plug Check and Cleaning ).
|
|
|
Q.
Is the check result normal?
|

|
Q.
Is the check result normal?
Go to Step 3 .
Repair or replace the connector.
|
|
|
- Check ignition coil itself (Refer to GROUP 16 - Ignition System - On-vehicle Service - Ignition
coil check
).
|
|
|
Q.
Is the check result normal?
|
|
|
Replace the ignition coil.
|
|
|
|

|
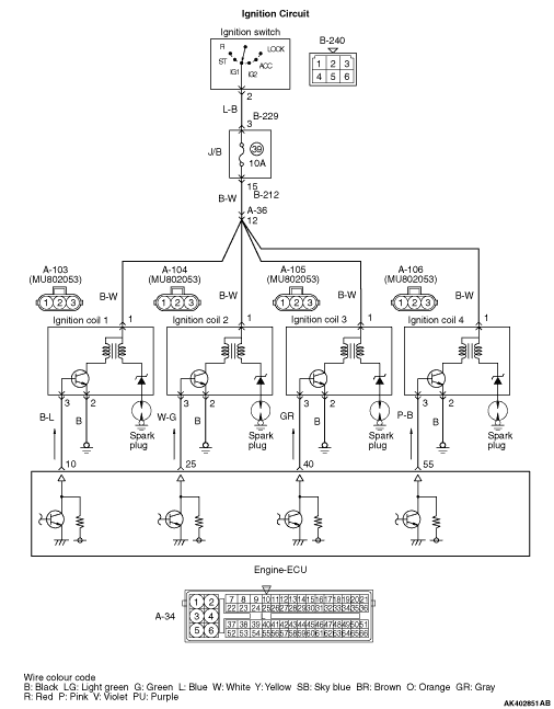
- Disconnect connector, and measure at harness side.
- Ignition switch: ON
- Voltage between terminal No. 1 and earth.
OK: System voltage
Q.
Is the check result normal?
Go to Step 6 .
Go to Step 5 .
|


|
Q.
Is the check result normal?

Check intermediate connectors A-36,
B-229 and B-212, and repair if necessary. If intermediate connectors are normal, check and repair
harness between ignition switch connector and ignition coil connectors
- Check and repair harness between B-240 (terminal
No. 2) ignition switch connector and A-103 (terminal No. 1) No. 1 ignition coil connector
- Check and repair harness between B-240 (terminal No. 2) ignition switch connector
and A-104 (terminal No. 1) No. 2 ignition coil connector
- Check and repair harness between B-240 (terminal No. 2) ignition switch connector
and A-105 (terminal No. 1) No. 3 ignition coil connector
- Check and repair harness between B-240 (terminal No. 2) ignition switch connector
and A-106 (terminal No. 1) No. 4 ignition coil connector
- Check power supply line for open/short circuit.
Repair or replace the connector.
|

|
- Disconnect connector, and measure at harness side.
- Engine: Cranking
- Voltage between terminal No. 3 and earth.
OK: 0.5 - 4.0 V
Q.
Is the check result normal?
Go to Step 12 .
Go to Step 7 .
|


|
- Disconnect the engine-ECU connector, and connect special tool power plant
ECU check harness (MB991987), and then measure the voltage on the check connector.
- Disconnect A-103, A-104, A-105 and A-106 ignition coil connectors.
- Engine: Cranking
- Voltage between terminal No. 10 and earth, between terminal No. 25 and earth, between
terminal No. 40 and earth also between terminal No. 55 and earth.
OK: 0.5 - 4.0 V
Q.
Is the check result normal?
Go to Step 8 .
Go to Step 9 .
|


|
Q.
Is the check result normal?

Check and repair harness between ignition
coil connector and engine-ECU connector.
- Check and repair harness between A-103 (terminal
No. 3) No. 1 ignition coil connector and A-34 (terminal No. 10) engine-ECU connector.
- Check and repair harness between A-104 (terminal No. 3) No. 2 ignition coil connector
and A-34 (terminal No. 25) engine-ECU connector.
- Check and repair harness between A-105 (terminal No. 3) No. 3 ignition coil connector
and A-34 (terminal No. 40) engine-ECU connector.
- Check and repair harness between A-106 (terminal No. 3) No. 4 ignition coil connector
and A-34 (terminal No. 55) engine-ECU connector.
- Check output line for open circuit.
Repair or replace the connector.
|

|
Q.
Is the check result normal?
Go to Step 10 .
Repair or replace the connector.
|


|
- Check and repair harness between A-103 (terminal
No. 3) No. 1 ignition coil connector and A-34 (terminal No. 10) engine-ECU connector.
- Check and repair harness between A-104 (terminal No. 3) No. 2 ignition coil connector
and A-34 (terminal No. 25) engine-ECU connector.
- Check and repair harness between A-105 (terminal No. 3) No. 3 ignition coil connector
and A-34 (terminal No. 40) engine-ECU connector.
- Check and repair harness between A-106 (terminal No. 3) No. 4 ignition coil connector
and A-34 (terminal No. 55) engine-ECU connector.
- Check output line for short circuit.
Q.
Is the check result normal?
Go to Step 11 .
Repair the damaged harness wire.
|
|
|
Q.
Does trouble symptom persist?
|
|
|
Replace the engine-ECU then perform the variant coding (Refer to GROUP 00 - Precautions
Before Service - How to Perform Variant Coding ).
|
|
|
|
|
|
Intermittent malfunction (Refer to GROUP 00 - How to Use Troubleshooting/Inspection
Service Points - How to Cope with Intermittent Malfunctions ).
|
|
|
|

|
- Disconnect connector, and measure at harness side.
- Resistance between terminal No. 2 and earth.
OK: Continuity (2 Ω or less)
Q.
Is the check result normal?
Go to Step 13.

Check and repair harness between ignition
coil connectors and body earth
- Check and repair harness between A-103 (terminal
No. 2) No. 1 ignition coil connector and body earth
- Check and repair harness between A-104 (terminal No. 2) No. 2 ignition coil connector
and body earth
- Check and repair harness between A-105 (terminal No. 2) No. 3 ignition coil connector
and body earth
- Check and repair harness between A-106 (terminal No. 2) No. 4 ignition coil connector
and body earth
- Check earthing line for open circuit and damage.
|


|
- Check and repair harness between B-240 (terminal
No. 2) ignition switch connector and A-103 (terminal No. 1) No. 1 ignition coil connector
- Check and repair harness between B-240 (terminal No. 2) ignition switch connector
and A-104 (terminal No. 1) No. 2 ignition coil connector
- Check and repair harness between B-240 (terminal No. 2) ignition switch connector
and A-105 (terminal No. 1) No. 3 ignition coil connector
- Check and repair harness between B-240 (terminal No. 2) ignition switch connector
and A-106 (terminal No. 1) No. 4 ignition coil connector
| note |
Before checking harness, check intermediate connectors A-36, B-212 and B-229, and repair
if necessary.
|
- Check power supply line for damage.
Q.
Is the check result normal?
Go to Step 14 .
Repair the damaged harness wire.
|


|
- Check and repair harness between A-103 (terminal
No. 3) No. 1 ignition coil connector and A-34 (terminal No. 10) engine-ECU connector.
- Check and repair harness between A-104 (terminal No. 3) No. 2 ignition coil connector
and A-34 (terminal No. 25) engine-ECU connector.
- Check and repair harness between A-105 (terminal No. 3) No. 3 ignition coil connector
and A-34 (terminal No. 40) engine-ECU connector.
- Check and repair harness between A-106 (terminal No. 3) No. 4 ignition coil connector
and A-34 (terminal No. 55) engine-ECU connector.
- Check output line for damage.
Q.
Is the check result normal?
Go to Step 11 .
Repair the damaged harness wire.
|