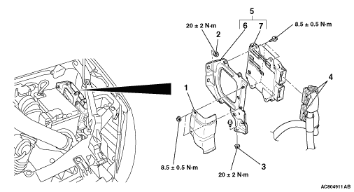
REMOVAL AND INSTALLATION



caution
  • When the engine-ECU replacement is performed, always refer to GROUP 54A, Ignition Switch - Encrypted Code Registration Criteria Table .
  • After the engine-ECU is replaced, idling speed may be unstable because the MPI engine learning is not completed. To make it stable, make the system learn the idling (Refer to GROUP 00, Precautions before Service - Learning Procedure for Idling in MPI Engine ).
Pre-removal and Post-installation Operation
  • Battery Removal and Installation (Refer to GROUP 54A, Battery ).





Removal steps

>>A<<
·
Initialisation <Installation only>

>>A<<
·
Variant coding <Installation only>


1.
Engine-ECU protector


2.
Engine-ECU and bracket assembly mounting nut
<<A>>

3.
Engine-ECU and bracket assembly mounting bolt and nut


4.
Engine-ECU connector connection


5.
Engine-ECU and bracket assembly


6.
Engine-ECU bracket


7.
Engine-ECU

REMOVAL SERVICE POINT



<<A>> ENGINE-ECU AND BRACKET ASSEMBLY MOUNTING BOLT AND NUT REMOVAL



1.Remove the clip of the splash shield (L.H.) shown in the figure.

2.Turn up the splash shield (L.H.), and loosen the mounting nut of the engine-ECU and bracket assembly shown in the figure. Then, remove the mounting bolt and nut of the engine-ECU and bracket assembly.

INSTALLATION SERVICE POINT



>>A<< VARIANT CODING/INITIALISATION


1.When the engine-ECU is replaced, perform the variant coding (Refer to GROUP 00, Precautions Before Service - How to Perform Variant Coding ).
2.After the variant coding, initialise the electronic-controlled throttle valve system as following procedure.
(1) Turn the ignition switch from "ON" position to "LOCK" (OFF) position, and then hold "LOCK" (OFF) position for approximately 10 seconds or more.