BASE ENGINE



CYLINDER HEAD


The cylinder head is made of aluminum alloy, which is lightweight and has an excellent cooling efficiency.
The pentroof type combustion chamber has a spark plug in the center. The valve angle is relatively small, contributing to size reduction.
The intake and exhaust ports are arranged in a cross-flow construction. Each cylinder has a pair of intake ports on one side and a pair of exhaust ports on the other side.
Each of the intake and exhaust camshafts is supported by 5 bearings. On each camshaft, the thrust load is supported by No. 1 bearing. The No. 1 bearings for the intake and exhaust camshafts have a common bearing cap.



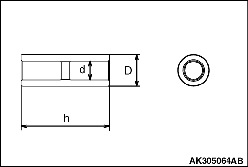
VALVE SEAT




Sintered alloy valve seat
Item
Intake
Exhaust
D (Outer diameter) mm
31.5
28
d (Inner diameter) mm
26
22
h (height) mm
6.6
7.3

VALVE GUIDE




The intake and exhaust valves use the same-design valve guide.
Item
Intake
D (Outer diameter) mm
10.5
d (Inner diameter) mm
5
h (height) mm
34.5

CYLINDER HEAD GASKET




The metal gasket having the one layer of wave stopper is used for the cylinder head gasket.

CYLINDER HEAD COVER




A resin cylinder head cover is used for the cylinder head.
The oil plate and the oil seal are integrated with the cylinder head cover assembly.

CYLINDER BLOCK




The cylinder block is made of lightweight aluminum alloy.
The crankshaft journal is supported by 5 bearings. The crankshaft thrust load is supported by No. 4 bearing.
The water jacket is of a full-siamese design.
A nipple is provided at the front of the block to supply engine oil onto the timing chain.
Item
Dimension
Overall height mm
280
Overall length mm
375.1
Top face to crankshaft center mm
205
Crankshaft center to bottom face mm
75
Bore mm
75
Bore pitch mm
83
Stroke mm
135930
75.4
135950
84.8

REAR OIL SEAL CASE




The rear oil seal case is a sheet-metal work. The case is installed with sealant applied onto the mounting face to prevent oil leakage.

PISTON




The piston is made of special aluminum alloy. Weight reduction is achieved by minimizing the overall height while maximizing the recess on both ends of the piston pin.
The center of the piston pin hole is offset by 0.5 mm from the center of the piston towards the thrust side.
The piston skirt has a streak finish to enhance oil retention and anti-seizing property.
Item
Dimension
Base diameter mm
75
Pin diameter mm
18
Overall height mm
135930 AS&G exclud
50.46
135930 AS&G
53.8
135950
46.04
*Automatic Stop & Go system (AS&G)

PISTON PIN




The piston pin is of a semi-floating type, press-fitted into the connecting rod small end while capable of floating relative to the piston.
Item
Dimension
D (Outer diameter) mm
18
d (Inner diameter) mm
11
h (Overall length) mm
50

PISTON RING




Each piston is provided with No. 1 and No. 2 compression rings and an oil ring.
Item
No. 1 piston ring
No. 2 piston ring
Oil ring
Shape
Barrel
Tapered
3-piece
Surface treatment (Contact face with cylinder) <135950 FFV exclud>
Nitride coated
Parkerized
Parkerized
Surface treatment (Contact face with cylinder) <135950 FFV>
Nitride coated
Parkerized
Nitride coated
Maker mark <135930 ASG exclud>
R
2R
No marking
Maker mark <135930 ASG>
No marking
2R
No marking
*Automatic Stop & Go system (AS&G)

CONNECTING ROD




The connecting rod is made of highly rigid, forged carbon steel. The rod portion has an H-shaped cross section.
The connecting rod big end bearing is lubricated through an oil passage running from the main journal to the crankshaft pin.
Item

Dimension
d (Small end inner diameter) mm
18
D (Large end inner diameter) mm
43
L (Center distance) mm
135930
140.3
135950
135.6

CONNECTING ROD BEARING




The upper and lower connecting rod bearing halves are identical.
The connecting rod bearing is equipped with back metal. While the bearing itself is made of aluminum alloy, the back metal is normally made of steel sheet.
The connecting rod bearing is narrower than the bearing cap, this is to minimize wear.
Item
Dimension
H (Width) mm
13.5
A (Thickness) mm
1.5

CRANKSHAFT




A casted crankshaft is used for the crankshaft.
The crankshaft consists of 5 main bearings and 4 balance weights for 135930 or consists of 5 main bearings and 8 balance weights for 135950.
The crankshaft pins are arranged at 180° intervals.
The oil hole supply lubrication oil from the journal to the crank pin.
A crankshaft sprocket and an oil pump drive gear shaft are press-fitted onto the front of the crankshaft.
The crankshaft is also fitted with a crankshaft sensing ring.

CRANKSHAFT BEARING, THRUST BEARING




The upper crankshaft bearing (with oil groove) is located on the cylinder block side while the lower bearing (without oil groove) is held by the bearing cap.
The crankshaft bearing is equipped with back metal. While the bearing itself is made of aluminum alloy, the back metal is made of steel sheet.
A thrust bearing is installed on both sides of the No. 4 crankshaft bearing.
Item
Dimension
Crankshaft bearing
Width mm
16
Thickness mm
20
Crankshaft thrust bearing
Thickness
mm
135930
3.275
135950
3.275

CRANKSHAFT PULLEY




A steel billet crankshaft pulley is used for 135930.
The pulley has grooves to engage with a V-ribbed belt (5 ribs), which drives an alternator and a water pump.
An ignition timing mark (notch) is stamped on the flange of the pulley.
The crankshaft pulley for 135950 is equipped with a torsional damper to minimize the torsional vibration of the crankshaft as well as substantially reduce noise and vibration at the high speed range.

FLYWHEEL




The flywheel is made of cast-iron. A separate ring gear is mounted on it.

TIMING CHAIN TRAIN




The 2 camshafts are driven by the timing chain via the respective sprockets.
The timing chain, consisting of 122 links, is an endless chain, connecting the crankshaft sprocket with the camshaft and V.V.T. sprockets.
The timing chain is equipped with 3 mark link plates (blue) to correctly time the 3 sprockets with each other.
The timing chain is tensioned by the timing chain tensioner, which has a built-in plunger with plunger springs.
Item
No. of teeth
Camshaft sprocket
36
V.V.T. sprocket
36
Crankshaft sprocket
18

TIMING CHAIN TENSIONER




The plunger in the timing chain tensioner directly pushes the tension lever, and the pressure automatically adjusts the timing chain tension.
A cam is provided to lock the plunger in place after the engine stops. This helps prevent the timing chain from wobbling just after the engine starts.
With the timing chain tensioner installed, do not crank the engine in the reverse direction. This will force the plunger to overcome the cam, or even cause other problems.

VALVE MECHANISM




The valve mechanism is based on a 4-valve DOHC (Double Over Head Camshaft) design having the camshaft on the upper valve. Each cylinder has 2 intake valves and 2 exhaust valves, arranged in a V-shape pattern.
Camshaft rotation is transmitted via valve tappets to the respective valves which open and close accordingly.

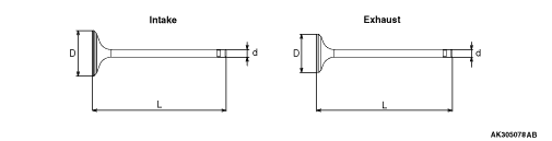
VALVE




The valves have heat-resistance. The entire valve surface is treated with gas nitriding.
Item
Intake valve
Exhaust valve
Head diameter mm
30.5
25.5
Stem diameter mm
5.0
5.0
Overall length mm
89.61
90.94

VALVE STEM SEAL




The valve stem seal employs springs to enhance sealing performance, minimizing oil passing down to the port.

VALVE SPRING




The valve spring has a dual pitch spring to prevent surging in the high speed range.
Item
Specification
Free length mm
43.1
No. of spring turns
8.49

VALVE TAPPET




Valve tappets are available in 31 thicknesses, at 0.02 mm intervals between 2.70 mm and 3.30 mm, to ensure correct valve clearance.

MIVEC (MITSUBISHI INNOVATIVE VALVE TIMING ELECTRONIC CONTROL SYSTEM)




MIVEC (Mitsubishi Innovative Valve timing Electronic Control system) consists of the components illustrated above.
The intake valve timing is optimally controlled (continuously variable) under the changing driving conditions to improve power in the entire speed range.

V.V.T. SPROCKET (VARIABLE VALVE TIMING SPROCKET)




Oil from the oil control valve is sent to the V.V.T. sprocket, moving the vane rotor and thus regulating the valve timing.

CAMSHAFT




The lightweight camshaft is achieved by the hollow design.
Oil channels run through the intake camshaft, through which oil is sent from the oil control valve to the V.V.T. sprocket.
A cam position sensing ring is press-fitted onto the rear portion of the intake camshaft.
Item
Dimension
Overall length mm
Intake
407.5
Exhaust
361.9
Journal mm
26
Valve lift mm
Intake
135930
7.9
135950
8.4
Exhaust
135930
7.6
135950
7.9

OIL CONTROL VALVE (OCV)




The oil control valve is essentially a solenoid valve, regulated by the engine-ECU or engine-A-M/T-ECU signals to feed oil to the V.V.T. sprocket assembly to move the vane rotor.

TIMING CHAIN CASE




The engine support bracket, the oil pump and the relief valve are integrated as well as water chamber of the water pump.