UNDER BODY



FRONT FLOOR


The front floor pan has been curved to suppress vibration and noise.

1.
Backbone crossmember
2.
Backbone crossmember centre
3.
Front floor pan
4.
Front floor crossmember front
5.
Front floor backbone reinforcement
6.
Seat bracket
7.
Front seat side bracket
8.
Front floor side sill inner
9.
Front floor crossmember reinforcement <T/C>

REAR FLOOR



1.
Rear floor reinforcement front
2.
Rear floor rear seat under crossmember
3.
Rear seat bracket
4.
Rear seat hinge bracket
5.
Rear floor pan
6.
Spare tyre bracket
7.
Rear seat bracket
8.
Rear seat hook side bracket
9.
Rear floor reinforcement rear
10.
Rear seat split bracket
11.
Exhaust muffler hanger
12.
Rear seat bracket centre
13.
Rear seat plate nut
14.
Rear floor crossmember
15.
Rear floor sidemember

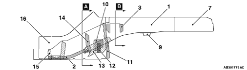
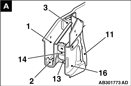
REAR FLOOR SIDEMEMBER REINFORCEMENT




<COLT>
1.
Rear floor sidemember
2.
Rear floor sidemember reinforcement front
3.
Rear seat belt bracket
4.
Rear floor crossmember extension
5.
Rear floor crossmember extension reinforcement <T/C>
6.
Muffler hanger (Right side)
7.
Rear floor sidemember extension
8.
Brake hose bracket
9.
Spring sheet
10.
Rear floor brace plate
11.
Rear floor side sill inner extension
12.
Pipe nut
13.
Rear floor sidemember brace rear
14.
Rear floor sidemember bulkhead B
15.
Rear floor sidemember brace front
16.
Rear floor side sill inner






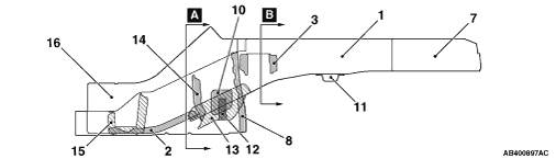
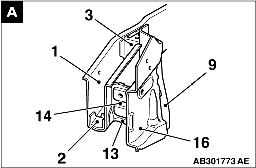
<COLT CZ3/CZT>
1.
Rear floor sidemember
2.
Rear floor sidemember reinforcement front
3.
Rear seat belt bracket
4.
Rear floor crossmember extension
5.
Rear floor crossmember extension reinforcement <T/C>
6.
Muffler hanger (Right side)
7.
Rear floor sidemember extension
8.
Brake hose bracket
9.
Rear floor side sill inner extension
10.
Rear floor brace plate
11.
Spring sheet
12.
Pipe nut
13.
Rear floor sidemember brace rear
14.
Rear floor sidemember bulkhead B
15.
Rear floor sidemember brace front
16.
Rear floor side sill inner