ROOF <COLT CZ3/CZT>




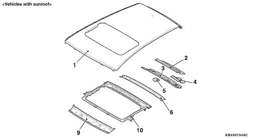
1.
Roof panel
2.
Roof rail rear outer
3.
Roof rail rear inner
4.
Tailgate hinge reinforcement
5.
Roof antenna reinforcement
6.
Roof bow rear
7.
Roof bow reinforcement
8.
Roof bow centre
9.
Roof rail front
10.
Roof panel reinforcement