Блок управления системой, антенну и датчик удара разрешается устанавливать только в салоне автомобиля.
Монтаж соединений электропроводки следует производить при отключенных разъемах системы.
Датчик удара устанавливается в соответствие с рекомендациями по его установке, содержащимися в документации к датчику.
Оборудование, не входящее в комплект поставки системы, такое как сирена, концевые выключатели, реле и другое устанавливается и подключается к системе в соответствии с рекомендациями по его установке, и в соответствии с требованиями, содержащимися в данном документе.
При подключении электроприводов замков дверей помните, что их суммарное потребление не должно превышать 15 А.
Система подключается к электрооборудованию автомобиля и другому оборудованию жгутами проводов, входящими в комплект поставки.
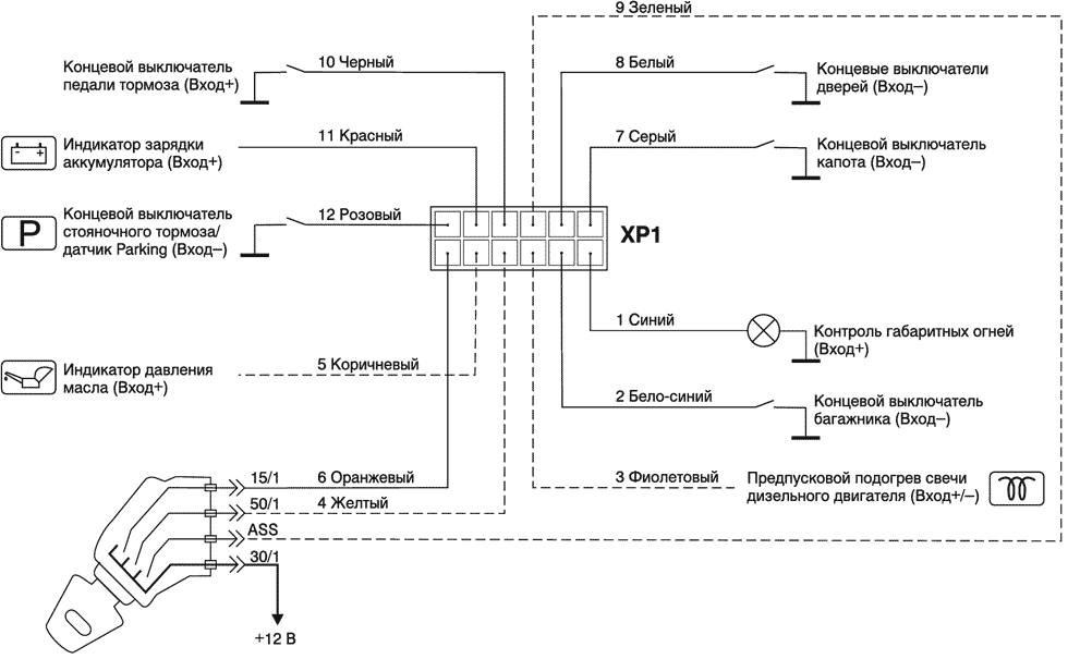
На рисунке 1 показано расположение разъемов на блоке управления.

Рис. 1. Расположение разъемов блока управления.
Таблица 1. Разъем ХР1.
| Номер контакта | Цвет провода | Назначение | Комментарий |
|---|---|---|---|
| 1 | Синий | Контроль габаритных огней | Вход (+) |
| 2 | Бело-синий | Контроль датчика багажника | Вход (-) |
| 3 | Фиолетовый | Контроль датчика предпускового подогрева свечи дизельного двигателя | Вход с автоматическим определением полярности |
| 4 | Желтый | Контроль включения стартера | Вход (+) |
| 5 | Коричневый | Контроль датчика давления масла | Вход (+) |
| 6 | Оранжевый | Контроль включения зажигания | Вход (+) |
| 7 | Серый | Контроль датчика капота | Вход (-) |
| 8 | Белый | Контроль датчика дверей | Вход (-) |
| 9 | Зеленый | Контроль включения питания аксессуаров | Вход (+) |
| 10 | Черный | Контроль датчика педали тормоза | Вход (+) |
| 11 | Красный | Контроль датчика зарядки аккумулятора | Вход (+) |
| 12 | Розовый | Контроль датчика стояночного тормоза/датчика Parking | Вход (-) |

Провода, обозначенные пунктиром, не подключать.
Таблица 2. Разъем XP7.
| Номер контакта | Цвет провода | Назначение | Комментарий |
|---|---|---|---|
| 1 | Черный | Корпус | Подсоединяется к кузову автомобиля или минусовой клемме аккумулятора |
| 2 | Синий | Выход на указатели поворотов, правый борт | +12 В, максимально 5 А |
| 3 | Бело-красный | Выход на управление реле Hook-Up или Wait Up. | Подробно в разделе "Установка реле Hook-Up и Wait Up" |
| 4 | Красный | Питание системы | +12 В через предохранитель 1 А |
| 5 | Оранжевый | Контроль тахометрического датчика | Вход 1,5-300 В |
| 6 | Коричневый | Контроль датчика давления масла | Вход (-) |
| 7 | Красный | Реле отпирания замков дверей | Нормально-разомкнутый контакт реле |
| 8 | Белый | Выход на сирену | +12 В, максимально 5 А |
| 9 | Синий | Выход на указатели поворотов, левый борт | +12 В, максимально 5 А |
| 10 | Черный | Реле запирания замков дверей | Нормально-замкнутый контакт реле |
| 11 | Красный | Вход для питания указателей поворотов | +12 В через предохранитель 10 А |
| 12 | Фиолетовый | Реле запирания замков дверей | Общий контакт реле |
| 13 | Красный | Реле запирания замков дверей | Нормально-разомкнутый контакт реле |
| 14 | Черный | Реле отпирания замков дверей | Нормально-замкнутый контакт реле |
| 15 | Фиолетовый | Реле отпирания замков дверей | Общий контакт реле |
| 16 | Белый | Вход для питания сирены | +12 В через предохранитель 5 А |

Провода, обозначенные пунктиром, не подключать.
Двенадцать таймерных каналов могут использоваться для управления различными устройствами. Выбор вариантов использования каналов определяется наличием исполнительных устройств и пожеланиями владельца автомобиля. Условия срабатывания таймерных каналов, временные параметры и управляющие команды брелока программируются с помощью программатора PR-501 и компьютера. Программирование осуществляется по радиоканалу и его можно производить как до, так и после окончательной установки системы.
Таймерный канал 9 предназначен для управления электроприводом замка багажника и не подлежит настройке при программировании.
Таблица 3 . Разъем XP12.
| Номер контакта | Цвет провода | Назначение | Комментарий |
|---|---|---|---|
| 1 | Зеленый | Таймерный канал 9. Управление замком багажника. | Выход (-), максимальный ток 350 мА |
| 2 | Бело-красный | Таймерный канал 8 | Выход (-), максимальный ток 350 мА |
| 3 | Фиолетовый | Таймерный канал 11 | Выход (-), максимальный ток 350 мА |
| 4 | Розовый | Таймерный канал 1 | Выход (-), максимальный ток 350 мА |
| 5 | Синий | Таймерный канал 4 | Выход (-), максимальный ток 350 мА |
| 6 | Бело-синий | Таймерный канал 2 | Выход (-), максимальный ток 350 мА |
| 7 | Желтый | Таймерный канал 13 | Выход (-), максимальный ток 350 мА |
| 8 | Белый | Таймерный канал 12 | Выход (-), максимальный ток 350 мА |
| 9 | Оранжевый | Таймерный канал 10 | Выход (-), максимальный ток 350 мА |
| 10 | Черный | Таймерный канал 0 | Выход (-), максимальный ток 350 мА |
| 11 | Коричневый | Таймерный канал 5 | Выход (-), максимальный ток 350 мА |
| 12 | Красный | Таймерный канал 3 | Выход (-), максимальный ток 350 мА |
Антенна системы устанавливается в салоне автомобиля на верхней части лобового стекла, как показано на рис. 2. Корпус антенны и "усы" крепятся к стеклу двусторонней клеящей лентой, входящей в комплект поставки системы. С блоком управления антенна соединяется кабелем, входящим в комплект поставки (см. рис. 1).

Рис. 2.
Система позволяет управлять дверными замками различных типов и с разной длительностью управляющего сигнала. Ниже приведена схема выходных цепей управления дверными замками.

Описание работы реле WAIT UP
При запуске двигателя реле WAIT UP находится в замкнутом состоянии и дает двигателю нормально запуститься. При получении кодированного сигнала разрешения от блока управления реле WAIT UP остается в замкнутом состоянии до получения кодированного сигнала блокировки и последующего изменения скорости движения автомобиля. При следующем запуске двигателя весь процесс повторяется.
Если сигнал разрешения не был получен, или получен сигнал блокировки, то, как только автомобиль начнет движение, произойдет размыкание цепи блокировки на 3 секунды. Если автомобиль продолжает движение, то происходит повторное размыкание блокируемой цепи. После остановки автомобиля реле снова принимает нормально замкнутое состояние. При следующем запуске двигателя весь процесс повторяется.
Реле WAIT UP промаркировано одной белой полосой.
Описание работы реле HOOK-UP
Реле типа HOOK UP типа B отключает и включает блокировку по командам блока управления. При включении блокировки блокируемая цепь в течение 15 с периодически размыкается и замыкается, после чего окончательно размыкается. Такой алгоритм блокировки имитирует неисправность автомобиля и позволяет перед окончательной блокировкой снизить скорость движущегося автомобиля до безопасного значения.
Рекомендуется использовать реле типа B для блокировки цепей зажигания и цепей питания топливного насоса.
Буквенный индекс после типа реле (например, реле типа BM) указывает на вариант исполнения реле. Для реле с индексом "М" соблюдение полярности не требуется.
Реле HOOK UP типа BM промаркировано одной красной точкой.
При выборе блокируемой цепи и алгоритма блокировки необходимо иметь ввиду, что блокировка во время движения автомобиля не должна приводить к снижению управляемости автомобиля и, как следствие, к созданию аварийных ситуаций. Компания "Альтоника" не несет ответственности при несоблюдении данного требования.
Установка реле HOOK-UP и реле WAIT UP
Вывод 3 (бело-красный провод) разъема XP7 блока управления - передача кода для управления реле HOOK-UP, WAIT UP.
Реле HOOK-UP типа BM и реле WAIT UP:
при подаче питания на выводы 85 и 86 реле соблюдение полярности не требуется; прием кодированных сигналов управления от блока осуществляется через вывод реле, на который подается питание +12 В.
Не допускается установка реле WAIT UP вместо штатного реле автомобиля, так как выводы 87-30 являются нормально замкнутыми.
Вывод 3 (бело-красный провод) разъема XP7 блока управления подсоединяется к проводу, идущему от контакта 15/1 (зажигание включено) замка зажигания.
При подключении и выборе места установки дистанционно управляемых реле HOOK-UP и реле WAIT UP длина провода связи между выводом 3 разъема XP7 блока управления и выводом приема сигналов управления реле должна быть минимальна.
Сопротивление цепи между выводом 3 разъема XP7 блока управления и выводом приема сигналов управления дистанционно управляемого реле HOOK-UP и реле WAIT UP должно быть не более 1,5 Ом.
При включенном зажигании на выводе приема сигналов управления реле HOOK-UP и реле WAIT UP постоянно должно быть +12 В.
Не допускается подключать реле HOOK-UP и реле WAIT UP к цепи, в которой при работе двигателя напряжение +12 В на выводе приема сигналов управления реле или "корпус" на выводе "земляной" шины питания реле будут временно пропадать.
Если +12 В на вывод приема сигналов управления дистанционно управляемого реле поступает не прямо с контакта замка зажигания, а через какое-либо устройство (например, компьютер), то вывод 3 разъема XP7 блока управления должен быть подключен к той же цепи, что и вывод приема сигналов управления реле.
Элемент системы автомобиля, цепь которого блокируется, необходимо подключать к выводу 30 дистанционно управляемого реле.
Дистанционно управляемые реле HOOK-UP и реле WAIT UP рассчитаны на блокировку цепей с током не более 20 А. Для блокировки цепей с большим током необходимо использовать дополнительное реле.
Схемы подключения дистанционно управляемых реле HOOK-UP и реле WAIT UP приведены ниже.
В комплект поставки системы входит дистанционно управляемое реле HOOK-UP или реле WAIT UP, в которое код системы еще не записан. Перед использованием реле необходимо произвести запись кода системы в память реле. Для этого после установки всех компонентов системы на автомобиль снимите его с охраны (кнопка 2 брелока) и включите зажигание на 5 секунд не запуская двигатель. Код системы будет записан в память реле. Заведите двигатель и убедитесь в правильном функционировании реле.
После того, как код системы записан в реле, запись другого кода в реле невозможна. Для удаления ошибочно записанного в реле HOOK-UP или реле WAIT UP кода обращайтесь к официальным представителям компании "Альтоника".


Программирование системы осуществляется в два этапа: ручное программирование и программирование с помощью компьютера.
Для входа в режим программирования выполните следующие действия:
Перевести систему в режим программирования можно с помощью секретного кода (см. раздел "Управление системой без брелока" Руководства пользователя).
Перейдите на нужный уровень программирования. Для этого нажмите на кнопку VALET количество раз, равное номеру уровня. Каждое нажатие на кнопку подтверждается коротким звуковым сигналом и зеленой вспышкой индикатора. Переход на нужный уровень программирования система подтверждает соответствующим количеством коротких звуковых сигналов.
Перейти с одного уровня программирования на другой можно только после выхода в начало программирования. Для этого нажмите кнопку VALET и удерживайте ее до двукратного звукового сигнала системы, после чего тут же отпустите кнопку. Индикатор системы должен светиться оранжевым светом.
Система может находиться в режиме программирования без проведения операций программирования в течение 10 минут. После этого система выходит из режима, сообщая об этом мелодичным звуковым сигналом.
Уровень 1. Прописывание в систему антенны.
К моменту перехода на этот уровень антенна должна быть подключена к блоку управления. Успешное завершение операции сопровождается звуковым сигналом.
Уровень 2. Прописывание в систему первого брелока.
На этом уровне индикатор системы горит красным светом. К моменту перехода на этот уровень первый брелок должен быть выключен.
Включите брелок, одновременно удерживая нажатыми кнопки 3 и 4 до звукового сигнала брелока.
Успешное завершение сопровождается одинарными звуковыми сигналами блока управления и брелока и выходом в начало режима программирования.
Если система осталась на данном уровне программирования (при этом индикатор горит красным светом), выйдите в начало программирования и повторите операцию.
Уровень 3. Прописывание в систему второго брелока.
Аналогично уровню 2.
Уровень 4. Прописывание в систему третьего брелока.
Аналогично уровню 2.
Уровень 5. Программирование системы по радиоканалу с помощью персонального компьютера.
См. раздел "Программирование с помощью персонального компьютера".
Уровень 6. Настройка датчика 1.
На этом уровне индикатор системы горит оранжевым светом.
К моменту перехода на этот уровень первый датчик должен быть подключен. Прохождение команд из таблицы 4 подтверждается зеленой вспышкой индикатора системы, однократным миганием указателей поворота и звуковым сигналом. Не выходя из данного уровня программирования можно проверить настройку датчика реальным воздействием. При этом сигнал предупреждения (WARNING) показывается однократным миганием указателей поворота и однократными звуковыми сигналами системы и сирены. Тревожный сигнал (ALARM) показывается двумя миганиями указателей поворота и двумя короткими звуковыми сигналами системы и сирены.
Таблица 4.
| Команда брелока | Действие |
|---|---|
| 1 | увеличить чувствительность по предупредительной зоне на 1 |
| 1 -> 1 | увеличить чувствительность по предупредительной зоне на 10 |
| 2 | уменьшить чувствительность по предупредительной зоне на 1 |
| 2 -> 2 | уменьшить чувствительность по предупредительной зоне на 10 |
| 1 -> 1 -> 1 или 2 -> 2 -> 2 | обучить систему на сигнал, соответствующий предупредительному уровню (можно прервать любой кнопкой) |
| 3 | увеличить чувствительность по тревожной зоне на 1 |
| 3 -> 3 | увеличить чувствительность по тревожной зоне на 10 |
| 4 | уменьшить чувствительность по тревожной зоне на 1 |
| 4 -> 4 | уменьшить чувствительность по тревожной зоне на 10 |
| обучить систему на сигнал, соответствующий тревожному уровню (можно прервать любой кнопкой) |
Уровень 7. Настройка датчика 2.
Аналогично уровню 6.
Уровень 8. Настройка датчика 3.
Аналогично уровню 6.
Уровень 9.
Программирование звуковых сигналов блока управления.
На этом уровне индикатор горит оранжевым светом.
Таблица 5.
| Команда брелока | Действие |
|---|---|
| 1 | разрешить звуковой сигнал нажатий на кнопку VALET |
| 1 -> 1 | запретить звуковой сигнал нажатий на кнопку VALET |
| 2 | разрешить звуковой сигнал включения ПОДДЕРЖКИ ЗАЖИГАНИЯ |
| 2 -> 2 | запретить звуковой сигнал включения ПОДДЕРЖКИ ЗАЖИГАНИЯ |
| 3 | разрешить звуковой сигнал ВКЛЮЧЕНЫ ГАБАРИТНЫЕ ОГНИ |
| 3 -> 3 | запретить звуковой сигнал ВКЛЮЧЕНЫ ГАБАРИТНЫЕ ОГНИ |
| 4 | разрешить звуковой сигнал ВКЛЮЧЕНА АВТОПОСТАНОВКА ПО ПЕРИМЕТРУ |
| 4 -> 4 | запретить звуковой сигнал ВКЛЮЧЕНА АВТОПОСТАНОВКА ПО ПЕРИМЕТРУ |
Прохождение разрешающих команд подтверждается однократными звуковыми сигналами системы и брелока, а запрещающих - двумя звуковыми сигналами.
Уровень 10. Программирование сирены.
На этом уровне индикатор горит оранжевым светом.
При прохождении команд 1, 2, 3 и 4 сирена включается на 3 секунды и демонстрирует выбранный вариант звучания в режимах "Тревога" и "Паника".
Таблица 6.
| Команда брелока | Действие |
|---|---|
| 1 | 1 вариант звучания сирены. Прохождение команды подтверждается звучанием сирены и однократным коротким звуковым сигналом системы и брелока. |
| 2 | 2 вариант звучания сирены. Прохождение команды подтверждается звучанием сирены и двухкратным звуковым сигналом системы и брелока. |
| 3 | 3 вариант звучания сирены. Прохождение команды подтверждается звучанием сирены и трехкратным звуковым сигналом системы и брелока. |
| 4 | 4 вариант звучания сирены. Прохождение команды подтверждается звучанием сирены и четырехкратным звуковым сигналом системы и брелока. |
| 1 -> 1 -> 3 -> 1 | Разрешить сигналы сирены при постановке и снятии с охраны |
| 1 -> 1 -> 3 -> 2 | Запретить сигналы сирены при постановке и снятии с охраны |
| 1 -> 1 -> 4 -> 1 | Разрешить сигналы сирены при срабатывании сигнализации. Прохождение команды сопровождается фрагментом выбранного варианта звучания сирены. |
| Запретить сигналы сирены при срабатывании сигнализации |
Прохождение разрешающих команд подтверждается однократными звуковыми сигналами системы и брелока, а запрещающих - двумя звуковыми сигналами.
Уровень 11. Изменение секретного кода.
На этом уровне индикатор горит оранжевым светом.
Если новый код введен одинаково два раза, то система его запомнит, известит об этом четырьмя короткими звуковыми сигналами и выйдет в начало режима программирования.
Если при подтверждающем вводе кода произошла ошибка, то подтверждающие звуковые сигналы не прозвучат, а индикатор будет непрерывно светиться оранжевым светом. Система останется на 11 уровне программирования. Повторите попытку.
Для перехода с данного уровня в начало программирования без изменения секретного кода, на любом этапе выполнения операции нажмите и удерживайте кнопку VALET до двукратного звукового сигнала системы, после чего тут же отпустите кнопку. Индикатор системы будет светиться оранжевым светом.
Для выхода из режима программирования без изменения секретного кода поверните ключ зажигание в положение "зажигание включено". Для перехода с любого уровня в начало программирования нажмите и удерживайте кнопку VALET до двукратного звукового сигнала системы, после чего тут же отпустите кнопку. Индикатор системы будет светиться оранжевым светом.
Для полного выхода из режима программирования, находясь в начале программирования, нажмите и удерживайте кнопку VALET до мелодичного звукового сигнала системы, после чего отпустите кнопку.
Для полного выхода из режима программирования, находясь на любом уровне или в начале программирования, поверните ключ зажигание в положение "зажигание включено".
При наборе кнопкой VALET номеров уровней программирования или чисел секретного кода, пауза между нажатиями не должна превышать 0,8 секунды.
Программирование осуществляется по защищенному от несанкционированного доступа радиоканалу.
Войдите в режим ручного программирования и перейдите на пятый уровень. На этом уровне индикатор системы горит красным цветом.
К персональному компьютеру, расположенному на расстоянии не более 30 метров от автомобиля, должен быть подключен программатор PR-501.
Запустите программу reef500.exe и, следуя Руководству пользователя программатором, считайте информацию из системы, внесите необходимые изменения в настройки и запишите их в систему.
Если система при постановке на охрану с работающим двигателем контролирует частоту оборотов двигателя, то после установки и программирования необходимо обучить систему частоте холостых оборотов двигателя данного автомобиля.
При установке системы на контакт 5 разъема XP7 должен подаваться сигнал тахометра, а при компьютерном программировании должен быть разрешен контроль работы двигателя по сигналу тахометра.
Для проведения процедуры обучения:
Система запоминает текущее значение частоты оборотов двигателя. Успешное завершение процедуры подтверждается длинным звуковым сигналом системы и однократным миганием указателей поворота.
| Напряжение питания блока управления | 10...18В |
| Ток потребления в режиме охраны | не более 25 мА |
| Максимальный ток нагрузки, коммутируемый по выходу: | |
| сирена | 5А |
| световая сигнализация | 2x5А |
| цепь блокировки реле HOOK-UP и реле WAIT UP | 20 А |
| замки дверей | 10А |
| таймерные каналы | 0,35 А |
| Рабочий диапазон температур | - 40... + 85°С |
| Способ идентификации брелока | динамический диалог |