Сигнализация RED STAR 960N включает в себя центральный блок, размещаемый в салоне, сирену, устанавливаемую под капотом, датчик удара, светодиодный индикатор, размещаемый на видном месте в салоне и предназначенный для индикации состояния сигнализации. В комплект входят также 2 брелка дистанционного управления с питанием от батарейки. Для экстренного отключения сигнализации, например, при потере брелков, служит кнопка аварийного отключения, устанавливаемая в скрытом месте салона. Подключается сигнализация к аккумулятору автомобиля.
* Сигнализация может быть укомплектована любой сиреной по Вашему выбору (однотональной, шеститональной, с автономным питанием).
Автомобильная сигнализация RED STAR 960 защищает Ваш автомобиль таким образом, что у злоумышленников нет практически никаких шансов не только угнать автомобиль, но даже незаметно открыть его. Защищаются, т.е. являются охраняемыми зонами автомобиля: кузов, двери, капот, багажник, двигатель.
Сигнализация использует следующие способы защиты:
Ваша сигнализация предпринимает в случае опасности следующие защитные действия:
В случае опасности Вы можете с помощью брелка:
Сигнализация не только обеспечивает надежную защиту Вашего автомобиля, но и осуществляет целый ряд весьма полезных и удобных сервисных функций. Среди них:
Дополнительно с помощью брелка Вы сможете:
Управление сигнализацией RED STAR 960 осуществляется с помощью радиобрелка, который позволяет с расстояния в среднем до 10 метров передать сигнал-команду включения и выключения режимов защиты и управления сервисными функциями сигнализации. Следует иметь в виду, что в некоторых районах, например, вблизи аэропортов, промышленных предприятий, весьма высок уровень помех, которые могут сократить радиус действия брелка. В этих случаях следует включать и выключать сигнализацию, находясь поближе к автомобилю.
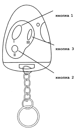
Брелок дистанционного управления
![]() |
кнопка 1
кнопка 3
кнопка 2
|
Со звуковыми сигналами подтверждения

Без звуковых сигналов подтверждения

Если в Ваше отсутствие была тревога - прозвучат 3 сигнала сирены и будет быстро мигать светодиодный индикатор.

Сигналы тревоги прекратятся после повторного нажатия кнопки 1.


или сигнал по второму каналу управления



Перед включением режима охраны следует убедиться в том, что зажигание выключено, в салоне автомобиля никого нет, а двери, капот и багажник закрыты. Режим охраны включается нажатием кнопки 1 брелка.
Сигнализация сообщит о переводе ее в режим охраны двумя вспыхиваниями габаритных огней и одним сигналом сирены. Произойдет запирание замков дверей (если, разумеется, в Вашем автомобиле установлены необходимые запирающие механизмы и они подключены к сигнализации). Через 5 секунд после нажатия кнопки брелка автомобиль будет находиться под надежной охраной Вашей сигнализации, светодиодный индикатор начнет мигать.
Внимание: Если после включения режима охраны дополнительно один раз вспыхнут габаритные огни, это означает, что не закрыты как следует двери, багажник или капот. Следует снять автомобиль с охраны, закрыть дверь (багажник, капот) и снова включить режим охраны. Если дополнительный сигнал появится все равно, то причина может быть в неисправной кнопке, тогда соответствующая зона будет временно отключена из контура охраны как дефектная. Все остальные датчики будут по-прежнему защищать Ваш автомобиль.
Режим охраны выключается нажатием кнопки 1 брелка. О своем выключении сигнализация сообщит тремя вспыхиваниями габаритных огней и двумя сигналами сирены. Произойдет отпирание замков дверей, погаснет светодиодный индикатор. Однако, если сигнализация срабатывала во время Вашего отсутствия, прозвучат три сигнала сирены (вместо двух обычных). Перед тем как выключить режим охраны, обратите внимание на состояние светодиодного индикатора, если он мигает быстро - значит сигнализация срабатывала, если медленно - значит срабатываний не было. Тревоги, вызванные датчиком удара, не запоминаются.
Ваша сигнализация устроена так, что если в течение 30 секунд после ее выключения двери автомобиля не были открыты, она автоматически вновь включит режим охраны. Это защищает сигнализацию от выключения случайным нажатием кнопки брелка, а также в случае, если Вы, отключив сигнализацию, измените свое намерение сесть в автомобиль, а включить режим охраны забудете. Сигнализация сделает это сама!
При вторжении в охраняемые зоны автомобиля (попытке открыть дверь, багажник, ударах по кузову и т.п.) сигнализация RED STAR 960 немедленно включит режим тревоги, при котором мигают габаритные огни и звучит мощная сирена, отпугивающая злоумышленника. Двигатель в течение всего периода охраны надежно блокирован.
Если дверь, багажник или капот будут открыты кратковременно, сигналы тревоги будут продолжаться в течение 50 секунд, а затем прекратятся. В том случае, если причина срабатывания сигнализации не устранена, например, дверь открыта и не закрыта, режим тревоги будет длиться 5 минут.
При срабатывании первого уровня датчика удара раздастся только короткий сигнал сирены, предупреждающий, что машина находится под охраной. Если удары будут продолжаться или будут сильней, сигналы тревоги прозвучат в полную мощность и будут продолжаться в течение 20 сек.
Чтобы прервать сигналы тревоги до их окончания, необходимо нажать кнопку 1 брелка, но тогда будет выключен и режим охраны. Для того, чтобы вернуться в режим охраны нужно повторно нажать кнопку 1 брелка.
При каждом отключении и последующей подаче питания автоматически включается режим тревоги. Для его выключения нужно нажать кнопку 1 брелка. Сигнализация снимется с охраны.
Режим "паника" - это кратковременный режим тревоги, который Вы можете использовать (независимо от того, включен режим охраны или нет) для привлечения внимания к автомобилю в случае опасности, отпугивания людей и животных и т.п. Для включения режима "паника" необходимо нажать и удерживать кнопку 1 брелка в течение 3 секунд. Световой и звуковой сигналы будут подаваться до момента повторного нажатия на кнопку 1.
Если в Вашем автомобиле оказался злоумышленник, собирающийся угнать машину, а Вы находитесь в радиусе действия брелка, т.е. не дальше 10 метров, одновременным нажатием кнопок 1 и 2 может быть включен режим "антиограбление". Это может быть сделано в любой момент при включенном или выключенном зажигании. Включение подтвердится однократным вспыхиванием габаритных огней.
Через 30 секунд после включения режима "антиограбление", за которые угонщик удалится на достаточное расстояние, чтобы не представлять угрозы для Вас, включатся предупредительные короткие сигналы сирены и еще через 20 секунд заблокируется двигатель и машина остановится. Сирена зазвучит на полную мощность, а также замигают "габариты". Сигналы тревоги будут продолжаться, пока не будет выключено зажигание. Попытка повторно завести двигатель вызовет новый шквал сигналов тревоги.
Отключить режим "антиограбление" можно брелком, нажав кнопки 1 и 2 одновременно.
Внимание: Чтобы воспользоваться режимом "антиограбление" рекомендуем:
Звуковые сигналы подтверждения включения или выключения режима охраны могут быть исключены, если постановку на охрану производить нажатием кнопки 3 брелка.
При срабатывании сигнализации сирена будет звучать, а габариты мигать, как и в обычном режиме тревоги. Следует иметь в виду, что если сигнализация была поставлена на охрану кнопкой 1, то снять ее с охраны бесшумно уже будет нельзя.
Сигнализация RED STAR 960 может быть запрограммирована на один из этих режимов работы с помощью перемычки в блоке управления.
Если у Вас установлен режим поиска машины, то после нажатия на кнопку 2 брелка раздастся короткий сигнал сирены и габаритные огни вспыхнут пять раз. Это поможет Вам определить местонахождение Вашего автомобиля.
Если у Вас установлен второй режим, то после нажатия кнопки 2 на специальном выходе сигнализации появится короткий управляющий сигнал, который вызовет открывание багажника. Для осуществления этой функции требуется установка дополнительного оборудования.
Если Ваш автомобиль оборудован электрической системой запирания и она подключена к сигнализации RED STAR 960, то включение или выключение режима охраны будет сопровождаться автоматическим открыванием или закрыванием дверных замков.
При включенном зажигании Вы сможете дистанционно, с помощью брелка, открывать или закрывать замки дверей. Для этого надо нажать на кнопки 3 или 1 брелка соответственно.
Через 10 секунд после включения зажигания, двери автоматически запрутся. Открывание двери в течение этих 10 секунд отменит это запирание. После выключения зажигания замки дверей сразу же откроются.
В случае потери брелков Вы можете выключить сигнализацию, находящуюся в режиме охраны, открыв дверь, включив зажигание и нажав на кнопку аварийного выключения.
В брелке дистанционного управления используется элемент питания типа "27А", 12 В. Потребление тока брелком является весьма незначительным, поэтому батареи хватает в среднем на 6 месяцев (все зависит, конечно, от того, как часто Вы пользуетесь брелком). Замена батареи может быть выполнена владельцем самостоятельно. Как это делается, показано на рисунке.
Внимание: Обязательно соблюдайте полярность при установке батареи!

Если Вы потеряете один или оба брелка, рекомендуется изменить код управления сигнализацией так, чтобы она перестала реагировать на сигналы потерянных брелков. Эту услугу Вам окажут специалисты, производившие установку Вашей сигнализации.
Если у Вас возникли вопросы, касающиеся эксплуатации сигнализации, специалисты, производившие установку, предоставят Вам любые дополнительные консультации. Кроме того, Вам смогут помочь в усилении защищенности Вашего автомобиля и повышении его комфортабельности путем установки дополнительных устройств: иммобилизатора, дополнительных датчиков, электроприводов замков и т.п.
| Радиус действия брелка: | до 10м |
| Длительность одного цикла тревоги: | |
| при срабатывании датчиков открывания дверей, капота, багажника: | 50 сек |
| 5 мин | |
| при срабатывании датчика удара: | |
| Мощность сирены: | 120 - 125 дБ на расстоянии 1 метр (в зависимости от типа использованной сирены) |
| Рабочая температура: | от -30 до +85о С |
| Питающее напряжение: | 10 - 15 В постоянного тока |
| Ток, потребляемый сигнализацией: | |
| включенной в режим охраны: | 20 мА |
| выключенной из режима охраны: | 10 мА |
| в режиме тревоги: | не более 1,2 А |
| Питание брелка: | 12 В (1 батарея, тип "27А") |