Автомобильная охранная система РW-315 предназначена для защиты автомобиля. Система оповещает о покушении на автомобиль световыми и звуковыми сигналами и блокирует работу двигателя. Применение системы повышает комфортность и безопасность использования автомобиля.
Автомобильная охранная система РW-315 изготовлена на основе современных технологий и элементов ведущих производителей, в том числе процессоров фирмы "Мicrосhiр" U.S.А. и обеспечивает высокий уровень защищенности автомобиля.
Управление режимами системы осуществляется по радиоканалу посредством двухкнопочного пульта управления (брелока) с использованием динамического "плавающего" кода KEELOQ.
Система охраняет от вскрытия двери, капот и багажник двумя независимыми входами, предупреждает об ударах по автомобилю, различая три разных по силе удара. Система срабатывает при попытках несанкционированного запуска двигателя и после перерыва питания. РW-315 оповещает окружающих о покушении сигналами сирены и вспышками ламп указателей поворотов. Длительность сигналов тревоги зависит от степени воздействия и меняется от коротких предупредительных до длинных. С помощью дополнительно устанавливаемого микроволнового датчика, реагирующего на движение, осуществляется защита салона и пространства вокруг автомобиля. Система обеспечивает подключение и других датчиков, например ультразвукового или датчика наклона. Питание системы осуществляется от аккумулятора автомобиля.
Система обеспечивает блокировку двигателя, имеет память тревог, работает с пятью брелоками, принимает неисправную зону под охрану после ее восстановления, обеспечивает режим сохранения общественного порядка - ограничивает время тревоги и выключает сработавшую зону из охраны, если она длительное время не восстанавливается. Предусмотрена возможность охраны с отключенными ударным и предупредительной зоной микроволнового датчиков.
Система имеет сервисный канал управления оборудованием автомобиля.
Система имеет оптимальный набор охранных и сервисных функций.
Автомобильная охранная система РW-315 состоит из микропроцессорного блока, включающего датчик удара, брелоков дистанционного управления и трех жгутов монтажных проводов. Дополнительно система может комплектоваться сиреной, устройствами управления замками (активаторами), концевыми выключателями, пейджером, различными датчиками, модулями управления стеклоподъемниками и люком, другими устройствами.
Система имеет полный набор охранных и противоугонных функций. Защищенность радиоканала управления определяется применяемым динамическим плавающим кодом со сложным законом изменения. При каждом нажатии на кнопку брелока изменяется не менее половины кодовой комбинации.
В целях обеспечения наивысших защитных возможностей система охраняет различные части автомобиля разными способами.
По способу охраны объекты разделены на зоны охраны, которые показаны на рис. 1.

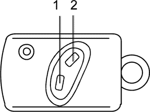
Управление системой осуществляется кратковременным ( около 1 с. ) или продолжительным ( около Зс.) нажатием на кнопки брелока (рис. 3).

Сводная таблица назначения кнопок брелока представлена в приложении 2.
Кнопка 1 - основная, она включает и выключает режим "ОХРАНА".
Кнопка 2 - используются для управления прочими режимами и функциями автосигнализации.
Постановка системы на охрану может осуществляться различными способами:
При включении режима охраны:
Функция может быть включена и после входа в режим охраны, для чего необходимо три раза нажать на кнопку 2, а затем на кнопку 1.
Постановка на охрану при включенном двигателе осуществляется кратковременным нажатием на кнопку 1 или при бесшумном управлении выполняется последовательным кратковременным нажатием на кнопки 2 и 1 брелка. Система заблокирует замки дверей и будет контролировать только контактные зоны и внутреннюю зону дополнительного датчика. В этом режиме возможна дистанционная блокировка двигателя и включение сигналов тревоги продолжительным нажатием на кнопку 2. При попытке вскрытия автомобиля система блокирует двигатель и включает сигналы тревоги.
Если при включении режима охраны остались открытыми двери, капот, багажник или неисправен контактный датчик, то при любом способе постановки на охрану система оповестит об этом короткими звуковыми сигналами и исключит неисправную зону из охраны. (2 контактная зона принимается под охрану с задержкой в 25 сек.). После восстановления контактной зоны система принимает ее под охрану, сообщая об этом коротким звуковым сигналом.
4.2.1 Сигналы тревоги
О покушении на автомобиль, находящийся под охраной, система оповещает звуковыми и световыми сигналами. Характер сигналов тревоги зависит от сработавшей зоны охраны в соответствии с табл. 1.
| Сработавшие зоны охраны | Продолжительность звучания сирены |
|---|---|
| 1 уровень вибродатчика | 1 сек* |
| 2 уровень вибродатчика | 5 сек |
| 3 уровень вибродатчика | 25 сек |
| Контактная зона дверей | на 25 сек дольше воздействия |
| Контактная зона капот/багажник | на 25 сек дольше воздействия |
| Включение зажигания | на 25 сек дольше воздействия |
| 1 зона дополнительного датчика | 5 сек |
| 2 зона дополнительного датчика | на 25 сек дольше воздействия |
| Перерыв питания | 5 сек |
* - если режим включен при программировании
Примечание: продолжительность световых сигналов несколько больше, чем звуковых сигналов.
Сигналы тревоги, если воздействие не прекращено, продолжаются 80 сек., затем прерываются на 10 сек. Цикл сигналов тревоги повторяется до прекращения воздействия, но максимальное время звучания тревоги ограничено 5 мин.
4.2.2 Выключение сигналов тревоги
В системе предусмотрено отключение звуковых и световых сигналов тревоги без выключения режима охраны. Отключение сигналов тревоги осуществляется кратковременным нажатием на кнопку 1 брелока. Сигналы тревоги прекращаются без выключения режима охраны.
При снятии с охраны выполняются следующие действия:
| Зона нарушения. | Количество вспышек светодиода. |
|---|---|
| 1 уровень ударного датчика. | 1 |
| 2 уровень ударного датчика. | 2 |
| 3 уровень ударного датчика. | 3 |
| Контактная зона дверей. | 4 |
| Контактная зона капот/багажник. | 4 |
| Выключение зажигания +12 В. | 4 |
| 1 зона дополнительного датчика. | 1 |
| 2 зона дополнительного датчика. | 4 |
| Прерывание питания | 4 |
Для раздельного отпирания дверей необходимо реализовать схему подключения приводов дверных замков, приведенную в приложении 3.
В этом случае дверь водителя отпирается при выключении режима охраны, отпирание остальных дверей по команде дополнительного канала.После выключения режима охраны информация о нарушенной зоне выводится вспышками светодиода каждые 10 сек до включения зажигания или включения режима охраны в соответствии с табл. 2.
4.4.1. Защита от угона Anti-HiJack
Противоугонная функция включается продолжительным нажатием на кнопку 2 брелока при включенном зажигании и выключенной охране. При этом блокируется двигатель, включаются сигналы тревоги и сигнализация переходит в режим охраны. Для отключения блокировки двигателя необходимо отключить режим охраны.
4.4.2 "Паника"
Режим "Паника" предназначен для определения местонахождения автомобиля или привлечения внимания окружающих. Режим включается продолжительным нажатием на кнопку 2 брелока.
Функция включается во всех режимах, кроме режима "Валет". В этом режиме система подает звуковые и световые сигналы, которые выключаются повторным нажатием на кнопку 2 брелока или автоматически через 5 сек.
Включение режима "Валет" осуществляется только при отключенной охране следующим образом:
Для отключения режима повторите действия, указанные в пунктах 1-4,
Система имеет независимый канал управления дополнительными устройствами автомобиля ( например входом контроллера стеклоподъемников, багажника, светом фар, замками дверей или капота ). Дистанционное управление дополнительными устройствами осуществляется при выключенной охране несколькими кратковременными нажатиями на кнопку 2 брелока.
Система оборудована трехуровневым ударным датчиком, реагирующим на три разных по силе удара. Срабатывание каждого из уровней вызывает соответствующие сигналы тревоги. Пороги включения уровней жестко связаны между собой, поэтому чувствительность второго и третьего уровня определяется порогом включения первого (наиболее чувствительного) уровня. Диапазон регулировки порога включения первого уровня, определяющего чувствительность ударного датчика, разбит на 7 шагов.
Изменение чувствительности ударного датчика осуществляется только в режиме охраны.
Для включения режима регулировки чувствительности нажмите одновременно кнопки 1 и 2, прозвучит кратковременный звуковой сигнал и светодиод начнет вспышками показывать чувствительность ударного датчика. Увеличение чувствительности осуществляется нажатием на кнопку 1, уменьшение - нажатием на кнопку 2. При каждом нажатии на кнопку звучит одиночный короткий сигнал сирены, подтверждающий изменение чувствительности. При достижении минимальной или максимальной чувствительности звучит более длинный (0.5 сек) сигнал сирены. Для выхода из режима регулировки нажмите одновременно кнопки 1 и 2, прозвучит двукратный сигнал сирены. Если в течение 10 сек. ни одна кнопка не брелока не нажималась, то сигнализация выключит режим регулировки чувствительности ударного датчика, сообщив об этом двукратным сигналом сирены. Установленная чувствительность отображается светодиодом в процессе регулировки и при каждом включении режима охраны. Количество вспышек светодиода равно номеру шага чувствительности ударного датчика.
После перерыва питания система устанавливает четвертый шаг чувствительности ударного датчика.
Периодически, не реже одного раза в месяц, проверяйте работоспособность системы.
В случае снижения дальности действия брелока замените его элемент питания. Для замены элемента отверните винт с обратной стороны корпуса, откройте корпус и замените батарею. При замене элемента проверьте надежность электрического контакта и полярность подключения элемента, (в случае необходимости подогните контакты).
Автомобильная сигнализация РW-315 является сложным микропроцессорным устройством и может устанавливаться самостоятельно, однако изготовителем рекомендована установка в сертифицированных производителем центрах. Только в этом случае обеспечивается наивысшая степень защиты автомобиля от угона.
Для обеспечения охраны автомобиля достаточно подключить к системе кнопки дверей и капота/багажника, габаритные огни и сирену.
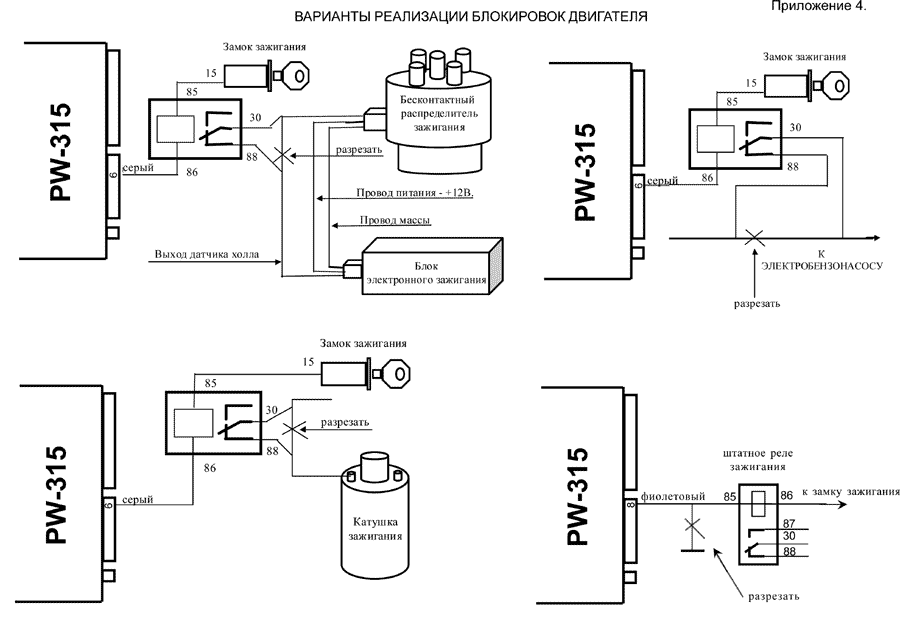
Варианты подключения замков и основных способов блокировки приведены в приложении.
После включения питания система начинает реагировать на команды брелока с задержкой в 10 секунд.
Расположите блок автосигнализации в труднодоступном месте, защищенном от протечек воды, охлаждающей и других жидкостей, учитывая, что максимальная чувствительность ударного датчика достигается при креплении блока к толстому жгуту проводов.
Светодиод выведите на приборную панель таким образом, чтобы его свечение было хорошо видно со всех сторон. Выполните соединения в соответствии со схемой, провод питания системы красного цвета подключите через предохранитель к мощной цепи автомобиля, на которой всегда присутствует +12В, Предохранитель должен располагаться на минимальном расстоянии от точки подключения. Систему можно подключать и через резервный (16А) предохранитель в штатном блоке предохранителей автомобиля.
Перед регулировкой ударного датчика закрепите блок.
Отрегулируйте ударный датчик таким образом, чтобы сигнализация не срабатывала от проезжающего поблизости транспорта. В процессе регулировки наносите удары кулаком по стойкам кузова и ладонью по лобовому и заднему стеклам, делайте паузы между контрольными ударами.
При подключении пейджера удалите передатчик и антенну от блока сигнализации на максимальное расстояние, например вынесите блок передатчика в багажник.
Задержка между включением режима охраны и выполнением защитных функций:
по входу первой контактной зоны - 2 сек.
по входу второй контактной зоны - 25 сек.
по ударному датчику - 25 сек.
Максимальная длительность сигналов тревоги - 5 минут
Время до включения режима охраны при перепостановке - 25сек.
Количество брелоков управления - от 1 до 5,
| Комбинация нажатых клавиш | Действие системы |
|---|---|
| 1 | включить / выключить режим " ОХРАНА" |
| 1 | прогрев двигателя (включение охраны при работающем двигателе) |
| 1 | отключение тревоги в режиме "ОХРАНА" |
| 2,1 | беззвучно включить / выключить режим " ОХРАНА" |
| 1_ | включение охраны с отключенными 1-ой зоной дополнительного датчика |
| 2,1__ | тихое включение охраны с отключенными ударным датчиком и 1-ой зоной дополнительного датчика |
| 2,2,1 | отключение ударного датчика и 1-ой зоны дополнительного датчика во время охраны |
| 2__ | включение режима "ПАНИКА" при выключенном зажигании (кроме режима "ВАЛЕТ") |
| 2__ | включение режима "АНТИ-ХАИ-ДЖЕК" при включенном зажигании (кроме режима "ВАЛЕТ") |
| 2 | принудительное выключение режима " ПАНИКА" |
| 2,2 | управление дополнительным каналом при отключенной охране |
| (1+2)__ | включение / выключение режима "ВАЛЕТ" при открытой двери и включенном зажигании |
| 1+2 | включение / выключение режима регулировки чувствительности |
| 1 | увеличение чувствительности ударного датчика |
| 2 | уменьшение чувствительности ударного датчика (загрубление) |
_ - длительное удержание;
+ - одновременное нажатие;
, - последовательное нажатие.


