Сигнализация IQ-215 сконструирована для охраны дверей автомобиля, его капота и багажника, внутрисалонного пространства и пространства, непосредственно прилегающего к Вашему автомобилю.
Для предотвращения несанкционированного доступа в систему предусмотрена защита кода радиокоманд на базе технологии кодирования KeeLoq, успешно противостоящая попыткам перехвата кодов с помощью код-граббера, встроенная функция антисканирования, запрещающая отключение сигнализации простым подбором случайных кодов и функция памяти состояний, не позволяющая обезвредить стоящую на охране сигнализацию просто сняв и надев клемму автомобильного аккумулятора, так как в этом случае включится тревога, и сохранится блокировка двигателя.
Прерывание и восстановление питания при отключенной охране не вызывает срабатывания сигнализации, чтобы не создавать трудностей, например, при ремонте.
Если питание было отключено, когда сигнализация находилась в режиме Valet, то последующая его подача, возвращает сигнализацию в это же состояние.
Во избежание запирания ключей внутри автомобиля, при восстановлении питания от автомобильного аккумулятора не происходит изменения состояния дверных замков.
Избежать ложных тревог позволит функция обхода неисправной зоны, которая отключит неисправный датчик до конца цикла охраны, если он вызвал включение тревоги 8 раз. Все остальные контролируемые зоны и блокировки останутся включенными.
Программируемая функция учета задержки салонного света позволяет использовать IQ-215 на любых типах автомобилей.
IQ-215 оснащена следующими дополнительными каналами:
Если Вы хотите повысить охранные свойства Вашей сигнализации, мы советуем Вам приобрести дополнительно двух уровневый датчик объема, способный регистрировать любое движение как внутри автомобиля, так и в непосредственной близости от него. Ваш IQ215 имеет специальный вход для подключения такого датчика.
Представляет собой миниатюрный радио передатчик, питающийся от 12 вольтовой батарейки (тип 23 А), которой хватает примерно на 1 год эксплуатации. Существенное снижение дальности приема системой команд передатчика говорит о необходимости замены батарейки. На брелоке расположены три кнопки управления и индикаторный светодиод. При нажатии на любую из кнопок передатчик формирует и передает специальную кодированную команду, которая меняется при каждом новом нажатии на кнопки, предотвращая таким образом возможность перехвата кода Вашей сигнализации код-граббером.

| Функция | Кнопка 1 | Кнопка 2 | Кнопка 3 | Примечания |
|---|---|---|---|---|
| Постановка/снятие с охраны | * | Зажигание ВЫКЛ. | ||
| Постановка с отключенными датчиками | ** | Зажигание ВЫКЛ. | ||
| Запирание дверей | * | Зажигание ВКЛ. | ||
| Тихая постановка/снятие с охраны | * | Зажигание ВЫКЛ. | ||
| Тихая постановка с отключенными датчиками | ** | Зажигание ВЫКЛ. | ||
| Отпирание дверей | * | Зажигание ВКЛ. | ||
| Паника | * 3 сек. | Зажигание ВЫКЛ. | ||
| Поиск | * | * | Режим охраны или VALET | |
| VALET | * 3 сек. | * 3 сек. | Зажигание ВКЛ. | |
| Отпирание багажника | * 3 сек. | |||
| Открывание/закрывание стекол, включение наружного освещения | + | + | Продолжительность импульса определяется временем удержания кнопок |
* кратковременно нажать один раз
** кратковременно нажать два раза в интервале не более 3 секунд
* 3 сек. нажать и удерживать кнопку в нажатом состоянии не менее 3 секунд
+ удерживать кнопку в нажатом состоянии необходимое время
Для повышения секретности управления сигнализацией в IQ215 предусмотрена возможность использования персонального кода (PIN кода) для аварийного отключения сигнализации, входа в режим программирования дополнительных брелоков и пользовательских функций, отключения противоразбойной функции Anti Hi-Jack.
PIN код состоит из одной цифры и может иметь значение от 1 до 9. При изготовлении системы в нее записывается код равный 1, однако, мы рекомендуем после установки системы установить другое значение PIN кода (как это сделать, прочтите в разделе "Программирование"). Это позволит Вам обезопасить свою охранную систему от несанкционированного снятия с охраны.
Для ввода PIN кода используется кнопка аварийного отключения и ключ зажигания.
В случае если брелок сигнализации отсутствует или неисправен, для снятия системы с охраны необходимо: открыть дверь ключом, при этом включится режим тревоги, сесть в автомобиль и включить зажигание. При включенном зажигании нажать кнопку аварийного отключения число раз равное значению заданного Вами PIN кода, затем выключить зажигание система снимется с охраны, подтвердив это четырьмя звуковыми и четырьмя световыми сигналами.
| Охрана включена | медленно мигает |
| Охрана отключена | не горит |
| Автопостановка | быстро мигает |
| Valet-режим | горит постоянно |
Чтобы поставит сигнализацию на охрану надо при выключенном зажигании нажать кнопку 1 брелока, если все двери, капот и багажник закрыты, сирена подаст один звуковой сигнал и фонари мигнут один раз. Светодиод системы начнет медленно мигать, дверные замки закроются (если автомобиль оборудован приводами блокировки замков). Если какая-либо из дверей, капот или багажник окажутся незакрытыми последуют три звуковых сигнала и фонари мигнут три раза.
В режиме охраны сигнализация контролирует состояние всех имеющихся концевых выключателей дверей, капота, багажника, включение зажигания, и состояние датчика удара, а так же, если дополнительно установлены, датчика объема и др. Кроме того, в режиме охраны блокируется запуск двигателя. При нарушении какой-либо из зон охраны, включается 30 секундный режим тревоги.
Если режим тревоги включился, то сирена будет звучать, а сигнальные фонари мигать в течение 30 секунд или до отключения их кнопкой 1 брелока.
При срабатывании предупредительной зоны датчика удара или внешней зоны дополнительного датчика, прозвучит предупредительная трель сирены.
Для снятия сигнализации с охраны надо нажать кнопку 1 брелока, сирена подаст 2 звуковых сигнала, и дважды мигнут сигнальные фонари. Светодиод погаснет, дверные замки откроются (если автомобиль оборудован приводами блокировки замков). Если в период охраны включался режим тревоги, то при снятии с охраны последуют четыре звуковых сигнала и фонари мигнут четыре раза.
Если при выключенном зажигании нажать и удерживать в течение 3 сек. кнопку 1 включится сирена и сигнальные фонари. Повторное нажатие на кнопку 1 отключает режим. Включение и последующее выключение Паники не изменяет состояния системы, то есть она останется в охране, если находилась в этом режиме двери, при этом, останутся запертыми, если же режим охраны был отключен и замки дверей открыты, постановки на охрану и запирания дверей не произойдет.
Когда необходимо поставить сигнализацию на охрану без звукового подтверждения, чтобы не беспокоить окружающих звуками сирены, нажмите кнопку 2 брелока, фонари как обычно мигнут один раз, но сирена будет молчать. Светодиод системы начнет медленно мигать, дверные замки закроются (если автомобиль оборудован приводами блокировки замков). При тихой постановке на охрану звуковое предупреждение о незакрытых дверях, капоте и багажнике сохраняется, поэтому нет опасности, что Вы оставите свой автомобиль незапертым.
Чтобы снять сигнализацию с охраны без звукового подтверждения также нажмите кнопку 2 брелока, дважды мигнут сигнальные фонари, но сирена будет молчать. Светодиод погаснет, дверные замки откроются (если автомобиль оборудован приводами блокировки замков). Однако если в период охраны включалась тревога, то и при тихом снятии система сообщит Вам об этом обычными звуковыми сигналами.
Если при постановке на охрану возникает необходимость отключить салонные датчики, например в том случае, когда в салоне автомобиля требуется оставить пассажиров или животных, надо дважды нажать кнопку 1, система подтвердит отключение датчиков дополнительным звуковым и световым сигналами.
Вы можете отключить салонные датчики и при тихой постановке на охрану, для этого нужно дважды нажать кнопку 2, отключение датчиков, в этом случае, будет подтверждаться только дополнительным световым сигналом.
Функция может быть программно выключена при установке.
Если в течение 30 сек. после снятия с охраны не открывалась ни одна из дверей, капот или багажник, а также не включалось зажигание, система автоматически вернется в режим охраны.
Если включилась тревога, то нажав на кнопку один раз Вы только выключите сирену и сигнальные фонари (в случае, если причина тревоги устранена, т.е., например, закрыта открытая дверь или датчик удара перестал срабатывать). Если же причина, вызвавшая тревогу, сохраняется, для ее отключения требуется повторное нажатие на кнопку. Для полного отключения охраны нажмите на кнопку еще раз, после того как выключите тревогу.
Функция может быть программно включена или выключена при установке.
Если функция включена, то после выключения зажигания, открывания и закрывания двери индикаторные фонари мигнут два раза, а светодиод начнет быстро мигать. Если в течение 30 секунд после этого все двери, а также капот и багажник останутся закрытыми, сигнализация встанет на охрану, замки дверей закроются.
Внимание! При включенной функции Автопостановка и установленных приводах блокировки замков дверей, двери будут запираться автоматически. Никогда не оставляйте ключи в автомобиле!
Если в период, когда автомобиль стоит на охране или в Valet-режиме одновременно нажать кнопки 2 и 3, сирена издаст один звуковой сигнал, и фонари мигнут шесть раз, обозначив место автомобиля на стоянке (в пределах зоны действия брелока).
Функция может быть программно включена при установке.
Через 10 сек. после включения зажигания автоматически запираются электрические замки дверей, при выключении зажигания замки немедленно отпираются. Если в течение этих 10 сек. какая-либо из дверей окажется открытой, то автоматического запирания не произойдет во избежание запирания ключей внутри автомобиля. Функция может быть включена при установке.
При включенном зажигании замки дверей автомобиля могут быть в любой момент заперты или открыты нажатием на брелоке кнопок 1 или 2 соответственно.
Вы можете в любой момент включить или выключить эту функцию с помощью программирования.
Если функция программно включена, то она будет активизирована каждый раз при включении зажигания, а так же каждый раз, если кто-нибудь откроет дверь при включенном зажигании. Таким образом, если от Вас требуют покинуть автомобиль и отдать ключи, выполните требования грабителей, Anti Hi-Jack сам включит тревогу и вынудит грабителей остановиться.
После активизации Anti Hi-Jack наступает 30 секундная пауза (светодиод системы медленно мигает), предназначенная для того, что бы дать возможность грабителю отъехать на безопасное расстояние. После паузы следует период предупреждения, в том числе и Вам, если Вы забыли отключить Anti-Hi-Jack, в течение 30 секунд сирена будет подавать короткие звуковые сигналы, после этого включается полная звуковая тревога и мигание сигнальных фонарей. Режим тревоги продолжается до выключения зажигания, после его выключения сигнализация переходит в режим охраны, но без запирания дверей, фонари при этом продолжают мигать до момента полного отключения охраны с помощью персонального кода аварийного отключения (PIN-кода), при выключении зажигания сразу включится блокировка двигателя и его не удастся завести до отключения Anti Hi-Jack.
Для отключения Anti-Hi-Jack, если уже включился режим тревоги, надо выключить зажигание, затем снова включить его и ввести PIN-код, для отключения Anti-Hi-Jack в течение 30 секундной паузы и режима предупреждения, не надо выключать зажигание. Если Вы дважды ввели неправильный PIN-код, на 2 минуты ввод кода будет заблокирован.
ПОМНИТЕ, что включив Anti Hi-Jack Вы должны вводить PIN-код каждый раз, когда Вы включите зажигание, а так же, когда откроете дверь при включенном зажигании. Работа брелоков в режиме Anti Hi-Jack заблокирована.
Для временного предотвращения активизации Anti-Hi-Jack можно использовать Valet-режим.
Если при постановке на охрану какая-либо дверь, капот или багажник окажутся незакрыты, Вы услышите 3 звуковых сигнала вместо 1.
Если в период охраны включался режим тревоги, то при снятии с охраны система выдает четыре звуковых и световых сигнала вместо обычных двух и с помощью 3 серий вспышек светодиода сразу после включения зажигания сообщает о причине вызвавшей тревогу:
| Количество вспышек в серии | Вид датчика |
| 2 | Салонный датчик |
| 3 | Концевик двери "-" или "+" |
| 4 | Концевик багажника "-" |
| 5 | Зажигание |
В этом режиме отключаются все охранные функции системы. Вы можете включить его, например, когда отдаете автомобиль на сервис, и тогда Вам не придется оставлять там брелок Вашей сигнализации. Это абсолютная гарантия от несанкционированной записи новых брелоков в память Вашей охранной системы.
Для включения режима необходимо при отключенной охране и включенном зажигании на 3 сек. нажать одновременно кнопки 1 и 2, трижды мигнут сигнальные фонари, светодиод системы загорится в постоянном режиме. В Valet-режиме сохраняется возможность дистанционного управления центральным замком и дополнительными каналами. Повторное нажатие тех же кнопок при включенном зажигании возвращает систему в режим нормальной эксплуатации, о чем она сообщает тремя звуковыми сигналами.
В стандартный комплект IQ215 входит 2 брелока однако сигнализация способна запомнить до 4 брелоков, и если у Вас возникла необходимость увеличить количество брелоков для управления Вашей охранной системой, Вы можете запрограммировать их используя следующую процедуру:
ВНИМАНИЕ! Если Вы программно включили режим Anti Hi-jack, то для программирования новых брелоков Вам нужно после включения зажигания (п. 1) предварительно ввести PIN код для отключения Anti Hi-jack, а затем, после звукового и светового сигнала подтверждающего отключение Anti Hi-jack, не выключая зажигание, прейти к п.2 программирования брелоков, то есть еще раз ввести PIN код.
Для того чтобы изменить значение PIN-кода, стереть из памяти системы ненужные Вам брелоки, включить или выключить Anti Hi-Jack, необходимо, прежде всего, выполнить программирование брелоков, описанное выше, причем для этого можно использовать брелок, который уже известен системе. Затем выполнить следующую процедуру:
| Функция переключателя | Заводская установка | Кнопка 1 | Кнопка 2 |
|---|---|---|---|
| 1 Изменение PIN-кода (1-9) * | 1 | увеличение + 1 | уменьшение -1 |
| 2 Стирание кодов всех брелоков кроме используемого | Нажать обе кнопки вместе | ||
| 3 Активизация Анти Хай Джека | ВЫКЛ. | ВКЛ. | ВЫКЛ. |
* Примечание: светодиод системы сериями вспышек показывает установленное значение PIN-кода.
| Неисправность | Методы устранения |
|---|---|
| Система не реагирует на команды дистанционного управления и процедуру аварийного отключения. | 1. Проверьте заряженность аккумулятора автомобиля. 2. Проверьте предохранитель цепи питания системы, при необходимости замените его. |
| Отсутствуют оптические сигналы при нормальном функционировании всех остальных режимов. | Проверьте предохранитель цепи питания сигнальных фонарей, при необходимости замените его. |
| Не работают электрические замки дверей. | Проверьте предохранитель цепи питания замков, при необходимости замените его. |
| Отсутствует свечение светодиода на пульте дистанционного управления, система не выполняет команды дистанционного управления. | Замените элемент питания пульта. |
| В случае прочих отказов, обратитесь в сервисный центр по месту установки сигнализации. | |
Внимание! Эта часть инструкции предназначена только для профессиональных установщиков.
Перед началом установки отсоедините "-" клемму аккумулятора автомобиля.
| Напряжение питания | 10...15 В |
| Потребляемый ток в режиме охраны | 20 мА |
| Частота радиоканала | 433,92 МГц |
| Диапазон рабочих температур | -40...+85°С |
| Максимально допустимый ток | |
| - цепи блокировки двигателя | 30 А |
| - цепей сигнальных фонарей | 10 А |
| - цепей управления центральным замком | 15А |
| Тип датчика удара | электромагнитный |
| Максимальный радиус действия брелока | 30м |
| N | Назначение провода | Цвет провода | Примечание |
|---|---|---|---|
| 1 | Выход на сирену | Коричневый | "+" |
| 2 | Выход на пейджер | Белый | "+" |
| 3 | Выход состояния | Коричневый/белый | "-" 300мА |
| 4 | Концевик багажника | Серый | "-" |
| 5 | Выход запирания | Серый/красный | "-" 300 мА |
| 6 | Зажигание | Оранжевый | |
| 7 | Концевик двери "-" | Зеленый | |
| 8 | Выход управления стеклоподъемниками или наружным светом | Коричневый/черный | "-" 300мА (длительность по удержанию) |
| 9 | Выход "комфорт" | Зеленый/красный | 20с импульс при постановке на охрану |
| 10 | Питание блока | Зеленый/коричневый | + 12В, Пр. 5А |
| 11 | Выход на фонари 1 | Черный/белый | |
| 12 | Питание фонарей | Красный | + 12В, Пр. 15А |
| 13 | Выход на фонари 2 | Черный/зеленый | |
| 14 | Концевик двери "+" | Желтый | |
| 15 | |||
| 16 | Выход отпирания | Голубой/красный | "-" 300 мА |
| 17 | |||
| 18 | Силовой выход отпирания багажника | Голубой/черный | Внутреннее реле |
| 19 | Корпус | Черный | "-" |
| 20 | Силовой вход отпирания багажника | Красный/желтый | + 12В, Пр. 5 А |
| Вход для светодиода | 2-контактный разъем | ||
| Вход кнопки аварийного отключения | 2-контактный разъем | ||
| Два входа для 2-зонового датчика | Два 4-контактных разъема | ||
| Силовой выход блокировки (2 провода) | Черные | Внутреннее реле |
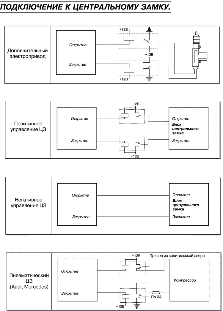
Дополнительный канал N1:
Открывание багажника. Импульс положительной полярности. Продолжительность импульса 1 секунда. Голубой/черный провод подключить непосредственно к проводу отпирания актуатора багажника, красный/желтый провод подключить на + 12В. Второй провод актуатора должен быть подключен на массу.
Для активизации канала на 3 сек. нажать кнопку 3.
Дополнительный канал N2:
Управление электрическими стеклоподъемниками или наружным освещением. Импульс отрицательной полярности. Продолжительность импульса определяется временем удержания кнопок. При подключении к силовым цепям закрывания или открывания стекол или питания наружного освещения, требуется использовать дополнительное реле.
Для активизации канала нажать кнопки 1 и 3.
Дополнительный канал N3:
Канал активизируется автоматически при каждой постановке на охрану. Импульс отрицательной полярности. Продолжительность импульса 20 секунд. Подключить к штатной системе "Комфорт" автомобиля.
ВНИМАНИЕ! Если программно включен режим Anti Hi-jack, то для входа в программирование Вам нужно после включения зажигания (п.1) предварительно ввести PIN код для отключения Anti Hi-jack, а затем, после звукового и светового сигнала подтверждающего отключение Anti Hi-jack, не выключая зажигание, перейти к п.2.
| Функция переключателя | Заводская установка | Кнопка 1 | Кнопка 2 |
|---|---|---|---|
| 1 Автопостановка с запиранием дверей | ВЫКЛ. | ВКЛ. | ВЫКЛ. |
| 2 Автоматическая перепостановка на охрану | ВКЛ. | ВКЛ. | ВЫКЛ. |
| 3 Запирание дверей при включении зажигания | ВЫКЛ. | ВКЛ. | ВЫКЛ. |
| 4 Время импульса центрального замка | 0,6 сек. | 0,6 сек. | 4 сек. |
| 5 Учет задержки салонного света | ВЫКЛ. | ВКЛ.* | ВЫКЛ. |
| 6 Возврат к заводским установкам | Нажать обе кнопки вместе | ||
Если функция включена, светодиод горит, если выключена - не горит.
* - При включенном режиме отключается предупреждение о незакрытых дверях.


