Внимание! Эта часть инструкции предназначена только для профессиональных установщиков.
Перед началом установки отсоедините "- "клемму аккумулятора автомобиля.
| Напряжение питания | 10...15 В |
| Потребляемый ток в режиме охраны | 20 мА |
| Частота радиоканала | 433,92 МГц |
| Диапазон рабочих температур | -40...+85 С |
| Максимально допустимый ток | |
| - цепи блокировки двигателя | 30 А |
| - цепей сигнальных фонарей | 10 А |
| - цепей управления центральным замком | 15 А |
| - цепей управления системой запуска двигателя | 40 А |
| Максимальный радиус действия пультов управления | до 1000 м* |
| Максимальный радиус действия канала пейджера | до 2000 м* |
| Тип модуляции сигнала пейджера | AM |
| Тип модуляции сигнала управления | AM |
* Примечание: Радиус действия пульта управления и канала пейджера указан для условий прямой видимости на открытом пространстве в отсутствие радиочастотных помех. При эксплуатации охранной системы в городских условиях радиус действия пульта управления и пейджера.
В стандартный комплект Mongoose EMS 1.9 входит 2 пульта управления, однако, сигнализация способна запомнить до 4 пультов, и если у Вас возникла необходимость увеличить количество пультов для управления Вашей охранной системой, Вы можете запрограммировать их используя следующую процедуру:
Для того чтобы изменить установки программируемых функций, необходимо, прежде, выполнить программирование пультов управления. Затем выполнить следующую процедуру:
| Функция переключателя | Заводская установка | Кнопка 1 | Кнопка 2 | ||||||||||
|---|---|---|---|---|---|---|---|---|---|---|---|---|---|
| 1-1 | Длительность импульса центрального замка | 0,6 сек. | 0,6 сек. | 4 сек. | |||||||||
| 1-2 | Импульс запирания | Одинарный | Одинарный | Двойной | |||||||||
| 1-3 | Импульс отпирания | Одинарный | Одинарный | Двойной | |||||||||
| 1-4 | Режим работы выхода состояния (коричневый/белый провод) | Для нормально-замкнутого реле | Для нормально-замкнутого реле | Для нормально-разомкнутого реле | |||||||||
| 1-5 | Блокировка с имитацией неисправности | ВЫКЛ. | ВКЛ. | ВЫКЛ. | |||||||||
| 1-6 | Режим работы программируемого входа (+) | Концевик двери (+) | Концевик двери (+) | Предупреждение о не выключенном освещении | |||||||||
| 1-7 | Учет задержки салонного света | ВЫКЛ. | ВКЛ. | ВЫКЛ. | |||||||||
| 1-8 | Режим работы программируемого выхода (-) | Фиксированный импульс | Фиксированный импульс | Выход тормозных фонарей | |||||||||
| 2-1 | Тип коробки передач | Механическая | Механическая | Автоматическая | |||||||||
| 2-2 | Режим Турбо таймера | ВЫКЛ. | Для выбора времен задержки глушения двигателя нажать: 1 раз - 3 минуты, 2 раза - 5 минут | ВЫКЛ. | |||||||||
| 2-3 | Тип двигателя | Бензиновый | Бензиновый | Дизельный | |||||||||
| № попытки | 1 | 2 | 3 | 4 | 1 | 2 | 3 | 4 | 1 | 2 | 3 | 4 | |
| Длительность задержки включения стартера, сек | 3 | 5 | 7 | 10 | 3 | 5 | 7 | 10 | 10 | 15 | 20 | 25 | |
| 2-4 | Режим работы индикаторных фонарей при дистанционном запуске двигателя | ВЫКЛ. | Мигают | ВЫКЛ. | |||||||||
| 2-5 | Режим контроля дистанционного запуска | Тахометр | Тахометр | Генератор/датчик масла | |||||||||
| 2-6 | Постановка на охрану при запирании дверей ключом | ВЫКЛ. | ВКЛ. | ВЫКЛ. | |||||||||
| 2-7 | Включение режима обучения оборотам холостого хода | Нажать обе кнопки | |||||||||||
| 2-8 | Задержка выключения стартера после дистанционного запуска двигателя Светодиод соответствующим количеством вспышек покажет установленное количество импульсов | 2 импульса | Увеличение (максимум 16) | Уменьшение (минимум 1) | |||||||||
* Режим обучения оборотам холостого хода (только если выбран режим контроля запуска двигателя по тахометру):
Примечания:
** Задержка выключения стартера после дистанционного запуска двигателя
Если после успешного завершения процедуры обучения оборотам холостого хода двигатель тем не менее заводится недостаточно устойчиво, используйте функцию 2-8 для продления времени работы стартера после запуска двигателя. Каждое нажатие кнопки 1 увеличивает задержку выключения на 1 импульс тахометрического сигнала. Каждое нажатие кнопки 2 уменьшает задержку выключения на 1 импульс. Минимальная длительность задержки - 30мс, максимальная - 100мс.
| N | Назначение провода | Цвет провода | Примечание |
|---|---|---|---|
| 1 | Не используется | ||
| 2 | Программируемый вход "+" Функция выбирается переключателем 1-6 в таблице установочного программирования | Желтый |
|
| 3 | Вход ручного тормоза "-" | Голубой/белый | Подключить к концевому выключателю ручного тормоза |
| 4 | Вход концевика двери "-" | Зеленый | С программируемой функцией учета задержки салонного света (переключатель 1-7 в таблице установочного программирования). |
| 5 | Вход концевика багажника "-" | Серый | При дистанционном отпирании багажника в режиме охраны вход будет отключен, а через 10 секунд после закрытия багажника снова взят под охрану. Установите концевой выключатель в багажнике на металл кузова. Убедитесь в надежном размыкании концевого выключателя при закрытой крышке багажника и надежном замыкании при открытой крышке. |
| 6 | Вход концевика капота "-" | Серый/белый | Установите концевой выключатель в подкапотном пространстве на металл кузова. Убедитесь в надежном размыкании концевого выключателя при закрытом капоте и надежном замыкании при открытом. |
| 7 | Выход Зажигание 2 "-" 300 мА | Голубой/черный | Если конструкция автомобиля предусматривает наличие второго провода зажигания, используйте выход для управления внешним реле подачи питания на второй провод зажигания. Выход также можно использовать для управления устройством временного отключения штатного иммобилайзера автомобиля при дистанционном запуске двигателя. |
| 8 | Вход управления центральным замком "-" (с программируемой функцией постановки на охрану). Режим работы входа задается переключателем 2-6 в таблице установочных функций. | Коричневый/черный | Подключить к выходу 5-проводного актуатора, на котором "-" появляется в положении "открыто" и исчезает в положении "закрыто". |
| 9 | Корпус "-" | Черный | Надежно подключить к кузову автомобиля. |
| 10 | Вход контроля запуска двигателя "+" | Фиолетовый | Выберите режим контроля запуска двигателя с помощью функции 2-5 в таблице установочного программирования. Подключите провод согласно выбранной функции либо к цепи тахометрического сигнала, либо к цепи генератора или лампы давления масла. |
| 11 | Питание блока | Красный | Подключить к + 12В аккумуляторной батареи. Пр. 5А. |
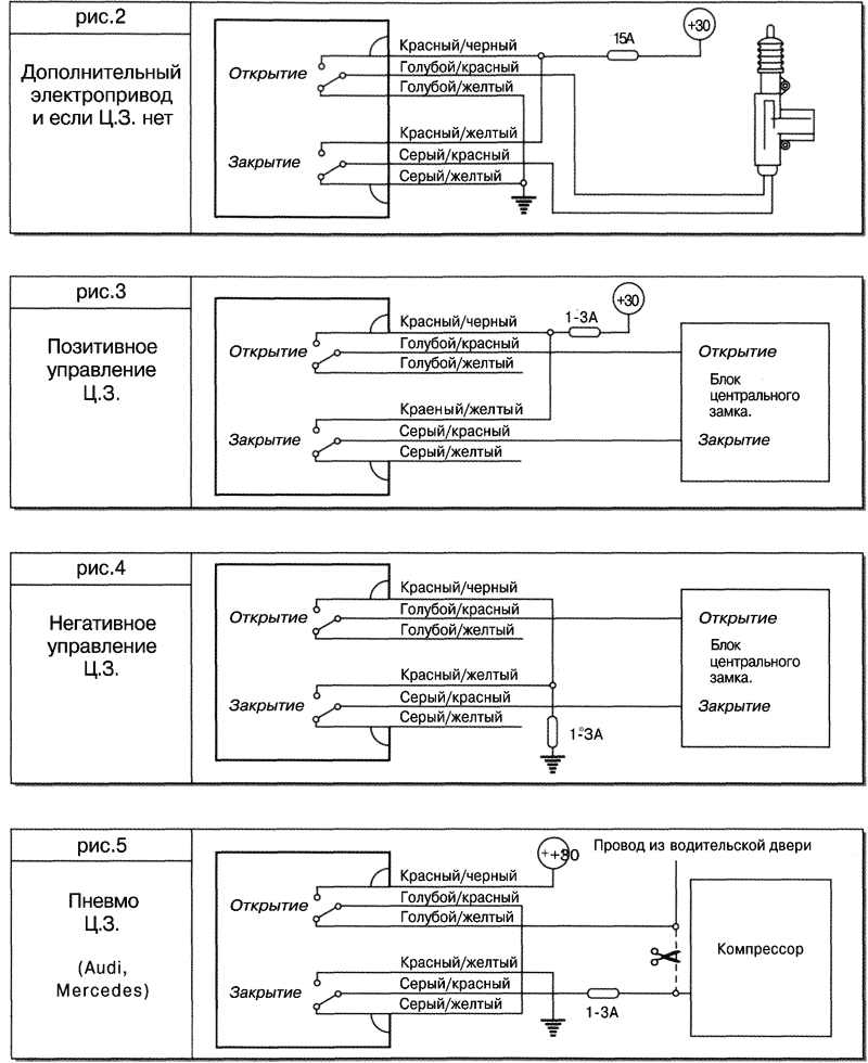
| 12 | Запирание ОБЩ контакт | Серый/красный | Внутреннее реле Подключить к актуаторам замков дверей или к центральному замку автомобиля в соответствие с его конструкцией. См. Схемы подключения к центральному замку. |
| 13 | Запирание НО контакт | Красный/желтый | |
| 14 | Запирание НЗ контакт | Серый/желтый | |
| 15 | Отпирание НЗ контакт | Голубой/желтый | |
| 16 | Отпирание ОБЩ контакт | Голубой/красный | |
| 17 | Отпирание НО контакт | Красный/черный | |
| 18 | Выход на фонари 1 | Черный/зеленый | Внутреннее реле. Подключить к проводу питания габаритных огней. |
| 19 | Питание фонарей | Красный | Подключить к+12 В аккумуляторной батареи. Пр. 15А (При отрицательном питании фонарей подключит к корпусу автомобиля). |
| 20 | Выход на фонари 2 | Черный/белый | Внутреннее реле. Подключить к проводу питания габаритных огней. |
| 21 | Не используется | ||
| 22 | Выход на сирену | Коричневый | + 2А |
| N | Назначение провода | Цвет провода | Примечание |
|---|---|---|---|
| 1 | Питание системы запуска двигателя | Красный | Подключить к+12 В аккумуляторной батареи. Пр. 30А |
| 2 | Выход стартера +12 В | Черный/желтый | Подключить к проводу управления реле стартера. |
| 3 | Выход АСС +12В | Голубой | Выход включается через 1 минуту после успешного запуска двигателя. Подключить к проводу АСС в разъеме ключа зажигания. |
| 4 | Выход зажигания +12 В | Черный | Подключить проводу Зажигание в разъеме ключа зажигания. |
| N | Назначение провода | Цвет провода | Примечание |
|---|---|---|---|
| 1 | Выход отпирания багажника "-" 300 мА | Голубой/черный | Подключить к обмотке внешнего реле управления замком багажника. |
| 2 | Выход управления электрическими стеклоподъемниками ("комфорт") "-" 300 мА | Зеленый/белый | 20 секундный импульс при постановке на охрану. (Подключить к обмотке реле управления поднятием стекол). |
| 3 | Программируемый выход "-" 300мА | Белый |
|
| 4 | Выход состояния (программируемый). Режим работы выхода задается переключателем 1-4 в таблице установочных функций. | Коричневый/белый |
|
| Силовой выход блокировки двигателя | Два черных провода с разъемом | Внутреннее реле. Провода выведены через отверстие центрального блока управления. (Подключить в разрыв блокируемой цепи) |
| Выход светодиода | 2-контактный разъем белого цвета | |
| Вход кнопки аварийного отключения | 2-контактный разъем белого цвета | |
| Два входа двухуровневых датчиков | Два 4-контактных разъема белого цвета | |
| Вход модуля связи | 4-контактный разъем черного цвета |
При настройке датчика удара и, если установлен, дополнительного датчика установите регуляторы чувствительности в среднее положение. Проверьте чувствительность датчика удара, постукивая рукой по кузову автомобиля. Чувствительность объемного датчика проверяется движением руки в салоне через приоткрытое окно для однозонного датчика или основной зоны двузонного датчика; чувствительность предупредительной зоны проверяется движением вблизи автомобиля.
При необходимости увеличить чувствительность датчика поверните регулятор по часовой стрелке, для уменьшения чувствительности - против часовой стрелки.
Помните, что избыточная чувствительность может привести к большому числу ложных срабатываний системы.


