Сигнализация Mongoose DUPLEX 2.1 сконструирована для охраны дверей, капота и багажника автомобиля, пространства внутри салона и в непосредственной близости от автомобиля. Дли индикации тревоги предусмотрена звуковая и световая сигнализация. Сигнал тревоги передается также по радиоканалу на Ваш персональный пейджер, совмещенный с пультом управления сигнализацией. Кроме этого, Mongoose DUPLEX 2.1 предотвращает несанкционированный запуск двигателя.
Перечисленные выше функции могут быть реализованы в большей или меньшей степени и зависимости от подключенных стандартных или дополнительных охранных средств.
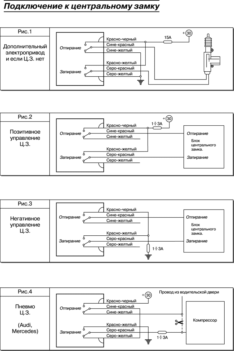
Проконсультируйтесь с установщиком!!!
Для предотвращения несанкционированного доступа в систему предусмотрена защита кода радиокоманд на базе технологии кодирования KeeLoq, успешно противостоящая попыткам перехвата кодов с помощью код-граббера, встроенная функция антисканирования, запрещающая отключение сигнализации простым подбором случайных кодов и функция памяти состояний, не позволяющая обезвредить стоящую на охране сигнализацию просто сняв и надев клемму автомобильного аккумулятора, так как в этом случае включится тревога и сохранится блокировка двигателя.
Прерывание и восстановление питания при отключенной охране не вызовет срабатывания сигнализации, чтобы не создавать трудностей, например, при ремонте.
Если питание было отключено, когда сигнализация находилась в режиме Valet, то последующая его подача вернет сигнализацию в это же состояние.
Во избежание запирания ключей внутри автомобиля, при восстановлении питания от автомобильного аккумулятора не происходит изменения состоянии дверных замков.
Избежать ложных тревог позволит функция обхода неисправной зоны, которая отключит неисправный датчик до конца цикла охраны, если он вызвал включение тревоги 8 раз.
Все остальные контролируемые зоны и блокировки останутся включенными.
Программируемая функция учета задержки салонного света дает возможность использовать Mongoose DUPLEX 2.1 на любых типах автомобилей. Если же Ваш автомобиль не имеет такой функции Mongoose DUPLEX 2.1 будет на 20 секунд включать свет в салоне при снятии с охраны, открывании двери и выключении зажигания. При постановке на охрану и включении зажигания свет будет немедленно гаснуть.
Для повышения охранных свойств системы н удобства пользования автомобилем Mongoose DUPLEX 2.1 оснащен дополнительными каналами с программным выбором опций:
Приобретая стандартный комплект Mongoose DUPLEX 2.1, Вы получаете:
Если Вы хотите повысить охранные свойства Вашей сигнализации, мы советуем Вам приобрести дополнительно двух уровневый датчик объема, способный регистрировать любое движение как внутри автомобиля, так и в непосредственной близости от него. Mongoose DUPLEX 2.1 имеет специальный вход для подключения такого датчика.
Двунаправленный пульт дистанционного управления с функцией пейджера.
Представляет собой миниатюрное приемо-передающее устройство с питанием от 1,5 вольтовой батарейки (тип 24А LR03 ААА), которой хватает примерно на 6 месяцев эксплуатации. На пульте расположены четыре* кнопки управления и 5 светодиодов для индикации постановки и снятия системы с охраны и для информирования Вас о причине, вызвавшей включение тревоги. Нажатие любой из кнопок пульта подтверждается специфическим звуковым сигналом, при этом передатчик формирует и передает кодированную радиокоманду, которая меняется при каждом новом нажатии кнопки, предотвращая таким образом возможность перехвата кода Вашей сигнализации код-граббером.
В случае приема, встроенным в пульт пейджером, сигнала тревоги, замигает соответствующий светодиод, включится определенный звуковой сигнал, а также виброзвонок.

* Примечание: Кнопка №4 в данной модели не используется
Функция пейджера будет работать только при постановке системы на охрану с помощью двунаправленного пульта или при автопостановке на охрану.
| Событие | Символ | Светодиод | Звуковой сигнал | Виброзвонок |
|---|---|---|---|---|
| Постановка/снятие с охраны | Зеленый | Зависит от номера кнопки | --- | |
| Батарейка разряжена | Зеленый (мигает при нажатии кнопки) | Выключен | Выключен | |
| Индикация тревоги | ||||
| Открыт капот/багажник | Красный | Мелодия 1 | 1 раз/5 сек | |
| Открыта дверь | Красный | Мелодия 2 | 1 раз/5 сек | |
| Включено зажигание | Красный | Мелодия 3 | 1 раз/5 сек | |
| Предварительная зона датчика | Красный | 2 - тональный | 1 раз | |
| Основная зона датчика | Красный | Мелодия 1 | 1 раз/5 сек | |
Однонаправленный пульт дистанционного управления сигнализацией
Миниатюрный радиопередатчик, питающийся от 12 вольтовой батарейки (тип 23 А), которой хватает примерно на 1 год эксплуатации. Существенное снижение дальности приема системой команд передатчика говорит о необходимости замены батарейки. На брелоке расположены три кнопки управления и индикаторный светодиод. Алгоритм формирования и передачи управляющих команд идентичен двунаправленному пульту управления. Однонаправленный пульт предназначен только для управления сигнализацией.
ВНИМАНИЕ. При постановке сигнализации на охрану с помощью однонаправленного пульта функции пейджера в двунаправленном пульте работать не будет.

| Функция | Кнопка 1 | Кнопка 2 | Кнопка 3 | Примечание |
|---|---|---|---|---|
| Постановка на охрану | * | Зажигание ВЫКЛ. | ||
| Постановка с отключенными датчиками | *1 | *2 | Зажигание ВЫКЛ. | |
| Тихая охрана | *1 | *2 | Зажигание ВЫКЛ. | |
| Запирание дверей | * | Зажигание ВКЛ. | ||
| Тихая постановка на охрану | *2 | *1 | Зажигание ВЫКЛ. | |
| Тихая постановка на охрану с отключенными датчиками | *2 | *3 | *1 | Зажигание ВЫКЛ. |
| Снятие с охраны | * | Зажигание ВЫКЛ. | ||
| Отпирание дверей | * | Зажигание ВКЛ. | ||
| Тихое снятие с охраны | *2 | *1 | Зажигание ВЫКЛ. | |
| Паника | *3сек. | Зажигание ВЫКЛ. | ||
| Поиск | *3 сек. | Зажигание ВЫКЛ. |
||
| Anti Hi-jack | *3 сек. | Зажигание ВКЛ. | ||
Дополнительный канал N1:
|
*3 сек. *3 сек. |
*3 сек. *3 сек. |
||
| Дополнительный канал N2: управление устройством дистанционного запуска | *3 сек. | *3 сек. | ||
| Охрана с заведенным двигателем | *2 | *1 | Зажигание ВКЛ. |
* кратковременно нажать один раз
*3 сек. нажать и удерживать кнопку в нажатом состоянии не менее 3 секунд
1 2 3 последовательность нажатия кнопок
| Охрана включена | медленно мигает |
| Охрана отключена | не горит |
| Задержка перед автопостановкой | быстро мигает |
| Valet-режим | горит постоянно |
Для повышения секретности управления сигнализацией в Mongoose DUPLEX 2.1 предусмотрена возможность использования персонального кода (PIN кода) для аварийного отключения сигнализации, входа в режим программирования дополнительных брелоков, изменения установок программируемых функций, отключения противоразбойной функции Anti Hi-Jack.
PIN код может состоять из одной или двух цифр и иметь значение либо от 1 до 9, либо от 11 до 99 в зависимости от программной установки. При изготовлении системы в нее записывается код равный 1, однако, мы рекомендуем после установки системы задать другое значение PIN кода (как это сделать, прочтите в разделе "Программирование"). Это позволит Вам обезопасить свою охранную систему от несанкционированного снятия с охраны.
Для ввода PIN кода используется кнопка аварийного отключения и ключ зажигания.
В случае если пульт управления сигнализации отсутствует или неисправен для снятия системы с охраны необходимо: открыть дверь ключом, при этом включится режим тревоги, сесть в автомобиль, включить зажигание и оставить его во включенном положении.
Если Вы установили однозначный PIN код - нажмите кнопку аварийного отключения число раз равное заданному значению PIN кода и выключите зажигание. Если код введен верно, система снимется с охраны.
Если установлен двузначный код, то, введя первую цифру, как описано выше, снова включите зажигание и также введите вторую, затем выключите зажигание. Если код введен верно, система снимется с охраны.
Eсли дважды введен неверный код, система на 2 минуты заблокирует дальнейший ввод кода. Светодиод при этом будет мигать двойными вспышками.
Чтобы поставить сигнализацию на охрану надо при выключенном зажигании нажать кнопку 1 пульта, если все двери, капот и багажник закрыты, сирена подает один звуковой сигнал, и фонари мигнут один раз. Светодиод системы начнет медленно мигать, дверные замки закроются (если автомобиль оборудован приводами блокировки замков). Если какая-либо из дверей, капот или багажник окажутся незакрытыми, вы услышите предупредительную трель сирены, а фонари мигнут три раза.
В режиме охраны сигнализация контролирует состояние всех имеющихся концевых выключателей дверей, капота, багажника, включение зажигания, и состояние датчика удара, а также, если дополнительно установлены, датчика объема и др. Кроме того, в режиме охраны блокируется запуск двигателя. При нарушении какой-либо из зон охраны, включается 30-секундный режим тревоги.
Если режим тревоги включился, то сирена будет звучать, а сигнальные фонари мигать в течение 30 секунд или до отключения их любой кнопкой пульта.
При срабатывании предупредительной зоны датчика удара или внешней зоны дополнительного датчика, прозвучит короткая трель сирены.
Для снятия сигнализации с охраны надо нажать кнопку 2 пульта, сирена подает 3 звуковых сигнала, и дважды мигнут сигнальные фонари. Светодиод погаснет, дверные замки откроются (если автомобиль оборудован приводами блокировки замков). Если в период охраны включался режим тревоги, то при снятии с охраны система предупредит Вас об этом дополнительной трелью сирены.
Если при выключенном зажигании нажать и удерживать в течение 3 сек. кнопку 1 включится сирена и сигнальные фонари. Повторное нажатие на кнопку 1 отключает режим. Включение и последующее выключение Паники не изменяет состояния системы, то есть она останется в охране, если находились в этом режиме, двери, при этом, останутся запертыми, если же режим охраны был отключен и замки дверей открыты, постановки на охрану и запирания дверей не произойдет.
Примечание: при программном включении режима дистанционного управления функцией "комфорт" (переключатель 2-1 в таблице Установочного программирования) Паника включаться не будет.
Когда необходимо поставить сигнализацию на охрану без звукового подтверждения, чтобы не беспокоить окружающих звуками сирены, нажмите кнопку 3 непосредственно (в пределах 3 секунд) перед нажатием кнопки 1. Для снятия с охраны нажмите кнопку 3 перед нажатием кнопки 2.
Выполнение команд в этом случае будет подтверждено только световыми сигналами. В остальном режимы полностью аналогичны постановке и снятию со звуковым подтверждением. При тихой постановке на охрану звуковое предупреждение о незакрытых дверях, капоте и багажнике сохраняется, поэтому нет опасности, что Вы оставите свой автомобиль незапертым. Звуковые сигналы также прозвучат и при тихом снятии с охраны, если включалась тревога.
Если при постановке на охрану возникает необходимость отключить салонные датчики, например в том случае, когда в салоне автомобиля требуется оставить пассажиров или животных, нажмите кнопку 2 не позднее чем через 3 секунды после нажатии кнопки 1. Отключение датчиков система подтвердит одним звуковым и одним световым сигналом.
Для постановки на охрану с отключенными датчиками без звукового подтверждения нажмите кнопки в последовательности 3-1-2.
Для того чтобы поставить автомобиль на охрану при заведенном двигателе (например, при прогреве) надо перед нажатием кнопки 1 нажать кнопку 3 брелока, тогда активизируется режим охраны с отключенными датчиками, а также не будет включена блокировка двигателя. Для отключения охраны необходимо нажать ту же комбинацию кнопок или кнопку 2. Кроме того, если охрана не была отключена в течение 10 минут или зажигание было выключено, автоматически включается блокировка двигателя и режим полной охраны, но без запирания дверей.
При программно включенном режиме Anti Hi-jack, открыв дверь, введите первую цифру Вашего PIN кода, дождитесь световых сигналов, подтверждающих отключение Anti Hi-jack, затем закройте дверь и поставьте систему на охрану.
ПРИМЕЧАНИЕ: Во избежание ошибочного изменения режима во время движении автомобиля его активизация разрешается системой только в течение 10 секунд после открывания и закрывания двери при включенном зажигании, по истечении этих 10 секунд, включение режима системой запрещается.
При включенном режиме тихой охраны сирена и режиме тревоги включаться не будет. Индикация тревоги будет производиться только миганием сигнальных фонарей и по каналу пейджера.
Для включения режима нажмите кнопку 3 не позднее, чем через 3 секунды после нажатия кнопки 1. Включение режима система подтвердит дополнительным световым сигналом.
Функции может быть программно отключена.
Если в течение 30 сек. после снятия с охраны не открывалась ни одна из дверей, капот или багажник, а также не включалось зажигание, система автоматически вернется в режим охраны.
Если включилась тревога, то, нажав любую кнопку пульта один раз, Вы только выключите сирену и сигнальные фонари (в случае, если причина тревоги устранена, т.е., например, закрыта открытая дверь или датчик удара перестал срабатывать). Если же причина, вызвавший тревогу, сохраняется, для ее отключения требуется повторное нажатие на кнопку. Для полного отключения охраны нажмите на кнопку еще раз, после того как выключите тревогу.
Функция может быть включена или выключена программированием.
Если функция включена, то после выключения зажигания, открывания и закрывании двери сигнальные мигнут два раза, светодиод начнет быстро мигать. Если в течение 30 секунд после того все двери, а также капот и багажник останутся закрытыми, сигнализация встанет на охрану. Замки дверей при этом могут быть заперты или остаться открытыми, в зависимости от программной установки функции 1-2 в таблице Пользовательского программирования.
Через 10 секунд после включения зажигания автоматически запираются электрические замки дверей, при выключении зажигания замки немедленно отпираются. Если в течение этих 10 секунд какая-либо из дверей окажется открытой, то автоматического запирания не произойдет во избежание запирании ключей внутри автомобиля. Функция может быть отключена при установке.
При включенном зажигании замки дверей автомобиля могут быть в любой момент заперты или открыты нажатием на брелоке кнопок 1 или 2 соответственно.
Функции поможет Вам определить: находитесь ли Вы в зоне радиосвязи с Вашей охранной системой или нет.
При программном включении этой функции через 5 минут после постановки системы на охрану, двунаправленный пульт управления в течение 5 секунд будет подавать звуковые и вибрационные сигналы, индикаторные светодиоды будут поочередно включаться, если Вы находитесь в зоне приема сигнала от охранной системы.
Режим можно включить и выключить программированием.
Ваша охранная система оснащена специальной противоразбойной функцией Anti Hi-jack, которая будет автоматически активизирована в случае открывания любой двери при включенном зажигании. Вы можете также включить Anti Hi-jack дистанционно, нажав при включенном зажигании кнопку 3 на 3 секунды.
Если функция программно включена и у Вас требуют отдать ключи и покинуть автомобиль, просто выполните требования грабителей, Anti Hi-jack сам включит тревогу и заставит грабителей остановиться.
Для того, чтобы активизация Anti Hi-jack не являлась помехой для движения автомобиля и у Вас была возможность спокойно отключить его, а также, чтобы не создавать опасной ситуации на дороге, противоугонная процедура проходит следующие этапы до момента включения полной тревоги и блокировки двигателя:
Если дважды введен неверный код, система на 2 минуты заблокирует дальнейший ввод кода. Светодиод при этом будет мигать двойными вспышками.
Примечание:
Для того, чтобы активизация Anti Hi-Jack стала возможной, необходимо помимо программного включения функции, обязательно установить для системы двузначный код аварийного отключения.
ВНИМАНИЕ! Если активизирована противоугонная процедура Anti Hi-Jack, выполнение системой любых команд пульта дистанционного управления заблокировано.
Для временного предотвращения активизации Anti Hi-Jack можно использовать Valet-режим.
Если при постановке на охрану какая-либо дверь, капот или багажник окажутся незакрыты, Вы услышите дополнительную трель сирены и фонари мигнут 3 раза.
В случае включения тревоги в период охраны, при снятии с охраны прозвучит дополнительная трель сирены. Светодиод системы сериями вспышек сообщит о причине вызвавшей тревогу:
| Количество вспышек в серии | Вид датчика |
|---|---|
| 2 | Салонный датчик |
| 3 | Концевик двери "-" |
| 4 | Программируемый "-" вход (концевик багажника) |
| 5 | Концевик двери "+" |
| 6 | Зажигание |
Режим включается программированием.
Если автомобиль имеет функцию задержки салонного света, и программно включен режим учета задержки, концевики дверей будут взяты под охрану только после того, как погаснет свет в салоне. Оповещение о незакрытых дверях при постановке на охрану в этом режиме отсутствует. При включения режима учета задержки салонного света, функция задержки салонного света при открывании двери, предусмотренная в сигнализации, отменяется во избежание конфликта с аналогичной системой автомобиля.
Функция может быть включена программно.
Если в течение 5 сек. после открывания двери или багажника нажать кнопку 1 сигнализация, как обычно при постановке на охрану, подаст однократный звуковой и световой сигнал, однако охрана и запирание дверей будут включены только после закрывания открытой двери или багажника. Оповещение о не закрытых дверях при постановке на охрану в этом режиме отсутствует.
Если в период, когда сигнализация стоит на охране или находится в Valet-режиме на 3 сек. нажать кнопку 3, сирена издаст один звуковой сигнал, и фонари мигнут шесть раз, обозначив место автомобиля на стоянке.
После нажатия на кнопку 2 на пульте, отключающем режим охраны, откроется только дверь водителя. Повторным нажатием кнопки 2 в течение 3 секунд открываются замки остальных дверей. Функция включается программированием.
При программном включении функции Вы можете, нажимая и удерживая на пульте кнопку 1, управлять электрическими стеклоподъемниками, включением наружного света или другим электрическим устройством автомобиля. Канал активизируется после 3-х секундного нажатия на кнопку. Продолжительность импульса определяется временем удержания кнопки.
В этом режиме отключаются все охранные функции системы. Вы можетe включить его, например, когда отдаете автомобиль на сервис, и тогда Вам не придется оставлять там брелок Вашей сигнализации.
Для включения режима необходимо при отключенной охране и включенном зажигании на 3 сек. нажать кнопку аварийного отключения, трижды мигнут сигнальные фонари, светодиод системы загорится в постоянном режиме. В Valet-режиме сохраняется возможность дистанционного управления центральным замком и дополнительными каналами. Повторное нажатие кнопки аварийного отключения при включенном зажигании возвращает систему в режим нормальной эксплуатации, о чем она сообщает тремя звуковыми сигналами.
В стандартный комплект Mongoose DUPLEX 2.1 входит 2 пульта управления: один двунаправленный и один стандартный, однако сигнализация способна запомнить до 4 пультов в любой комбинации, и если у Вас возникла необходимость увеличить количество пультов для управления Вашей охранной системой, Вы можете запрограммировать их используя следующую процедуру:
Для того, чтобы изменить значение PIN-кода, стереть из памяти системы ненужные Вам брелоки, включить или выключить Anti Hi-Jack, установить новое значение программируемых функций, необходимо, прежде, выполнить программирование пультов, описанное выше, причем для этого можно использовать пульт, который уже известен системе. Затем выполнить следующую процедуру:
| Функция переключателя | Заводская установка | Кнопка 1 | Кнопка 2 | |
|---|---|---|---|---|
| 1-1 | Автопостановка на охрану | ВЫКЛ. | ВКЛ. | ВЫКЛ. |
| 1-2 | Запирание дверей при автопостановке | ВЫКЛ. | ВКЛ. | ВЫКЛ. |
| 1-3 | ВКЛ. | ВКЛ. | ВЫКЛ. | |
| 1-4 | Запирание дверей при включении зажигания | ВКЛ. | ВКЛ. | ВЫКЛ. |
| 1-5 | Звуковые сигналы подтверждения выполнения команд | ВКЛ. | ВКЛ. | ВЫКЛ. |
| 1-6 | Длительность тревоги | 30 сек. | 30 сек. | 60 сек. |
| 1-7 | Anti Hi-jack | ВЫКЛ. | ВКЛ. | ВЫКЛ. |
| 2-3 | Режим отложенной охраны | ВЫКЛ. | ВКЛ. | ВЫКЛ. |
| Изменение PIN кода 1-9 (только кнопка 2). Изменение PIN кода 11+ 99 (кнопка 1 + кнопка 2) |
1 | Ввод десятков. Нажать от 1 до 9 раз. | Ввод единиц. Нажать от 1 до 9 раз. | |
| 3-2 | Стирание кодов всех пультов кроме используемого | - | Нажать обе кнопки вместе | |
| 3-3 | Возврат к заводским установкам | - | Нажать обе кнопки вместе | |
| 4-6 | Переход к установочному программированию | - | Нажать обе кнопки вместе | |
Внимание! Эта часть инструкции предназначена только для профессиональных установщиков.
Перед началом установки отсоедините "-" клемму аккумулятора автомобиля.
| Напряжение питания | 10...15 В |
| Потребляемый ток в режиме охраны | 20 мА |
| Частота радиоканала | 433,92 МГц |
| Диапазон рабочих температур | -40..+85оС |
| Максимально допустимый ток | |
| цепи блокировки двигателя | 30 А |
| цепей сигнальных фонарей | 10 A |
| цепей управления центральным замком | 15 A |
| Максимальный радиус действия пультов управления | 30 м |
| Радиус действия канала пейджера | 400 м |
| Тип модуляции сигнала пейджера | FSK (ЧМ) |
| Тип модуляции сигнала управления | ASK (AM) |
| Назначение провода | Цвет провода | Примечание | |
|---|---|---|---|
| 1 | Выход на сирену | Коричневый | + 2А |
| 2 | не используется | ||
| 3 | Выход состояния | Коричневый/белый | "-" 300 мА в режиме охраны |
| 4 | Программируемый вход "-" | Серый |
|
| 5 | Программируемый выход N1(-) | Голубой/черный |
|
| 6 | Вход зажигания | Оранжевый | +12В |
| 7 | Концевик двери "-" | Зеленый | С функцией подсветки салона учета и задержки салонного света (программируется) |
| 8 | Коричневый/черный |
|
|
| 9 | Корпус | Черный | "-" |
| 10 | Питание блока | Зеленый/коричневый | +12 В. Пр. 5А |
| 11 | Запирание НЗ контакт | Серый/желтый | Внутреннее реле |
| 12 | Запирание ОБЩ контакт | Серый/красный | Внутреннее реле |
| 13 | Запирание НО контакт | Красный/желтый | Внутреннее реле |
| 14 | Отпирание НЗ контакт | Голубой/желтый | Внутреннее реле |
| 15 | Отпирание ОБЩ контакт | Голубой/красный | Внутреннее реле |
| 16 | Отпирание НО контакт | Красный/черный | Внутреннее реле |
| 17 | Концевик двери "+" | Желтый | |
| 18 | Выход на фонари 1 | Черный/зеленый | Внутреннее реле |
| 19 | Питание фонарей | Красный | +12 В, Пр. 15А |
| 20 | Выход на фонари 2 | Черный/белый | Внутреннее реле |
| Выход светодиода | 2-контактный разъем | ||
| Вход кнопки аварийного отключения | 2-контактный разъем | ||
| Два входа двухуровневых датчиков | Два 4-контактных разъема | ||
| Вход модуля связи | 3-контактный разъем | ||
| Силовой выход блокировки (2 провода) | Черные | Внутреннее реле |
Для того чтобы изменить значение программируемых функций, необходимо, прежде, выполнить программирование пультов, описанное в разделе Правила пользования. Затем выполнить следующую процедуру:
| Функция переключателя | Заводская установка | Кнопка 1 | Кнопка 2 | |
|---|---|---|---|---|
| 1-2 | Время импульса центрального замка | 0,6 сек. | 0,6 сек. | 4 сек. |
| 1-5 | Тестовый режим пейджера | ВЫКЛ. | ВКЛ. | ВЫКЛ. |
| 1-6 ***** |
Двушаговое отпирание | ВЫКЛ. | ВКЛ. | ВЫКЛ. |
| 1-7 | Блокировка с имитацией неисправности | ВЫКЛ. | ВКЛ. | ВЫКЛ. |
| 1-8 * | 20 сек. импульс запирания | ВЫКЛ. | ВКЛ. | ВЫКЛ. |
| 2-1 ** |
Дистанционное управление функцией "комфорт" | ВЫКЛ. | ВКЛ. | ВЫКЛ. |
| 2-2 | Учет задержки салонного света | ВЫКЛ. | ВКЛ. | ВЫКЛ. |
| 2-3 *** |
Программируемый вход "-" Светодиод сериями вспышек укажет номер выбранной функции |
1 | Изменение номера функции 1-3 (кн. 1 вверх/ кн. 2 вниз) |
|
| 2-5 | Программируемый дополнительный канал N1 | Открывание багажника | Открывание багажника | Универсальный 1-секундный импульс |
| 2-6 | Программируемый дополнительный канал N2 | Дистанционный запуск | Дистанционный запуск | Нормально-разомкнутая блокировка |
* Только при наличии блока центрального замка.
** Только при наличии блока центрального замка. Длительность импульса определяется продолжительностью нажатия на брелоке кнопки 1.
Внимание! Не допускается включение режимов 1-8 и 2-1 в случае прямой коммутации актуаторов на силовых реле во избежание выхода актуаторов из строя.
*** Программируемый вход может работать в следующих режимах:
**** Двушаговое отпирание дверей.
(только для автомобилей с двушаговым алгоритмом центрального замка).
После нажатия на кнопку 2 на брелоке, отключающем режим охраны, сигнализация выдает первый импульс на открывание двери водителя. Повторным нажатием этой кнопки после снятия системы с охраны открываются замки остальных дверей. Функция включается программированием. Сигнализация не имеет специальных проводов для реализации данной функции, но может путем программирования быть адаптирована к соответствующей штатной системе автомобиля.


