| N функции | 1 сигнал сирены | 2 сигнала сирены | Фабричная установка |
|---|---|---|---|
| 1 | Пассивная постановка на охрану включена | Пассивная постановка на охрану выключена | Пассивная постановка на охрану включена |
| 2 | Пассивная постановка на охрану с запиранием дверей | Пассивная постановка на охрану без запирания дверей | Пассивная постановка на охрану без запирания дверей |
| 3 | Подтверждающие сигналы сирены включены а) | Подтверждающие сигналы сирены выключены | Подтверждающие сигналы сирены включены |
| 4 | Отключение системы с помощью переключателя Valet (VALET) b) | Отключение системы с помощью персонального секретного кода (CODE) | Отключение системы с помощью переключателя Valet |
| 5 | Временное отключение режима предупреждения после 5 срабатываний включено c) | Временное отключение режима предупреждения после 5 срабатываний выключено | Временное отключение режима предупреждения после 5 срабатываний включено |
| 6 | Автоматическое запирание дверей при включении зажигания включено | Автоматическое запирание дверей при включении зажигания выключено | Автоматическое запирание дверей при включении зажигания выключено |
| 7 | Автоматическое отпирание дверей при выключении зажигания включено | Автоматическое отпирание дверей при выключении зажигания выключено | Автоматическое отпирание дверей при выключении зажигания включено |
| 8 | Срабатывание системы при падении напряжения включено | Срабатывание системы при падении напряжения выключено | Срабатывание системы при падении напряжения выключено |
| 9 | Включение функции Anti-HiJack с помощью 3 канала передатчика d) | Включение функции Anti-HiJack с помощью 3 канала передатчика отключено | Включение функции Anti-HiJack с помощью 3 канала передатчика отключено |
| 10 | Длительность импульса, подаваемого на замки дверей - 1 сек. | Длительность импульса, подаваемого на замки дверей - 3,5 сек. | 1 секунда |
| 11 | Двойной импульс отпирания дверей e) | Однократный импульс отпирания дверей | Однократный импульс отпирания дверей |
| 12 | Дистанционное отключение датчиков 1 и 2 f) | Дистанционное отключение только датчика 1 | Дистанционное отключение датчиков 1 и 2 |
| 13 | При открывании багажника система будет также сниматься с охраны | При открывании багажника система не будет сниматься с охраны | При открывании багажника система не будет также сниматься с охраны |
| 14 | Функция Anti-HiJack включена | Функция Anti-HiJack выключена | Функция Anti-HiJack включена |
| 15 | Срабатывание функции Anti-HiJack от открывания двери включено g) | Срабатывание функции Anti-HiJack от открывания двери выключено | Срабатывание функции Anti-HiJack от открывания двери выключено |
| 16 | Пассивная блокировка двигателя включена | Пассивная блокировка двигателя выключена | Пассивная блокировка двигателя выключена |
Примечание: Функции 8, 10, и 11 должны программироваться ТОЛЬКО квалифицированным мастером-установщиком при установке системы. Случайное изменение состояние этих функций может привести к неправильной работе или повреждению системы.
Примечание: При одновременном выборе функций пассивной постановки на охрану и срабатывания при падении напряжения необходимо обязательно подсоединить провод системы к концевому выключателю двери водителя для начала последовательности пассивной постановки на охрану.
Каждый раз, когда Вы входите в режим программирование той или иной функции (даже если Вы при этом хотите сразу же перейти к следующей функции), СИД начнет мигать сериями вспышек в соответствии с номером функции и Вы услышите один или два сигнала сирены, показывающих состояние этой функции. После сигналов сирены Вы можете либо:
Примечание: Не допускайте, чтобы между Вашими действиями прошло больше 15 секунд, иначе система автоматически выйдет из режима программирования, и Вы услышите один короткий и один длинный сигнал сирены.
Система выйдет из режима программирования, если:
При выходе из режима программирования Вы услышите один короткий и один длинный сигналы сирены.
Пример программирования: Выключите функцию N 5 (отключение зоны предупреждения датчика после 5 срабатываний) и Включите функцию N 6 (автоматическое запирание дверей при включении зажигания)
Выберите место для установки центрального блока управления в салоне (например, за или под приборной панелью) и закрепите его при помощи двух прилагаемых шурупов. Центральный блок управления можно также закрепить при помощи пластиковых перетяжек.
Не устанавливайте центральный блок управления в моторном отсеке, так как он не герметичен. Избегайте устанавливать блок непосредственно на имеющиеся в автомобиле электронные блоки. Они могут быть источником радиопомех, уменьшающих радиус действия передатчика или вызывающих перебои в работе.
Выберите место для установки сирены в моторном отсеке, которое хорошо защищено от доступа из-под днища автомобиля. Не размещайте сирену рядом с сильно нагревающимися узлами или движущимися частями в моторном отсеке. Для предотвращения скопления влаги раструб сирены должен быть направлен вниз.
Установите сирену в выбранном месте при помощи входящих в комплект винтов и кронштейна.
В комплект системы входит концевой выключатель для подсоединения для обеспечения охраны капота автомобиля. Выключатель должен всегда устанавливаться на служащую массой металлическую поверхность автомобиля. Важно выбрать такое место, где исключается скопление или протекание воды, избегайте мест стока влаги на стенках крыльев капота или багажника. Выбирайте места, защищенные резиновыми прокладками, когда капот закрыт.
Концевой выключатель может быть установлен с помощью прилагаемой скобы или в монтажном отверстии на 1/4 дюйма (6 мм.). Помните, что при правильной установке концевой выключатель должен иметь ход как минимум 1/4 дюйма (6 мм) при закрывании капота.
Вы можете также установить дополнительный концевой выключатель для обеспечения охраны багажника или задней двери автомобиля. В этом случае обязательно развяжите обе цепи диодами.
В комплект входит красный светодиодный индикатор (СИД), который показывает состояние охранной системы. Он должен устанавливаться на приборной панели и быть хорошо виден снаружи автомобиля, но не должен отвлекать водителя.
После выбора места установки проверьте возможность прокладки проводов за панелью и убедитесь, что при сверлении отверстия не будут повреждены существующие компоненты.
Просверлите отверстие диаметром 1/4 дюйма (6 мм) и пропустите в него с лицевой стороны панели Красный и Синий провода светодиода. Установите светодиод в просверленное отверстие.
Выберите место установки кнопочного выключателя Valet, которое, с одной стороны, должно быть легко доступно для водителя автомобиля, а с другой стороны, не позволит угонщику быстро найти переключатель Valet и отключить систему.
Выберите твердую поверхность на переборке между салоном и моторным отсеком внутри салона и установите датчик при помощи двух прилагаемых винтов. Датчик также может быть легко установлен при помощи перетяжек под панелью приборов.
При любом методе крепления датчика убедитесь в наличии свободного доступа к датчику для его регулировки.
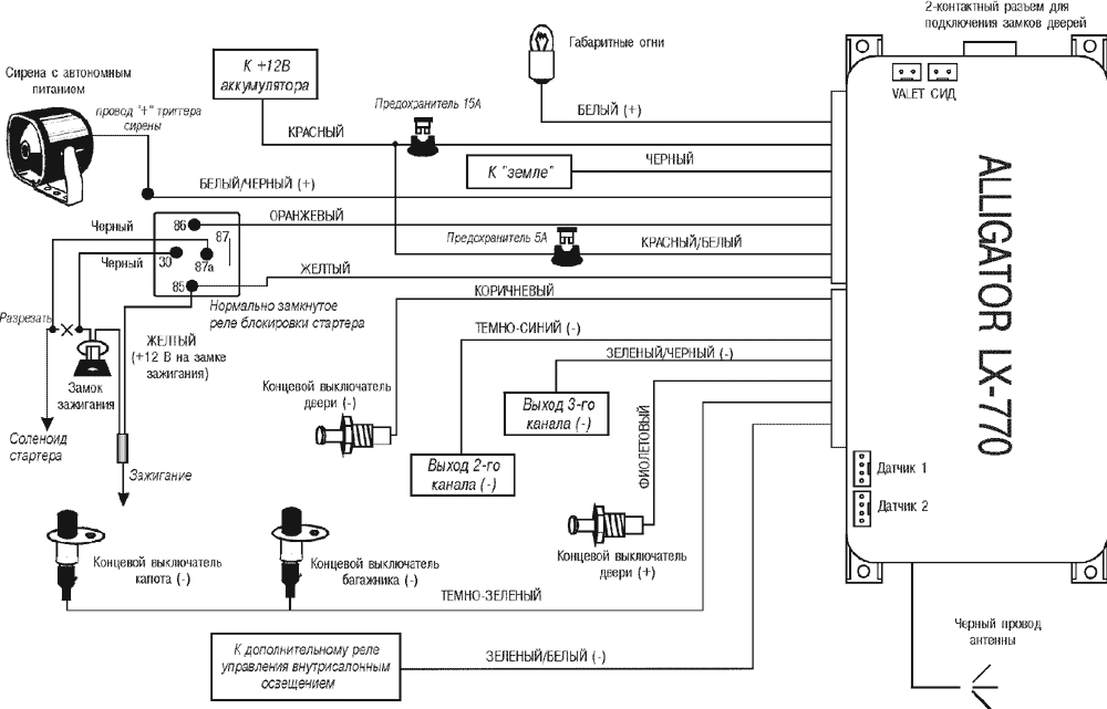
Этот провод обеспечивает мигание габаритных огней при постановке и снятии системы с охраны, а также при срабатывании системы и при включении режимов "Паника" и "Anti-HiJack".
Подсоединение: Если цепь габаритных огней автомобиля положительной полярности, подсоедините Белый провод к одной из цепей габаритных огней. Если цепь габаритных огней отрицательной полярности, необходимо использовать дополнительное реле.
Этот провод обеспечивает питание системы, а также определяет чувствительность функции срабатывания при падении напряжения.
ВНИМАНИЕ: При установке данной системы на автомобили с электронным вентилятором, действующим после выключения двигателя, рекомендуется выключать функцию срабатывания при падении напряжения. Мы также не рекомендуем использовать эту функцию при установке системы на автомобили со старой или неисправной электропроводкой, поскольку это может быть причиной постоянных ложных срабатываний. Только подсоединение системы к концевым выключателям дверей, капота и/или багажника обеспечит надежную охрану автомобиля и минимум неудобств.
При подсоединении системы к концевым выключателям дверей, капота и/или багажника функция срабатывания при падении напряжения должна быть отключена (см раздел "Программируемые функции" выше) для того, чтобы исключить ошибку индикации СИДом зоны срабатывания системы из-за включения лампочки внутрисалонного освещения при открывании двери (что вызовет срабатывание от падения напряжения).
Подсоединение: Если функция срабатывания при падении напряжения не используется, подсоедините КРАСНЫЙ провод к +12В постоянного тока от аккумулятора.
При использовании цепи срабатывания при падении напряжения, чем ближе к аккумулятору подсоединяется КРАСНЫЙ провод, тем ниже будет чувствительность этой цепи. Перемещение точки подсоединения ближе к блоку предохранителей повысит чувствительность, а подсоединение к предохранителю внутрисалонного освещения обеспечит максимальную чувствительность цепи срабатывания при падении напряжения.
Черный провод подает "землю" на основной блок системы.
Подсоединение: Подсоедините ЧЕРНЫЙ провод к отрицательной клемме аккумулятора или к заземленным частям корпуса автомобиля.
ВНИМАНИЕ: Не перепутайте этот провод с тонким Черным проводом антенны, который выходит из центрального блока управления отдельно.
Данный провод предназначен для управления сиреной с автономным питанием, входящей в комплект системы.
Проложите этот провод через резиновую втулку в теплоизоляционной перегородке к месту установки сирены.
Подсоединение: Подсоедините БЕЛЫЙ провод с ЧЕРНОЙ полосой к проводу положительного триггера сирены с автономным питанием. Подсоедините остальные провода сирены как указано в инструкции.
Этот провод служит для управления нормально замкнутым реле блокировки стартера или зажигания, входящим в комплект системы. Ниже описан вариант подсоединения при использовании блокировки стартера.
Подсоединение: ОРАНЖЕВЫЙ провод системы подсоединен готовой проводкой к клемме # 85 реле. ЖЕЛТЫЙ провод системы подсоединен к клемме # 86 реле.
Подсоедините ЖЕЛТЫЙ провод, идущий от клеммы # 86 реле, к проводу от замка зажигания, на который поступает напряжение +12 В, когда ключ зажигания находится в положении ON (ВКЛ.) И CRANK (ЗАПУСК), и напряжение 0В, когда ключ зажигания находится в положениях "OFF" (ВЫКЛ.) и "ACC".
Перережьте провод, идущий от замка зажигания, к соленоиду стартера автомобиля. Подсоедините ту часть перерезанного провода, которая идет от замка зажигания, к Черному проводу, идущему от клеммы # 30 реле. Подсоедините другую часть перерезанного провода к Черному проводу, идущему от клеммы # 87a реле.
Примечание: Обратите внимание на то, что питание на реле блокировки будет подаваться только в момент попытки завести двигатель, таким образом реле блокировки будет потреблять энергию аккумулятора только в момент попытки запуска в то время, когда система находится в режиме охраны.
Этот провод подает питание на основной блок системы. Он подсоединен через предохранитель к КРАСНОМУ проводу системы.
Данный провод информирует систему о наличии/отсутствии питания на замке зажигания. Таким образом система определяет, находитесь ли Вы внутри или вне автомобиля
Подсоединение: ЖЕЛТЫЙ провод системы подсоединен готовой проводкой к ЖЕЛТОМУ проводу, идущему от клеммы # 86 реле блокировки стартера. Этот провод должен быть подсоединен к проводу от замка зажигания, на котором имеется напряжение + 12В, когда ключ зажигания находится в положениях ON (ВКЛ.) И CRANK (ЗАПУСК), и напряжение 0В, когда ключ зажигания находится в положениях "OFF" (ВЫКЛ.) и "ACC".
Данный провод обеспечивает срабатывание системы при открывании двери автомобиля. Подсоединение триггера двери также необходимо для обеспечения работы функции пассивной постановки на охрану.
Подсоединение: Если штатный концевой выключатель двери замыкается на массу при открывании дверей (это типично для большинстве автомобилей), Вы должны подсоединить КОРИЧНЕВЫЙ провод к одному из штатных концевых выключателей. В большинстве случаев КОРИЧНЕВЫЙ провод достаточно подсоединить только к одному концевому выключателю независимо от количества дверей в автомобиле.
Внимание! Не используйте КОРИЧНЕВЫЙ провод, если полярность концевых выключателей дверей в автомобиле +12В (см. ФИОЛЕТОВЫЙ провод ниже).
ВНИМАНИЕ: Если по какой-либо причине Вы используете одновременно концевые выключатели и отрицательной, и положительной полярности, то после подключения питания к основному блоку системы обязательно сразу же включите зажигание на несколько секунд и затем выключите.
ТЕМНО-СИНИЙ провод замыкается на массу на 0.8 сек. при нажатии и удерживании в течение 4 секунд Кнопки 2 передатчика. Если этот выход активизирован в то время, когда система находится в режиме охраны, то система одновременно на несколько секунд отключит датчик удара и триггер капота/багажника для того, чтобы открывания багажника нe вызвало срабатывание системы. После того, как багажник будет закрыт система опять автоматически возьмет эту цепь под охрану.
Выход канала 2 будет также работать при включенном зажигании, но только если в этот момент открыта одна из дверей автомобиля. Это предотвратит случайное открывание багажника при движении автомобиля.)
Это транзисторный слаботочный выход (300 мА) и должен использоваться только для управления катушкой дополнительного реле.
Внимание! Подсоединение ТЕМНО-СИНЕГО провода непосредственно к сильноточным цепям замка багажника или к некоторым устройствам дистанционного запуска двигателя приведет к повреждению основного блока системы.
Подсоединение: Подсоедините ТЕМНО-СИНИЙ провод к клемме # 85 дополнительного 30 А реле и подсоедините остальные контакты реле в соответствии с выбранной функцией Канала 2. (см. схему)

ЗЕЛЕНЫЙ/ЧЕРНЫЙ провод замыкается на массу на 0.8 сек. при нажатии и удерживании в течение 4 секунд Кнопки 1 и Кнопки 2 передатчика одновременно.
Это транзисторный слаботочный выход (300 мА) и должен использоваться только для управления катушкой дополнительного реле.
Внимание! Подсоединение ЗЕЛЕНОГО/ЧЕРНОГО провода непосредственно к сильноточным цепям замка багажника или к некоторым устройствам дистанционного запуска двигателя приведет к повреждению основного блока системы.
Подсоединение: Подсоедините ЗЕЛЕНЫЙ/ЧЕРНЫЙ провод к клемме # 86 дополнительного 30 А реле и подсоедините остальные контакты реле в соответствии с выбранной функцией Канала 3.
Данный провод обеспечивает срабатывание системы при открывании двери автомобиля. Подсоединение триггера двери также необходимо для обеспечения работы функции пассивной постановки на охрану.
Подсоединение: Если выключатель внутрисалонного освещения имеет на выходе +12В при открывании двери (большинство автомобилей Ford), Вы должны подсоединить Фиолетовый провод к одному из штатных концевых выключателей. В большинстве случаев Фиолетовый провод достаточно подсоединить только к одному концевому выключателю независимо от количества дверей в автомобиле.
Внимание! Не используйте ФИОЛЕТОВЫЙ провод, если концевые выключатели дверей отрицательной полярности (См. КОРИЧНЕВЫЙ провод выше).
Когда система находится в режиме охраны, при замыкании ТЕМНО-ЗЕЛЕНОГО провода на массу произойдет немедленное срабатывание системы.
Подсоединение: Подсоедините ТЕМНО-ЗЕЛЕНЫЙ провод к предварительно установленным концевым выключателям капота и/или багажника отрицательной полярности.
ЗЕЛЕНЫЙ/БЕЛЫЙ провод обеспечивает включение внутрисалонного освещения на 30 секунд после снятия системы с охраны и мигание внутрисалонного освещения при срабатывании системы, включении режимов "Паника" и Anti-HiJack.
Это транзисторный слаботочный выход (300 мА) и должен использоваться только для управления катушкой дополнительного реле.
Подсоединение: Подсоедините ЗЕЛЕНЫЙ/БЕЛЫЙ провод к клемме # 86 дополнительного 30 А реле и подсоедините остальные контакты реле в соответствии с полярностью цепи внутрисалонного освещения.
ВНИМАНИЕ: Обязательно используйте диод для изолирования цепи управления внутрисалонным освещением от цепи триггера двери. В противном случае не сможет правильно работать функция автоматической повторной постановки системы в режим охраны.


Эти провода подают отрицательный импульс запирания (КРАСНЫЙ провод) и отрицательный импульс отпирания (ЗЕЛЕНЫЙ провод) на штатный интерфейс управления замками дверей или на дополнительные реле. Максимальный ток - 300 мА.
В автомобилях с такими цепями КРАСНЫЙ провод обеспечивает отрицательный импульс при постановке на охрану или отрицательный импульсный выход запирания. Подсоедините КРАСНЫЙ провод к проводу от штатного выключателя запирания двери на штатное реле управления замками дверей.
ЗЕЛЕНЫЙ провод обеспечивает отрицательный импульс при снятии с охраны или отрицательный импульсный выход отпирания. Подсоедините ЗЕЛЕНЫЙ провод к проводу от штатного выключателя отпирания двери на штатное реле управления замками дверей.
В автомобилях с такими цепями необходимо использовать дополнительный интерфейс центрального замка (или дополнительные 30А реле).
Для подключения системы к дополнительно установленным электроприводам необходимо использовать дополнительные реле 30А (2 шт.) и колодку DLS.
Тонкий СИНИЙ провод (из 3-х контактного разъема DLS) подсоедините к ЗЕЛЕНОМУ проводу системы.
Тонкий ЗЕЛЕНЫЙ провод (из 3-х контактного разъема DLS) подсоедините к КРАСНОМУ проводу системы.
Тонкий КРАСНЫЙ провод (из 3-х контактного разъема DLS) подсоедините к +12В.
Толстый ФИОЛЕТОВЫЙ провод колодки DLS подсоедините к +12В.
Толстые БЕЛЫЙ и КОРИЧНЕВЫЙ провода колодки DLS подсоедините к "земле".
Толстый СИНИЙ провод колодки DLS подсоедините к СИНЕМУ проводу электропривода MS-2.
Толстый ЗЕЛЕНЫЙ провод колодки DLS подсоедините к ЗЕЛЕНОМУ проводу электропривода MS-2.
Вставьте 2 дополнительных 30A реле в колодку DLS.
Проложите Красный, Черный, Зеленый и Синий провода, оканчивающиеся 4-контактным белым разъемом, от датчика удара; входящего в комплект системы, к основному блоку системы и подсоедините его с одной стороны к датчику удара, а с другой - к белому разъему блока рядом с 8-контактным/6-проводным разъемом.
Проложите Красный, Черный, Зеленый и Синий провода, оканчивающиеся 4-контактным белым разъемом, от дополнительного датчика к основному блоку системы и подсоедините его с одной стороны к датчику, а с другой - к белому разъему у края основного блока системы.
Проложите Серый и Черный провода, оканчивающиеся 2-контактным синим разъемом, от кнопочного выключателя VALET к основному блоку системы и подсоедините его к синему разъему блока.
Проложите Красный и Синий провода, оканчивающиеся 2-контактным белым разъемом, от СИДа к основному блоку системы и подсоедините его к белому разъему блока.
АНТЕННА: Вытяните тонкий Черный провод во всю длину, закрепите в том месте, где он не может быть поврежден. Избегайте укладки этого провода вокруг главных сильноточных жгутов проводки.
РЕГУЛИРОВКА ДАТЧИКА УДАРА: Осторожно поверните регулировочный винт против часовой стрелки до упора при помощи маленькой отвертки (НЕ проворачивайте винт вокруг оси. Максимальный угол регулировки 270°). Закройте капот, багажник и поставьте систему на охрану. Подождите 6 секунд пока работа всех охранных устройств стабилизируется, затем сильно ударьте по заднему бамперу кулаком с такой силой, которая была бы достаточной для того, чтобы разбить стекло.
Внимание! Не стучите по стеклу, Вы можете его разбить.
Если система на сработала, поверните регулировочный винт по часовой стрелке (для увеличения чувствительности) примерно на 1/4 оборота и проверьте чувствительность датчика еще раз. Повторяйте эту процедуру до тех пор, пока не сработает сигнализация. Охрана должна срабатывать при сильном ударе по заднему бамперу автомобиля. При более слабом ударе должен срабатывать режим предупреждения и система подаст 5 коротких сигналов сирены.
Внимание! При высокой чувствительности охрана будет срабатывать при вибрациях от проходящих рядом тяжелых автомобилей. Для уменьшения чувствительности поверните регулировочный винт против часовой стрелки
ЗАЩИТА ПРОВОДКИ: Всегда защищайте провода спиральными трубками или обматывайте их изолентой. Закрепите жгуты проводов по всей длине при помощи пластиковых перетяжек. Это обеспечит отсутствие повреждений проводов при их соприкосновении с горячими или острыми подвижными частями автомобиля.
РАБОТА СИСТЕМЫ: Уделите некоторое время просмотру соответствующих пунктов в Руководстве пользователя и детально объясните работу системы Вашему клиенту.
Передатчики, входящие в комплект системы (модель ALLIGATOR LX-440T), программируются на заводе-изготовителе следующим образом:
| КНОПКА | КАНАЛ | ФУНКЦИЯ |
|---|---|---|
| Кнопка # 1 | 1 | Дистанционная постановка/снятие с охраны Дистанционное включение режима "Паника" Запирание/отпирание дверей в режиме Valet |
| Кнопка # 2 | 2 | Выход Канала 2 (управление дополнительными устройствами) |
| Кнопка # 1 + Кнопка # 2 | 3 | Выход Канала 3 (управление дополнительными устройствами)Включение режима Anti-HiJack (если включена функция N 9) |
Обратите внимание, что при программировании нового передатчика в память системы все ранее запрограммированные коды передатчиков стираются, поэтому при программировании дополнительных передатчиков имеющиеся передатчики также должны быть заново запрограммированы.
ВНИМАНИЕ: Так как в передатчиках используется постоянно меняющийся (динамический) код, в определенных, достаточно редких ситуациях (например, при нажатии кнопок брелка более 30 раз вдали от автомобиля) может произойти рассинхронизация брелков и системы. В этом случае - подойдите к автомобилю и быстро нажмите кнопку передатчика дважды. Синхронизация будет восстановлена и брелок вновь сможет управлять системой.
Внимание: Помните, что каждая операция должна быть выполнена в течение 15 секунд после предыдущей операции. Если 15-секундный интервал превышен, система автоматически выйдет из режима программирования, что будет подтверждено одним коротким и длинным сигналом сирены.
Если в процессе программирования было выключено зажигание система также немедленно выйдет из режима программирования и Вы услышите один короткий и один длинный сигнал сирены.
Вы услышите один короткий и один длинный сигнал сирены, подтверждающий выход из режима программирования передатчиков, а СИД системы погаснет.
