Congratulations on having selected wired CS-2420 car alarm system!
CS-2420 is easy to install and easy to operate.
CS-2420 has a vibration detection circuit to detect intruders, an electric current detection circuit to detect door opening and a negative/positive trigger to detect door/hood opening or for other special application. Besides, it has the engine/start motor latch function. It comes with a remote control unit for arming/disarming the alarm system. For your convenience, it also has the function of car finder. The Main Unit is an all-in-one design which has the whole circuit built inside the 6-tone big siren. Operated by a Remote Control Unit, it's simple and easy to use.
These 2 options should be specified to the factory when an order is placed. They are not field upgradable.
Upon unpacking you will find the following items:

This section describes the placement, mounting and electrical connections required to install your alarm system. You need the following tools to complete the installation:
Drill with assorted bits
Screwdrivers
There are 4 connectors (Named A',B',C',D') coming out from the Main Unit. Also there are 4 Wire Harnesses: À, Â, Ñ and D. The four Wire Harnesses and the four connectors are matched one to one correspondingly and it's impossible to insert the Wire Harnesses into its corresponding connector in the wrong way because of the fail proof design. Be sure not to insert the four Harnesses into the four connec-\ while you are working with the separate wire connections.
(1) Wire harness A
A1 (Red):
Connect A1 via a fuse to the positive terminal of car's battery.

A2 (Black):
Connect A2 to the car's body for grounding.

A3 (Grey):
Connect A3 to the positive terminal of the parking light.

(2) Wire Harness Â
B1 (Blue):
If the fan will not automatically operate after engine is OFF, or if the current sensing is disabled, then leave this line alone.
B2 (Yellow):
The external relay is to be installed as near as possible to the engine's start motor.
As a starter killer

Alternatively, you also can connect B2 to the car's ignition as follow.
As an engine killer

Remark:
It is not recommended to install the system as an engine killer.
B3 (Orange):
This line is the positive trigger. You can connect it to the positive door frame switch for the door which is a positive trigger type.

B4 (Green):
This line is the negative trigger. You can connect it to the negative door frame switch and/or trunk pin switch in parallel:

Notes:
You can use a voltmeter to determine the correct trigger type of your car door frame switch. Please proceed as follows:
(3) Wire Harness Ñ

C1 and C2 wires offer momentary negative (-) pulsing outputs (500 mA capacity).
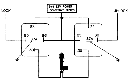
If the Car's central door locking system requires positive (+), pulse or reverse polarity, then please refer to diagrams below.




(4) Wire Harness D

(5) Wiring Specification

As soon all the system components have been installed, you can start testing the system step by step as described in this chapter.
You can arm or disarm the system by pressing button # 1 on the Remote Control Unit. Pressing this key will switch between ON and OFF alternately.
Before you arm the system, you have to close all the car doors, the hood/trunk and turn off the engine. When you press button # 1 the first time you will hear a short bark (lasting 0.2 second) from the siren and the LED will flash continuously, then the system enters into the armed mode right away. Now the system will guard your car against the intruders.
Note:If you install the external relay as engine killer, be careful not to arm the system while you are driving.
When you press button # 1 again, you will hear a long bark (lasting 1 second). The flashing LED will become off and the system will enter the disarmed mode immediately.
When the system is sounding the siren, you can press button to stop the siren and disarm the system.
Press the button # 2 once and you will hear siren sound accompanied by light flashing for about 3 seconds so you can easier. If you firmly press the key without releasing it, then you will hear a continuous sound.
Note:
Button # 2 works no matter in the armed mode or in the disarmed mode and it will not alter the current state.
You must set the dome light switch to "DOOR" position so that if any door is opened then the dome light will be lit on immediately and a sudden voltage drop on the main power system will thus be detected by the "Voltage Detector" of the system immediately.
If the car body or the glass is bumped or hit, it can be detected by "Vibration Detection" Sensor and the system will sound the siren for 30 seconds and then stop, but the system will still remain in the armed mode.
When the door is opened, the dome light will be lit on if the dome light switch is set to "DOOR" position. When the trunk is opened, the trunk light (if any) will be lit on. In either situation, it will cause a, voltage drop on the car's battery and will be detected by the "Voltage Detection" Sensor and the system will sound the siren ear-piercingly for 30 seconds.

Normally this refers to the door or pin switch trigger. When the door is opened, then it triggers the alarm immediately.
When the alarm is triggered, the system will sound the siren accompanied by the light flashing for about 30 seconds and then stop, but the system will still keep on guarding your car.
It blinks on while the system is in the armed mode and becomes off while the system is in the disarmed mode.
The DIP Switch # 1 - # 6 is adjustable and the default setting is all ON. You can set any configuration except the one with all offs.
Whenever the power line is cut, the siren will sound off until the 9V battery is exhausted. The battery should be changed whenever it is exhausted. For a new 9V battery, it can sound for about 4 minutes. The 9V battery should be installed before use. Please take off the removable plate, put in the battery and cap it with the 2 power leads (fail proof design), then put on the plate and fasten it with the screw supplied.
